Question 1
(a) Enzymes are involved in all metabolic reactions.
The box on the left contains the word ‘Enzymes’.
The boxes on the right contain some sentence endings.
Draw lines to make three correct sentences about enzymes.

(b) State the name of the substrate that protease enzymes act on and the name of the products formed.
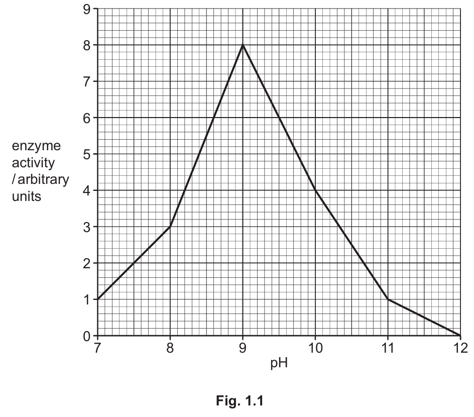
(c) Fig. 1.1 shows the activity of a protease enzyme at different $\text{pH}$ values.

Describe the activity of the enzyme shown in Fig. 1.1.
(d) (i) Circle the name of an organ that secretes protease.
gall bladder pancreas rectum salivary gland
(ii) Circle the name of an organ where protease acts.
large intestine mouth oesophagus small intestine
The stomach contains hydrochloric acid.
Describe two functions of hydrochloric acid in the stomach.
Describe the function of the stomach in physical digestion.
Most-appropriate topic codes (Cambridge IGCSE Biology 0610):
• TOPIC 7.4: Chemical digestion — parts (b), (d), (e)
• TOPIC 7.3: Physical digestion — part (f)
▶️ Answer/Explanation
(a)
The three correct sentences are connected as follows:
1. Enzymes are biological catalysts.
2. Enzymes are found in plant cells. (Enzymes are involved in all metabolic reactions in all living organisms).
3. Enzymes increase the rate of reactions.
(b)
Substrate: protein
Products: amino acids
Proteases are the enzymes responsible for breaking down proteins into amino acids.
(c)
The description of enzyme activity from the graph:
• As the $\text{pH}$ increases from 7 to 9, the enzyme activity increases.
• The enzyme reaches its optimum activity (maximum rate) at $\text{pH}$ 9.
• As the $\text{pH}$ increases further from 9 to 12, the activity decreases rapidly to zero.
(d) (i)
pancreas
The pancreas secretes protease (trypsin) into the digestive system.
(d) (ii)
small intestine
Proteases secreted by the pancreas act in the small intestine.
(e)
Two functions of hydrochloric acid in the stomach are:
1. To kill harmful microorganisms (bacteria) found in food.
2. To provide an acidic $\text{pH}$ (optimum conditions) for protease enzymes (pepsin) to work effectively.
(f)
In physical digestion, the stomach churns food through the contraction of its muscular walls. This action mixes the food and breaks it down into smaller pieces to increase the surface area for enzyme action.
Question 2



Most-appropriate topic codes (Syllabus):
• TOPIC 11.1: Gas exchange in humans — part (b)(i)
• TOPIC 13.1: Excretion in humans — parts (b)(ii), (c)
▶️ Answer/Explanation
(a) (i) Names of Structures:
A: Cell membrane
B: Cytoplasm
(a) (ii) Functions:
C (Nucleus): Controls the activities of the cell / Contains genetic material (DNA).
D (Mitochondrion): The site of aerobic respiration (releases energy).
(b) (i) Gas Exchange Surface:
Alveoli / Alveolus
(b) (ii) Excreted Gas:
Carbon dioxide (\(CO_2\))
(c) (i) Order of Excretion:
The correct order is: B → C → D → A → E
(Blood → Kidney → Ureter → Bladder → Urethra)
![]()
(c) (ii) Other Excreted Substances:
1. Excess water
2. Excess salts / ions
Cell Structure (Topic 2.1): The image displays a ciliated cell (note the hair-like cilia on top, often found in the trachea). Structure A is the cell membrane which encloses the cell contents. Structure B is the cytoplasm, the jelly-like substance where metabolic reactions occur. C is the nucleus, essential for controlling cell functions, and D represents mitochondria, the powerhouse where aerobic respiration generates energy (ATP).
Gas Exchange (Topic 11.1): The actual exchange of gases in the lungs happens in the tiny air sacs called alveoli, which provide a large surface area. Carbon dioxide is a waste product of respiration that diffuses from the blood into the lungs to be exhaled.
Excretion (Topic 13.1): Urea is transported by the Blood (B) to the Kidneys (C). The kidneys filter the blood, and the urine (containing urea, excess water, and salts) travels down the Ureter (D) to the Bladder (A) for storage, before being expelled via the Urethra (E).
Question 3
Transpiration is the loss of water vapour from leaves.
Water evaporates from the surfaces of the ……………….. cells into the ……………. spaces.
Water vapour moves out of the leaves through the …………………. by the process of ………………….. .

The results are shown in Table 3.1

(i) Using the data in Table 3.1, calculate the rate of transpiration at (25^\circ\text{C}).
(ii) The list shows six conclusions. Tick ((\checkmark)) three conclusions for the data shown in Table 3.1.

Most-appropriate topic codes (Cambridge IGCSE):
▶️ Answer/Explanation
(a)
Water evaporates from the surfaces of the mesophyll cells into the air spaces.
Water vapour moves out of the leaves through the stomata by the process of diffusion.
Explanation: The syllabus states that water evaporates from the surfaces of mesophyll cells into air spaces and then diffuses out of the leaves through stomata as water vapour. This process is driven by the random movement of molecules.
(b)(i)
(15) (mm per minute)
Explanation: The rate is calculated by dividing the distance moved by the time taken. At (25^\circ\text{C}), the distance is (45) mm over (3) minutes.
(b)(ii)
The correct conclusions are:
- As temperature increases, the rate of transpiration increases and then remains constant.
(The rate increases from (6) to (23) mm/min as temperature goes from (20^\circ\text{C}) to (40^\circ\text{C}), then stays at (23) mm/min at (45^\circ\text{C}).) - From (20^\circ\text{C}) to (30^\circ\text{C}), the rate of transpiration triples.
(At (20^\circ\text{C}) rate is (6). At (30^\circ\text{C}) rate is (18). (6 \times 3 = 18).) - From (20^\circ\text{C}) to (45^\circ\text{C}), the rate of transpiration increases by (17) mm per minute.
(Rate at (45^\circ\text{C}) is (23). Rate at (20^\circ\text{C}) is (6). Difference: (23 – 6 = 17).)
Question 4


Most-appropriate topic codes (CED):
• TOPIC 17.1: Chromosomes, genes and proteins — parts (b)(iii), (b)(iv)
▶️ Answer/Explanation
(a)
Fertilisation is the fusion of the nuclei of two gametes (the male sperm and the female egg/ovum). This process combines the haploid genetic material from each parent to form a diploid zygote.
(b)(i)

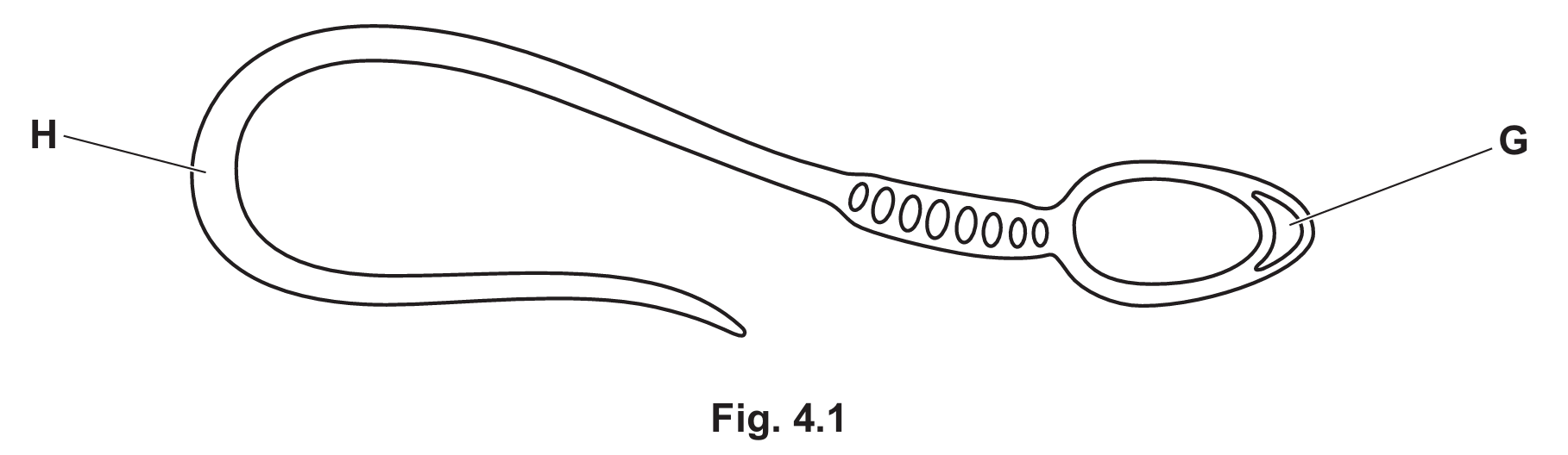
Explanation: Structure G is the specialized vesicle at the tip of the sperm called the acrosome, which is crucial for digesting the protective layers of the ovum. Structure H is the tail which uses energy to whip back and forth, propelling the sperm cell.
(b)(ii)
The organ that produces sperm is the testis (plural: testes).
(b)(iii)
The sex chromosomes in a male human are \(XY\).
(b)(iv)
The probability is \(0.5\) (or \(50\%\), or \(1\) in \(2\)).
Explanation: Males produce two types of sperm in equal numbers: those carrying an \(X\) chromosome and those carrying a \(Y\) chromosome. Females only produce eggs carrying an \(X\) chromosome. Therefore, there is always a \(50:50\) chance of an \(XX\) (girl) or \(XY\) (boy) zygote forming.
Question 5

(ii) Using the information in Fig. 5.1, calculate the percentage increase in rice production from $1960$ to $1990$.
Give your answer to the nearest whole number.
Space for working.

(i) Describe the advantages of intensive farming of livestock.
State two effects of untreated sewage on aquatic ecosystems.
Most-appropriate topic codes (CED):
• TOPIC 20.3: Pollution — part (c)(ii)
▶️ Answer/Explanation
(a)(i)
Answer: $1980$ to $1985$
Explanation: To find the greatest increase, observe the vertical difference between adjacent bars on the chart. The step up from $1980$ to $1985$ is the largest visually, representing the most significant rise in production over a five-year period.
(a)(ii)
Answer: $133$ ($\%$)
Explanation:
1. Identify the production values from the graph:
– Production in $1960$: $150$ million tonnes.
– Production in $1990$: $350$ million tonnes.
2. Calculate the increase in production: $$350 – 150 = 200 \text{ million tonnes}$$
3. Calculate the percentage increase relative to the $1960$ value: $$\frac{200}{150} \times 100 = 133.33…\%$$
4. Round to the nearest whole number: $133\%$.
(b)
Answer: (Any three)
• Agricultural machinery (to improve efficiency/cover larger areas)
• Chemical fertilisers (to improve yields)
• Insecticides (to reduce pest damage)
• Herbicides (to reduce competition with weeds)
• Selective breeding (to improve crop features)
• Genetic modification (to confer resistance or improve quality)
Explanation: The syllabus lists these specific methods under Section 20.1 regarding how humans have increased food production.
(c)(i)
Answer:
• Improved efficiency of energy use (less energy lost to movement or maintaining body temperature)
• Higher yields / faster growth rates
• Easier to monitor and treat diseases
• Lower cost of production / cheaper food for consumers
Explanation: Intensive livestock production often involves keeping animals in controlled environments (indoor pens/batteries) with restricted movement. This maximizes the conversion of feed into biomass (meat/products) rather than energy being used for respiration to support movement or thermoregulation.
(c)(ii)
Answer:
• Eutrophication / increased availability of nitrates
• Reduction in dissolved oxygen (hypoxia)
• Death of aquatic organisms (e.g., fish kills)
• Increased growth of decomposers / bacteria
Explanation: Untreated sewage is rich in organic matter and nutrients. When it enters aquatic ecosystems, it promotes the rapid growth of bacteria (decomposers) which respire aerobically, depleting the water of oxygen (Section 20.3).
Question 6
(b) Fig. 6.1 shows the nutritional information for $100\text{ g}$ of a type of yoghurt.

The person ate $200\text{ g}$ of yoghurt.
Using the information in Fig. 6.1, calculate the mass of protein the person needs to eat, in addition to the yoghurt, to reach $45\text{ g}$ of protein.
(iii) Yoghurt does not contain fibre. State one principal dietary source of fibre.
Most-appropriate topic codes (Cambridge IGCSE Biology 0610):
• TOPIC 21.1: Biotechnology and genetic modification — part (a)(ii)
• TOPIC 7.1: Diet — part (b)
• TOPIC 12.3: Anaerobic respiration — part (c)(i)
• TOPIC 21.2: Biotechnology — parts (c)(ii), (iii)
▶️ Answer/Explanation
6(a)(i) Genus: Lactobacillus
Explanation: In binomial nomenclature, the first name is the Genus (capitalized) and the second is the species.
6(a)(ii) Usefulness: Rapid reproduction rate; ability to make complex molecules (e.g., enzymes/acids).
Explanation: Bacteria are ideal for biotechnology because they grow extremely fast under the right conditions and have simple genetic structures that allow them to produce specific chemicals, like lactic acid, which thickens milk into yoghurt.
6(b)(i) Calculation:
Mass of protein in $200\text{ g}$ of yoghurt: $7\text{ g}$ ($3.5\text{ g} \times 2$)
Mass of additional protein needed: $38\text{ g}$ ($45\text{ g} – 7\text{ g}$)
Explanation: Since the table provides data for $100\text{ g}$, we double the protein for $200\text{ g}$. Subtracting what was already eaten from the goal of $45\text{ g}$ gives the remaining requirement.
6(b)(ii) Importance of fats: Source/store of energy; insulation; protection of vital organs.
Explanation: Fats provide a concentrated energy source ($37\text{ kJ/g}$). They also form a layer of adipose tissue that keeps us warm and cushions internal organs from physical damage.
6(b)(iii) Source of fibre: Whole grain products, fruit, vegetables, beans, or nuts.
Explanation: Fibre (cellulose) comes from plant cell walls, which is why it is found in plant-based foods rather than animal products like yoghurt.
6(c)(i) Equation: $\text{glucose} \rightarrow \text{alcohol (ethanol)} + \text{carbon dioxide}$
Explanation: In the absence of oxygen, yeast breaks down sugar into ethanol and $CO_2$. This is also known as fermentation.
6(c)(ii) Role in bread: Carbon dioxide gas is produced which gets trapped in the dough, making it rise.
Explanation: The $CO_2$ bubbles expand during baking, creating the light, airy texture of bread. The alcohol produced usually evaporates during the baking process.
6(c)(iii) Other use: Production of biofuel (ethanol).
Explanation: Yeast is used on an industrial scale to ferment plant sugars into ethanol, which is used as a renewable alternative to fossil fuels.
Question 7


Most-appropriate topic codes (Cambridge IGCSE Biology 0610):
• TOPIC 2.1: Cell structure — part (b)
• TOPIC 8.2: Water uptake — part (b)
▶️ Answer/Explanation
(a)(i) The shoot should be drawn bending upwards (away from gravity); the root should be drawn bending downwards (towards gravity).
(a)(ii) Gravitropism (or Geotropism).
(b) Function: Absorption of water and mineral ions.
(b) Adaptation: Large surface area due to elongated “hair” shape; allows for increased rates of diffusion, osmosis, or active transport.
Understanding Gravitropism
Even in a light-proof box where phototropism (response to light) cannot occur, plants still respond to gravity. This is regulated by the hormone auxin.
- In the Shoot: When placed horizontally, auxin accumulates on the lower side of the stem. In shoots, high concentrations of auxin stimulate cell elongation. This causes the bottom of the stem to grow faster than the top, curving the shoot upwards (negative gravitropism).
- In the Root: Auxin also accumulates on the lower side of the root. However, in roots, high concentrations of auxin inhibit cell elongation. The upper side grows faster than the lower side, curving the root downwards (positive gravitropism).
Root Hair Cell Specialization
Root hair cells are modified epidermal cells found near the tips of growing roots.
- Surface Area: The long, thin projection significantly increases the surface area to volume ratio. This maximizes the contact points with soil water and minerals.
- Water Potential: They maintain a lower water potential than the soil, encouraging water to enter via osmosis.
- Mitochondria: These cells are often packed with mitochondria to provide energy ($ATP$) for the active transport of mineral ions against a concentration gradient.
Question 8

- The genotype of a male was ee.
- The genotype of a female was Ee.
(i) Table 8.1 shows some terms used to describe these genotypes. Place ticks (\(\checkmark\)) in the boxes in Table 8.1 to show the correct descriptions for these genotypes.

(ii) A male with the genotype ee had a child with a female with the genotype Ee. Complete the Punnett square to show the:
- gametes of the male and the female
- possible genotypes of the offspring from this cross
- ratio of long eyelashes to short eyelashes in the offspring from this cross.
| male | |||
| ……………….. | ……………….. | ||
| female | ……………….. | ……………….. | ……………….. |
| ……………….. | ……………….. | ……………….. | |
Most-appropriate topic codes (Cambridge IGCSE Biology 0610):
• TOPIC 17.1: Chromosomes, genes and proteins — part (b)(i)
• TOPIC 18.1: Variation — part (b)(ii)
• TOPIC 17.4: Monohybrid inheritance — part (c)
▶️ Answer/Explanation
(a)(i)
pupil
Explanation: Structure S indicates the dark circular opening in the center of the iris, which is the pupil.
(a)(ii)
controls how much light enters the pupil / eye
Explanation: Structure T is the iris. Its primary function is to regulate the size of the pupil (via the pupil reflex) to control the intensity of light reaching the retina.
(b)(i)
length of DNA; that codes for a protein
Explanation: A gene is defined as a specific segment or length of a DNA molecule that contains the instructions (genetic code) to synthesize a specific protein.
(b)(ii)
two categories / two phenotypes / no intermediates / controlled by one gene
Explanation: Discontinuous variation refers to characteristics that fall into distinct categories with no gradation in between (you have it or you don’t). Eyelash length is described here as having only two options (short or long), which is characteristic of discontinuous variation controlled by a single gene (monogenic inheritance).
(c)(i)
The correct ticks are:
• ee: Tick in homozygous recessive.
• Ee: Tick in heterozygous.
Explanation:
– Homozygous means having two identical alleles (e.g., ee). Since ‘e’ is recessive, ee is homozygous recessive.
– Heterozygous means having two different alleles (e.g., Ee).
(c)(ii)
Punnett Square Completion:
| Male (ee) | ||
| Female (Ee) | e | e |
| E | Ee | Ee |
| e | ee | ee |
Ratio: 1:1 (or 1 long : 1 short)
Explanation:
The male produces only gametes containing the e allele. The female produces gametes with E (50%) and e (50%).
The resulting offspring genotypes are:
– Ee (Long eyelashes): 2 out of 4 (50%)
– ee (Short eyelashes): 2 out of 4 (50%)
Therefore, the phenotypic ratio is 1:1.
