IGCSE Physics Mock – Set 1 Paper 4-Updated 2026
IGCSE Physics Mock – Set 1 Paper 4- Updated 2026
Preparing for your CIE IGCSE Physics exam can be daunting, but with the right approach, you can achieve your goals with CIE iGCSE Physics Mock test.
Ace your CIE iGCSE Physics exam! Find exam-style questions, detailed notes, and helpful resources to boost your understanding.
iGCSE Practice Questions, Past Papers, Flashcards and notes available for iGCSE Students at IITian Academy.
Question
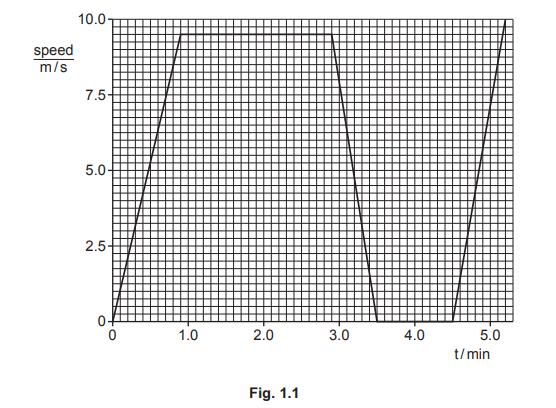
(a) Fig. 1.1. is a speed–time graph for the first 5 minutes of a bus journey.

Describe the motion between:
1. t = 0.90min and t = 2.9min ……………………………………………………………
2. t = 2.9min and t = 3.5min ……………………………………………………………
3. t = 3.5min and t = 4.5min ……………………………………………………………
(b) Another bus travels at a speed of 8.9m/ s. The brakes apply a constant force and the bus stops in a distance of 23m. This bus has a mass of 18000kg.
(i) Calculate the kinetic energy of the bus before the brakes are applied.
kinetic energy = …………………………………………………
(ii) Calculate the force applied to stop the bus.
▶️Answer/Explanation
Ans
(a) constant speed
constant / uniform deceleration
stationary
(b)(i) \(7.1 \times 10^5\) J OR 710 000 J OR 710 kJ
\(EK= \frac{1}{2}mv^2\) OR \((EK= ) \frac{1}{2}mv^2\) OR \(\frac{1}{2} \times 18 000 \times (8.9)^2\)
(ii) 31 000 N OR 31 kN
W = Fd OR (F =) W / d OR 710 000 / 23
F = 710 000 / 23
