Question 1
The student has a balance, a measuring cylinder containing water, and a ruler available.

Most-appropriate topic codes (Cambridge IGCSE Physics 0625):
▶️ Answer/Explanation
Detailed solution:
To find the volume of an irregularly shaped object, the displacement method is used. A ruler cannot be used because the object lacks regular dimensions to calculate volume via a formula. A balance measures mass, not volume. By immersing the rock in a measuring cylinder containing a known volume of water $V_{1}$, the water level rises to $V_{2}$. The volume of the rock is then calculated as $V_{rock} = V_{2} – V_{1}$. Therefore, only the measuring cylinder is required to determine the volume.
Question 2
Most-appropriate topic codes (Cambridge IGCSE Physics 0625):
▶️ Answer/Explanation
Detailed solution:
The time interval is calculated by subtracting the initial reading from the final reading.
Convert both readings into seconds: the start time is $50$ s, and the stop time is $(2 \times 60) + 10 = 130$ s.
The elapsed time is $130\text{ s} – 50\text{ s} = 80\text{ s}$.
To convert $80$ seconds back into minutes and seconds, divide by $60$: $80\text{ s} = 1$ minute and $20$ seconds.
This represents the simplest linear progression of time shown on the digital display.
Therefore, the shortest possible time passed is $1$ minute $20$ seconds, matching option B.
Question 3
Most-appropriate topic codes (Cambridge IGCSE Physics 0625):
▶️ Answer/Explanation
Detailed solution:
To find the most reliable value for the time of fall, a student should calculate the arithmetic mean of multiple readings.
The correct way to calculate an average is to find the sum of all individual measurements and divide by the number of trials.
Option A correctly describes this process: $\text{Average Time} = \frac{\sum t}{5}$.
Option B is incorrect because multiplying measurements does not yield an average time.
Options C and D are incorrect because falling objects undergo acceleration due to gravity, $g \approx 9.8\text{ m/s}^{2}$.
Since the ball accelerates, the time taken to fall $2.0\text{ m}$ is not simply double the time taken to fall $1.0\text{ m}$, making these procedures mathematically invalid for the target height.
Question 4


Most-appropriate topic codes (Cambridge IGCSE Physics 0625):
▶️ Answer/Explanation
Detailed solution:
On a speed-time graph, an object is at rest when its speed is $0\text{ m/s}$, which occurs at the origin where $t = 0.0\text{ s}$.
Between $t = 0\text{ s}$ and $t = 3\text{ s}$, the upward sloping line indicates constant acceleration as speed increases uniformly.
Between $t = 3\text{ s}$ and $t = 5\text{ s}$, the horizontal line represents a constant speed because the value on the y-axis remains unchanged.
Since $4.0\text{ s}$ falls within this horizontal section, the car is moving at a constant speed at that time.
Therefore, Row B correctly identifies $0.0\text{ s}$ for rest and $4.0\text{ s}$ for constant speed.
Question 5
Most-appropriate topic codes (Cambridge IGCSE Physics 0625):
▶️ Answer/Explanation
Detailed solution:
Weight is defined as the force of gravity acting on an object’s mass. Unlike mass, which is a measure of the quantity of matter and remains constant, weight depends on the gravitational field strength $g$. The relationship is expressed by the equation $W = m \times g$, where $W$ is the weight in Newtons ($N$) and $m$ is the mass in kilograms ($kg$). Density, surface area, and volume are geometric or intrinsic physical properties that do not describe a force. Therefore, Option D is the correct definition according to the syllabus.
Question 6
A stone has a weight of $5.7\text{ N}$.
The gravitational field strength $g$ is $9.8\text{ N/kg}$.
What is the mass of the stone?
Most-appropriate topic codes (Cambridge IGCSE Physics 0625):
▶️ Answer/Explanation
Detailed solution:
The relationship between weight ($W$), mass ($m$), and gravitational field strength ($g$) is given by the formula $W = m \times g$.
To find the mass, we rearrange the equation to $m = \frac{W}{g}$.
Substituting the given values: $m = \frac{5.7\text{ N}}{9.8\text{ N/kg}}$.
Calculating this gives $m \approx 0.5816\text{ kg}$.
Rounding to two significant figures, as provided in the options, the mass is $0.58\text{ kg}$.
Therefore, the correct choice is Option A.
Question 7
Most-appropriate topic codes (Cambridge IGCSE Physics 0625):
▶️ Answer/Explanation
Detailed solution:
Density is defined as mass per unit volume, expressed by the formula $\rho = \frac{m}{V}$.
Rearranging this equation to solve for mass gives $m = \rho \times V$, which matches option B.
Option A is incorrect because Newton’s Second Law states $F = ma$, so $m = \frac{F}{a}$.
Option C is incorrect as impulse is $J = F\Delta t$, meaning $\frac{F}{J} = \frac{1}{\Delta t}$, which is not mass.
Option D is incorrect because kinetic energy is $E_{k} = \frac{1}{2}mv^{2}$, thus $m = \frac{2E_{k}}{v^{2}}$.
Therefore, only $mass = density \times volume$ is a mathematically correct physical relationship.
Question 8
Most-appropriate topic codes (Cambridge IGCSE Physics 0625):
▶️ Answer/Explanation
Detailed solution:
The moment of a force is a measure of its capacity to cause an object to rotate around a specific pivot point or axis.
Mathematically, it is defined as the product of the force $F$ and the perpendicular distance $d$ from the pivot, expressed as $\text{moment} = F \times d$.
While the magnitude (Option A) is just a component of the force, the moment specifically describes the resulting “turning effect.”
Work done (Option B) refers to energy transfer $W = F \times s$, and the time the force acts (Option C) relates to impulse $\Delta p = F \times \Delta t$.
Therefore, Option D is the correct definition according to the syllabus, as the moment represents the rotational impact of a force.
Question 9

Most-appropriate topic codes (Cambridge IGCSE Physics 0625):
▶️ Answer/Explanation
Detailed solution:
Since the mass is held stationary, it is in equilibrium, meaning the upward tension $T$ must equal the downward weight $W$.
Weight is calculated using the formula $W = m \times g$, where $m$ is mass and $g$ is the acceleration of free fall.
Taking the IGCSE standard value of $g \approx 10~m/s^{2}$ (or the syllabus value $9.8~m/s^{2}$ rounded for simplicity in multiple choice), we get:
$W = 20~kg \times 10~m/s^{2} = 200~N$.
Because $T = W$ to maintain a stationary state, the force $T$ in the rope is $200~N$.
Options A and B are incorrect as they use units of mass ($kg$) instead of force ($N$).
Question 10
Most-appropriate topic codes (Cambridge IGCSE Physics 0625):
▶️ Answer/Explanation
Detailed solution:
Work done $W$ is defined as the product of the force $F$ and the distance $d$ moved in the direction of the force.
The fundamental formula for mechanical work is expressed as $W = F \times d$.
To find the relationship for force, we rearrange the equation by dividing both sides by $d$.
This algebraic rearrangement results in the expression $F = \frac{W}{d}$.
By comparing this result with the given choices, option D is identified as the mathematically correct relation.
Options A, B, and C represent incorrect algebraic manipulations of the work-energy principle.
Question 11
Most-appropriate topic codes (Cambridge IGCSE Physics 0625):
▶️ Answer/Explanation
Detailed solution:
To find the useful energy transferred, we use the power formula: $P = \frac{\Delta E}{t}$.
First, convert the time from minutes to the SI unit of seconds: $t = 2.0 \times 60 = 120\text{ s}$.
Rearranging the formula to solve for energy gives: $\Delta E = P \times t$.
Substitute the given values: $\Delta E = 60\text{ W} \times 120\text{ s} = 7200\text{ J}$.
This calculation shows that the total useful energy transferred by the boy is $7200\text{ J}$.
Thus, option D is the correct answer.
Question 12

Most-appropriate topic codes (Cambridge IGCSE Physics 0625):
▶️ Answer/Explanation
Detailed solution:
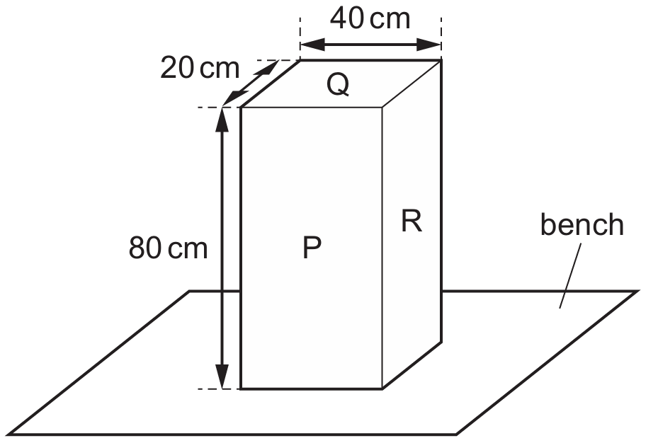
Pressure is defined by the formula p= A F , where F is the weight of the block and A is the contact area.
Since the weight of the block is constant, the smallest pressure is produced when the contact area A is at its maximum.
The areas of the surfaces are: Area Q =40 cm×20 cm=800 cm 2 , Area R =80 cm×20 cm=1600 cm 2 , and Area P =80 cm×40 cm=3200 cm 2 .
Surface P has the largest area, therefore resting the block on surface P results in the smallest pressure on the bench.
Question 13

Most-appropriate topic codes (Cambridge IGCSE Physics 0625):
▶️ Answer/Explanation
Detailed solution:
Pressure is defined as the force applied per unit area, expressed by the formula p= A F .
In this scenario, the force F is the weight of the skier, which is 550 N.
The total contact area A provided is 0.015 m 2 .
Substituting these values into the equation: p= 0.015 550 .
Performing the calculation gives p≈36666.67 N/m 2 .
Rounding to two significant figures as per the options, we get 37000 N/m 2 .
Therefore, the correct pressure exerted is represented by Option D.
Question 14
Most-appropriate topic codes (Cambridge IGCSE Physics 0625):
▶️ Answer/Explanation
Detailed solution:
Pressure is defined as the force applied per unit area, expressed by the formula $p = \frac{F}{A}$.
To produce the same pressure $p$, the ratio of force to area must remain constant.
In Option A, the new force is $2F$ and the new area is $2A$, resulting in $p_{new} = \frac{2F}{2A} = \frac{F}{A} = p$.
In Option B, $p_{new} = \frac{0.5F}{2A} = 0.25p$, and in Option C, $p_{new} = \frac{4F}{2A} = 2p$.
In Option D, $p_{new} = \frac{2F}{0.5A} = 4p$, which significantly increases the pressure.
Therefore, only doubling both the force and the area leaves the final pressure unchanged.
Question 15

Most-appropriate topic codes (Cambridge IGCSE Physics 0625):
▶️ Answer/Explanation
Detailed solution:
Temperature is a measure of the average kinetic energy of particles, where $E_{k} = \frac{1}{2}mv^{2}$.
As the temperature decreases, the oxygen particles lose kinetic energy and move more slowly ($v$ decreases).
Pressure in a gas is caused by particles colliding with the cylinder walls, exerting a force per unit area ($p = \frac{F}{A}$).
Slower particles collide with the walls less frequently and with less force, leading to a reduction in total pressure.
According to Gay-Lussac’s Law, for a fixed volume, pressure is directly proportional to absolute temperature ($P \propto T$).
Therefore, a decrease in temperature results in a decrease in pressure because the particles move more slowly.
Question 16
Most-appropriate topic codes (Cambridge IGCSE Physics 0625):
▶️ Answer/Explanation
Detailed solution:
Solidification is the phase change from a liquid to a solid. In the liquid state, particles are close together but have enough energy to slide or move around each other.
As a substance solidifies, the particles lose energy and form a regular, fixed lattice structure where they can only vibrate about fixed positions.
Consequently, the particles stop moving around each other, which is accurately described in Option B.
Crucially, during any change of state, the temperature remains constant (at 0 % accuracy for pure substances) until the process is complete, as energy change involves breaking or forming bonds rather than changing kinetic energy.
Therefore, Options C and D are incorrect because the temperature does not change during the actual solidification process.
Question 17
Solids expand the ……1…… and the average separation between molecules is the ……2…… .
Which words complete the sentence about the expansion of solids when they are heated, relative to liquids and gases?

Most-appropriate topic codes (Cambridge IGCSE Physics 0625):
▶️ Answer/Explanation
Detailed solution:
In solids, molecules are held together by strong intermolecular forces, restricting their movement to vibrations about fixed positions. When heated, these vibrations increase, but the strong bonds ensure solids expand the least compared to liquids and gases. Consequently, even after expansion, the average separation between molecules in a solid remains the smallest among the three states of matter. Gases expand the most because their intermolecular forces are negligible, allowing for much greater increases in molecular distance. Therefore, Row B correctly identifies that solids have the least expansion and the smallest molecular separation.
Question 18
Most-appropriate topic codes (Cambridge IGCSE Physics 0625):
▶️ Answer/Explanation
Detailed solution:
When the balloon is held above the heater, thermal energy is transferred to the air particles inside.
According to the kinetic particle model, as the temperature $T$ increases, the average kinetic energy of the particles also increases.
These faster-moving particles collide with the inner walls of the balloon more frequently and with greater force.
To maintain a pressure balance with the outside atmosphere, the internal volume $V$ must increase.
This process is known as thermal expansion, specifically where the air (gas) inside the balloon expands.
While the rubber material may stretch, the primary “cause” of the significant volume increase is the expansion of the air itself.
Question 19

Most-appropriate topic codes (Cambridge IGCSE Physics 0625):
▶️ Answer/Explanation
Detailed solution:
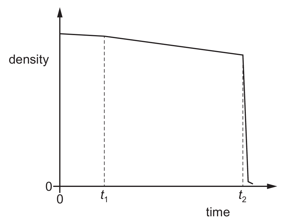
Density is defined as $\rho = \frac{m}{V}$. For a fixed mass, density decreases significantly when volume increases.
The graph shows a slight decrease in density from $0$ to $t_{2}$ due to thermal expansion of a liquid.
At time $t_{2}$, there is a massive, sudden drop in density toward a value near zero.
This indicates a massive increase in volume, which is characteristic of a liquid turning into a gas.
Since the temperature is increasing over time, this transition represents the boiling process.
Therefore, the state change occurring at $t_{2}$ is boiling, where particles become widely spaced.
Question 20


Most-appropriate topic codes (Cambridge IGCSE Physics 0625):
▶️ Answer/Explanation
Detailed solution:
Heat transfer through the solid glass occurs via conduction, where thermal energy is passed through atomic vibrations. In the liquid water, the main method is convection; as water at the bottom heats up, its density decreases, causing it to rise and create a circulation current. While radiation exists, it is not the primary mechanism for these specific media. Consequently, the heat moves through the solid beaker by conduction and circulates within the fluid water by convection. This identifies Row B as the correct description of the primary thermal processes involved.
Question 21
Most-appropriate topic codes (Cambridge IGCSE Physics 0625):
▶️ Answer/Explanation
Detailed solution:
The speed of a wave, $v$, is defined as the distance a wave crest travels per unit time.
It is determined by the product of the wave’s frequency, $f$, and its wavelength, $\lambda$.
The relationship is expressed by the fundamental wave equation: $v = f \times \lambda$.
Amplitude represents the maximum displacement from equilibrium and does not affect the wave speed.
Therefore, option C is the only mathematically correct representation of this physical law.
Dividing frequency by wavelength as seen in option D is dimensionally incorrect for calculating speed.
Question 22

Most-appropriate topic codes (Cambridge IGCSE Physics 0625):
▶️ Answer/Explanation
Detailed solution:
The law of reflection states that the angle of incidence $i$ is equal to the angle of reflection $r$.
Both angles are measured from the normal, which is the dashed line perpendicular to the mirror surface (line A).
The diagram shows the incident ray makes an angle of $60^{\circ}$ with the normal (since $90^{\circ} – 30^{\circ} = 60^{\circ}$).
Thus, the reflected ray must also be at an angle of $60^{\circ}$ from the normal on the opposite side.
This corresponds to a $30^{\circ}$ angle between the reflected ray and the mirror surface.
Position B is the only path that correctly follows this $i = r$ relationship above the mirror’s surface.
Question 23

Most-appropriate topic codes (Cambridge IGCSE Physics 0625):
▶️ Answer/Explanation
Detailed solution:
The angle of refraction is defined as the angle between the refracted ray and the normal.
In the provided diagram, the light ray travels from a denser medium (glass) into a less dense medium (air).
The ray labeled with an arrow pointing away from the boundary in the air is the refracted ray.
The vertical dotted line represents the normal, which is perpendicular ($90^{\circ}$) to the boundary interface.
Angle $C$ is the specific interval measured between this normal and the refracted ray.
Angles $B$ and $D$ are incorrect as they are measured against the boundary surface rather than the normal.
Thus, angle $C$ correctly identifies the angle of refraction according to standard optical conventions.
Question 24

Most-appropriate topic codes (Cambridge IGCSE Physics 0625):
▶️ Answer/Explanation
Detailed solution:
The ray diagram shows light rays from the object actually meeting at a point on the opposite side of the lens, which defines the image as real.
The arrow representing the image points downwards while the object points upwards, confirming the image is inverted.
By comparing the heights, the vertical length of the image arrow is clearly shorter than that of the object arrow, meaning it is diminished.
This occurs when the object is placed at a distance u > 2f from the optical centre of a converging lens.
Therefore, the correct description is real, inverted, and diminished, which corresponds to option A.
Question 25

Most-appropriate topic codes (Cambridge IGCSE Physics 0625):
▶️ Answer/Explanation
Detailed solution:
An image formed by a plane mirror is always virtual, meaning it cannot be projected onto a screen because the light rays do not actually meet.
The linear magnification of a plane mirror is exactly $1$, which means the image size is always the same size as the object.
The distance from the object to the mirror, $u$, is equal to the distance from the image to the mirror, $v$, such that $u = v$.
Additionally, the image is upright and laterally inverted (left and right are swapped).
Row D is the only option that correctly identifies the image as both virtual and the same size.
Therefore, the correct row describing these physical characteristics is Row D.
Question 26
The table gives the range of frequencies of three types of electromagnetic radiation.

Which type of electromagnetic radiation has a frequency of 4×10 15 Hz?
Most-appropriate topic codes (Cambridge IGCSE Physics 0625):
▶️ Answer/Explanation
Detailed solution:
To identify the radiation, we compare the given frequency, 4×10 15 Hz, to the ranges provided in the table.
The frequency 4×10 15 Hz is higher than the upper limit of visible light (8×10 14 Hz) but lower than the lower limit of X-rays (3×10 16 Hz).
In the electromagnetic spectrum, the region existing between visible light and X-rays is ultraviolet radiation.
Gamma radiation (Option A) would have a frequency typically higher than 3×10 19 Hz.
Infrared (Option B) and microwaves (Option C) have frequencies lower than visible light (< 4 \times 10^{14} Hz).
Therefore, the radiation with a frequency of 4×10 15 Hz must be ultraviolet radiation.
Question 27
What is the speed of sound calculated from this observation?
Most-appropriate topic codes (Cambridge IGCSE Physics 0625):
▶️ Answer/Explanation
Detailed solution:
Light travels much faster than sound, so we assume the athlete sees the smoke instantly.
The time delay of $t = 1.5 \text{ s}$ represents the time taken for the sound wave to travel the distance $d = 450 \text{ m}$.
Using the average speed formula, $v = \frac{d}{t}$, we substitute the given values:
$v = \frac{450 \text{ m}}{1.5 \text{ s}}$.
Calculating this gives $v = 300 \text{ m/s}$.
Thus, the speed of sound based on this specific observation is $300 \text{ m/s}$, which corresponds to option B.
Question 28



Most-appropriate topic codes (Cambridge IGCSE Physics 0625):
▶️ Answer/Explanation
Detailed solution:
Magnetic poles follow the fundamental rule: opposite poles attract and like poles repel. Since the N pole of the compass points toward X, pole X must be a South (S) pole due to attraction. Consequently, pole Y on the same magnet must be a North (N) pole. When magnet XY is brought near magnet PQ, the diagram shows pole Y and pole P facing each other and repelling. Since like poles repel and Y is N, pole P must also be a North (N) pole. Thus, X is S and P is N, making Row C the correct choice.
Question 29
Most-appropriate topic codes (Cambridge IGCSE Physics 0625):
▶️ Answer/Explanation
Detailed solution:
Metals like copper are excellent electrical conductors because they possess a lattice of positive ions surrounded by a “sea” of delocalized or **free electrons**. Electrical current ($I$) is defined as the rate of flow of charge, and in metallic solids, this charge is carried specifically by these mobile electrons. Protons are bound tightly within the nucleus and cannot move to conduct electricity, making options C and D incorrect. Since copper allows charge to flow easily with low resistance, it is classified as a conductor rather than an insulator, confirming that option A is the only scientifically accurate description.
Question 30
What does the product IV represent?
Most-appropriate topic codes (Cambridge IGCSE Physics 0625):
▶️ Answer/Explanation
Detailed solution:
Electrical power P is defined as the rate at which energy is transferred or work is done in a circuit.
The formula for electrical power is the product of potential difference V and current I, expressed as P=IV.
In a resistor, this represents the rate at which electrical energy is converted into thermal energy, often called dissipation.
Option A refers to charge Q=It, while Option B refers to energy E=IVt.
Option D defines resistance as R= I V according to Ohm’s Law.
Therefore, the product IV specifically represents the power dissipated, making Option C the correct choice.
Question 31




Most-appropriate topic codes (Cambridge IGCSE Physics 0625):
▶️ Answer/Explanation
Detailed solution:
A thermistor is represented by a rectangular resistor symbol with a diagonal line that has a horizontal flat section at the bottom.
A heater is represented by a rectangular symbol containing several internal vertical lines, resembling a radiator.
In the given diagrams, the first component in circuits A and B is a variable resistor (diagonal arrow), while C and D correctly show a thermistor.
The second component in circuits A and C is a Light-Dependent Resistor (LDR), indicated by incoming arrows representing light.
Circuit D is the only option that combines the correct symbol for a thermistor with the correct symbol for a heater.
Therefore, Option D is the correct circuit diagram based on standard electrical symbols.
Question 32

Most-appropriate topic codes (Cambridge IGCSE Physics 0625):
▶️ Answer/Explanation
Detailed solution:
When electrical cells are connected in series, their individual electromotive forces (e.m.f.) are added together to find the total e.m.f. of the battery.
In this circuit, there are $n = 4$ identical cells, each with an e.m.f. of $\varepsilon = 2.0~\text{V}$.
The formula for the combined e.m.f. in series is $E_{total} = \varepsilon_{1} + \varepsilon_{2} + \varepsilon_{3} + \varepsilon_{4}$.
Substituting the values, we get $E_{total} = 2.0~\text{V} + 2.0~\text{V} + 2.0~\text{V} + 2.0~\text{V} = 8.0~\text{V}$.
As all cells are oriented in the same direction, they reinforce each other, resulting in a total of $8.0~\text{V}$.
Therefore, option D is the correct choice.
Question 33

Most-appropriate topic codes (Cambridge IGCSE Physics 0625):
▶️ Answer/Explanation
Detailed solution:
In a metallic solid, positive charges (atomic nuclei) are fixed in a lattice and cannot move. However, metals contain free electrons which carry a negative charge $-e$ and are mobile. When a positively charged sphere is brought near, it exerts an attractive electrostatic force on these electrons. Consequently, some negative charges move toward the left side of the neutral sphere. This process, known as electrostatic induction, leaves the right side with a net positive charge while the positive ions themselves remain stationary.
Question 34
How much energy is transferred by the lamp in $1.0\text{ hour}$?
Most-appropriate topic codes (Cambridge IGCSE Physics 0625):
▶️ Answer/Explanation
Detailed solution:
First, convert the time from hours to seconds: $t = 1.0 \times 3600 = 3600\text{ s}$.
Using the electrical energy formula $E = IVt$, where $I = 2.5\text{ A}$ and $V = 12\text{ V}$.
Substitute the values: $E = 12\text{ V} \times 2.5\text{ A} \times 3600\text{ s}$.
This gives $E = 108\,000\text{ J}$.
Options B and D are incorrect because Watts ($\text{W}$) is the unit for power, not energy.
Option A is incorrect as it fails to account for the conversion of hours into seconds.
Question 35
Most-appropriate topic codes (Cambridge IGCSE Physics 0625):
▶️ Answer/Explanation
Detailed solution:
Electromagnetic induction occurs when a conductor “cuts” through magnetic field lines, causing a change in the magnetic flux linkage.
According to Faraday’s Law, the induced e.m.f. ($\varepsilon$) is proportional to the rate of change of magnetic flux ($\Phi$), expressed as $\varepsilon = -N\frac{\Delta\Phi}{\Delta t}$.
Simply connecting the wire to a power supply (Option A) or earth (Option B) creates a circuit or discharge but does not “induce” an e.m.f. from the field.
Heating the wire (Option C) changes its resistance but does not affect the magnetic flux linkage.
Moving the wire (Option D) through the uniform magnetic field ensures the conductor cuts the field lines, directly triggering induction.
Therefore, physical motion of the conductor relative to the magnetic field is the necessary condition for an induced e.m.f. in this context.
Question 36

Most-appropriate topic codes (Cambridge IGCSE Physics 0625):
▶️ Answer/Explanation
Detailed solution:
Isotopes are atoms of the same element, meaning they have the same proton number $Z$. Since the charge of a nucleus is determined solely by the number of protons (each having a charge of $+1$), the charge on each nucleus remains the same.
However, isotopes have different numbers of neutrons. The mass of a nucleus is approximately equal to the nucleon number $A$, where $A = Z + N$.
Because the number of neutrons $N$ varies between isotopes, the total mass of each nucleus will be different.
Therefore, the correct comparison is that the charge is the same but the mass is different, which corresponds to Row C.
Question 37

Most-appropriate topic codes (Cambridge IGCSE Physics 0625):
▶️ Answer/Explanation
Detailed solution:
Count rate is defined as the number of decay events detected by a counter per unit of time.
Common units for this measurement include counts per second (counts/s) or counts per minute (counts/min).
Option B is incorrect because it represents the inverse of a rate (time per count).
Options C and D are incorrect as they involve electrical units like coulombs and amperes, which measure charge and current respectively.
Since the detector measures the frequency of ionizing events, counts/s is the standard scientific unit used.
Therefore, Option A is the correct unit for expressing the background radiation count rate.
Question 38
Most-appropriate topic codes (Cambridge IGCSE Physics 0625):
▶️ Answer/Explanation
Detailed solution:
Alpha particles ($\alpha$) are helium nuclei, making them the heaviest and most ionising but least penetrating.
Beta particles ($\beta$) are high-energy electrons with a negative charge, meaning they are deflected by magnetic fields.
Gamma rays ($\gamma$) are high-frequency electromagnetic radiation with no mass or charge.
Because $\gamma$-rays have no charge and high energy, they interact least with matter, allowing them to be the most penetrating.
Conversely, $\alpha$-particles are the most ionising due to their large $+2e$ charge, while $\gamma$ is the least ionising.
Therefore, statement C is the only correct description of their relative physical properties.
Question 39
Most-appropriate topic codes (Cambridge IGCSE Physics 0625):
▶️ Answer/Explanation
Detailed solution:
Ionising radiation carries enough energy to remove electrons from atoms, creating ions that can damage biological molecules.
When this radiation interacts with the $DNA$ inside a living cell, it can cause structural changes known as cell mutations.
These mutations may lead to uncontrolled cell division (cancer) or cause the cell to die entirely.
Other options like electric shock or broken bones are physical injuries resulting from macroscopic forces, not atomic radiation.
Internal cooling is incorrect as radiation absorption typically leads to an increase in internal energy, not a decrease.
Therefore, cell mutation is the primary biological effect identified in the syllabus for ionising radiation.
Question 40


Most-appropriate topic codes (Cambridge IGCSE Physics 0625):
▶️ Answer/Explanation
Detailed solution:
Seasons are caused by the tilt of the Earth’s axis, which is approximately 23.5 ∘ relative to its orbit.
In the diagram at position 1, the axis shows the northern hemisphere leaning toward the Sun.
When a hemisphere tilts toward the Sun, it receives more direct sunlight and longer daylight hours.
This increased solar intensity and duration characterize the season of summer.
Conversely, the southern hemisphere would be experiencing winter at this same position.
Therefore, Row B correctly identifies the season as summer because the northern hemisphere is tilted toward the Sun.
