Question 1
The graph has four sections, labelled JK, KL, LM and MN.

(a) Complete the following sentence.
The car has the largest acceleration in section ……………….. .
(i) section LM
(ii) section MN.
Calculate the average speed of this car.
Most-appropriate topic codes (Cambridge IGCSE Physics 0625):
• Topic $1.2$ — Motion (Parts $\mathrm{(a)}$, $\mathrm{(b)}$, $\mathrm{(c)}$, $\mathrm{(d)}$)
▶️ Answer/Explanation
(a)
For the correct answer:
Section KL (or LK)
Explanation: On a speed-time graph, acceleration is given by the gradient (or slope) of the line. A steeper gradient represents a higher rate of change of speed, which means a larger acceleration. By visually comparing the sloped sections of the given graph, section KL has the steepest positive gradient, indicating the largest acceleration.
(b)
For the correct answer:
$150\text{ m}$
Explanation: The distance travelled is equal to the area under the speed-time graph for the specified time interval. Between $t = 20\text{ s}$ and $t = 35\text{ s}$, the area forms a right-angled triangle. The base of this triangle is $\Delta t = 35\text{ s} – 20\text{ s} = 15\text{ s}$, and the height is $v = 20\text{ m/s}$. Using the formula for the area of a triangle, distance $d = \frac{1}{2}bh$, we get $d = \frac{1}{2} \times 15\text{ s} \times 20\text{ m/s} = 150\text{ m}$.
(c)(i)
For the correct answer:
Constant speed (or steady speed)
Explanation: During section LM, the line on the graph is perfectly horizontal at a value of $20\text{ m/s}$. A horizontal line on a speed-time graph indicates that the speed is not changing as time passes. Therefore, the car has an acceleration of $0\text{ m/s}^2$ and is moving at a constant speed.
(c)(ii)
For the correct answer:
Decelerating
Explanation: During section MN, the graph shows a straight line with a negative gradient, pointing downwards. This indicates that the speed of the car is steadily decreasing from $20\text{ m/s}$ down to $0\text{ m/s}$. A continuous decrease in speed over time defines deceleration.
(d)
For the correct calculated value:
$25\text{ m/s}$
Explanation: Average speed is defined as the total distance travelled divided by the total time taken. The question provides the total distance $d = 500\text{ m}$ and the time $t = 20\text{ s}$. Applying the formula $v = \frac{d}{t}$, we substitute the given values to get $v = \frac{500\text{ m}}{20\text{ s}}$, which calculates to an average speed of $25\text{ m/s}$.
Question 2


Most-appropriate topic codes (Cambridge IGCSE Physics 0625):
• Topic 1.1 — Physical quantities and measurement techniques (Parts (a), (b), (c))
▶️ Answer/Explanation
(a)
For the correct answer:
0.83 s
The stopwatch face displays minutes, seconds, and hundredths of a second (indicated by the 1/100 s mark). The main digits show 0 minutes and 00 seconds, while the smaller digits show 83. This corresponds to 83 hundredths of a second, meaning the time taken is exactly 0.83 s.
(b)
For the correct answer:
0.78 s
To find the average time for a single oscillation, we must divide the total time taken by the total number of complete oscillations. Given that the total time is 11.7 s for 15 oscillations, we use the formula $T = \frac{11.7}{15}$. Calculating this gives an average time of 0.78 s per oscillation.
(c)
For the correct answer:
The pendulum swings from P to Q and back to P.
One complete oscillation of a pendulum involves the bob traveling from its initial release point, moving through the equilibrium position to the opposite extreme, and then returning entirely to its starting point. Therefore, releasing the bob at P means it will travel through R to Q, and then swing back through R to end exactly at P.
Question 3
(a) The mass of the wooden beam is 40 kg.
Calculate the weight of the wooden beam.
Fig. 3.1 shows the children on the see-saw.

The see-saw balances horizontally, as shown in Fig. 3.1. The weight of child B is 360 N.
Calculate the weight $W$ of child A.
State and use the principle of moments in your answer.
Most-appropriate topic codes (Cambridge IGCSE Physics 0625):
• Topic 1.3 — Mass and weight (Part (a))
• Topic 1.5.2 — Turning effect of forces (Part (b))
▶️ Answer/Explanation
(a)
For the correct answer:
390 N
Explanation:
Weight is the gravitational force acting on an object, which can be calculated using the equation $W = mg$. In this formula, $m$ represents the mass (40 kg) and $g$ represents the acceleration of free fall, which is approximately $9.8 \text{ m/s}^2$ near the surface of the Earth. Multiplying these values gives $W = 40 \times 9.8 = 392 \text{ N}$. Based on standard significant figure rules, this is accepted as 390 N.
(b)
For the correct answer:
270 N
Explanation:
The principle of moments states that when an object is in equilibrium, the total clockwise moment about a pivot equals the total anticlockwise moment. The moment of a force is calculated as $moment = force \times distance$. The clockwise moment created by child B is $360 \times 1.2 = 432 \text{ Nm}$. The anticlockwise moment created by child A is $W \times 1.6$. Equating the two moments gives $1.6W = 432$. Rearranging to solve for $W$ yields $W = \frac{432}{1.6}$, which equals 270 N.
Question 4

(a) (i) The weight of the load is $15\text{ N}$. The load is raised a vertical distance of $0.80\text{ m}$.
Calculate the work done on the load.
(b) A hydroelectric power station generates electrical power using the energy stored in water behind a dam.
Describe how a hydroelectric power station generates electrical power.
Most-appropriate topic codes (Cambridge IGCSE Physics 0625):
• Topic $1.7.2$ — Work (Part $\mathrm{(a)(i)}$)
• Topic $1.7.1$ — Energy (Part $\mathrm{(a)(ii)}$)
• Topic $1.7.3$ — Energy resources (Part $\mathrm{(b)}$)
▶️ Answer/Explanation
(a) (i)
For the correct answer:
$12\text{ J}$
Mechanical work is done when a force moves an object over a distance. It can be calculated using the formula $W = Fd$, where $F$ is the force applied in the direction of motion and $d$ is the distance moved. Substituting the given values: $W = 15\text{ N} \times 0.80\text{ m} = 12\text{ J}$.
(a) (ii)
For a correct description:
Energy is transferred as thermal energy to the surroundings OR energy is used to overcome friction OR electrical heating occurs in the wires.
No system is perfectly efficient. As the motor operates, moving parts experience friction, and electrical resistance in the circuits causes heating. This causes useful electrical energy to be transferred to the thermal store of the motor and eventually dissipated to the surroundings as wasted heat.
(b)
For the correct description (any three points):
Water has energy in its gravitational potential store $\rightarrow$ water flows/moves, transferring energy to the kinetic store $\rightarrow$ water turns a turbine $\rightarrow$ the turbine turns a generator.
Water held behind a dam has a large amount of energy in its gravitational potential store due to its height. When released, it flows downwards, and this energy is transferred to the kinetic store of the moving water. The fast-flowing water strikes the blades of a turbine, causing it to spin. This turbine is connected to a generator, which converts the kinetic energy into electrical power.
Question 5

Most-appropriate topic codes (Cambridge IGCSE Physics 0625):
• Topic 2.3.3 — Radiation (Part (a))
• Topic 2.3.1 — Conduction (Part (b))
▶️ Answer/Explanation
(a)
For the correct answer:
The air inside the dull black container has a higher temperature (it is hotter). This is because the dull black surface is a better absorber of infrared radiation than the shiny white surface.
When the Bunsen burner emits infrared radiation, both containers receive an equal amount of radiant energy because they are at the exact same distance. However, a material’s surface color and texture dictate how much of that energy is actually absorbed. Dull black surfaces are excellent absorbers of thermal radiation, causing the container and its trapped air to heat up rapidly. Conversely, shiny white surfaces are poor absorbers and excellent reflectors, resulting in a much smaller temperature increase for the air inside the white container.
(b)
For the correct answer:
Apply heat to one end of all the rods using the same Bunsen burner flame. Attach a pin or matchstick to the unheated end of each rod using an equal amount of wax, ensuring they are placed at the exact same distance from the heat source. Use a timer to record how long it takes for the wax to melt and the pin to drop off each rod. The rod that drops the pin in the shortest time has the highest thermal conductivity.
To accurately compare the thermal conductivities of brass, copper, iron, steel, and glass, a controlled experimental setup must be maintained. By heating one end of the rods, thermal energy travels along their lengths via conduction. Metals generally conduct heat well due to the presence of free (delocalised) electrons, whereas glass is a thermal insulator and relies solely on slow lattice vibrations. Measuring the time it takes for a visual temperature marker (like melting wax) to react at the opposite end provides a direct, observable comparison of how fast thermal energy conducts through each specific material.
Question 6


Most-appropriate topic codes (Cambridge IGCSE Physics 0625):
• Topic $3.2.2$ — Refraction of light (Parts $\mathrm{(a)(i)}$, $\mathrm{(a)(ii)}$, $\mathrm{(a)(iii)}$)
• Topic $3.2.3$ — Thin lenses (Parts $\mathrm{(b)(i)}$, $\mathrm{(b)(ii)}$)
▶️ Answer/Explanation
(a)(i)
For the correct answer:
Normal
The dashed line labelled Y is drawn perpendicular (at $90^{\circ}$) to the boundary between the glass and the air at the exact point of incidence, P. In optics, this perpendicular reference line is universally defined as the normal.
(a)(ii)
For the correct answer:
Angle of incidence indicated with letter X.
The angle of incidence is mathematically defined as the angle between the incident ray and the normal line at the point of contact. To correctly answer, an arc must be drawn specifically between the incoming ray of red light inside the glass and the dashed normal line Y, and labelled with the letter $X$.
(a)(iii)
For the correct answer:
Ray refracted away from the normal.
When the red light ray exits the optically denser glass block and enters the less dense air, its propagation speed increases. This change in wave speed causes it to undergo refraction, bending away from the normal. The drawn line must show the ray altering its initial straight-line trajectory at point P to pivot further away from line Y.
(b)(i)
For the correct answer:
$20\text{ cm}$
The principal focus is the point on the principal axis through which a ray must pass to emerge parallel to the axis after refracting through the lens. In Fig. $6.2$, the lower ray passes through a point on the principal axis and then emerges parallel to it. The distance from this point to the optical centre of the lens is explicitly labelled as $20\text{ cm}$, making this the focal length.
(b)(ii)
For the correct answer (any two):
Real, inverted, diminished (or smaller).
The image is formed by the actual convergence of light rays on the opposite side of the lens, meaning it can be projected onto a screen, making it a real image. It is formed below the principal axis (upside down), so it is inverted. Additionally, by visually comparing the heights or observing the ray geometry, the image is physically smaller than the original object, meaning it is diminished.
Question 7


Most-appropriate topic codes (Cambridge IGCSE Physics 0625):
• Topic $3.1$ — General properties of waves (Parts $\mathrm{(a)(i)}$, $\mathrm{(a)(ii)}$, $\mathrm{(b)(ii)}$)
• Topic $3.3$ — Electromagnetic spectrum (Part $\mathrm{(b)(i)}$)
▶️ Answer/Explanation
(a)(i)
For the correct answer:
$0.8\text{ cm}$
The amplitude is the maximum displacement of a wave from its rest or equilibrium position. By observing the vertical axis (displacement) of the given graph, the highest point (crest) of the wave aligns exactly with $0.8\text{ cm}$. Therefore, the amplitude is $0.8\text{ cm}$.
(a)(ii)
For the correct answer:
$2.0\text{ Hz}$
The period $T$ is the time taken to complete one full wave cycle. According to the graph, one complete wave cycle finishes at $t = 0.5\text{ s}$. Frequency $f$ is the number of waves produced per second, defined by the equation $f = \frac{1}{T}$. Substituting the period into the formula gives $f = \frac{1}{0.5\text{ s}} = 2.0\text{ Hz}$.
(b)(i)
For the correct answer:
infrared (left box)
ultraviolet (right box)
The electromagnetic spectrum, when ordered by increasing frequency, follows this sequence: radio waves, microwaves, infrared, visible light, ultraviolet, X-rays, and gamma rays. Based on this standard sequence, the region directly between microwaves and visible light is infrared, and the region between visible light and X-rays is ultraviolet.
(b)(ii)
For the correct answer:
$5.2 \times 10^{14}\text{ Hz}$
The wave equation relates the speed, frequency, and wavelength of a wave: $v = f\lambda$. To find the frequency, we rearrange the formula to $f = \frac{v}{\lambda}$. Substituting the provided values gives $f = \frac{3.0 \times 10^{8}\text{ m/s}}{5.8 \times 10^{-7}\text{ m}} = 5.172 \times 10^{14}\text{ Hz}$. Rounding this to two significant figures yields $5.2 \times 10^{14}\text{ Hz}$.
Question 8

Most-appropriate topic codes (Cambridge IGCSE Physics 0625):
• Topic $4.3.2$ — Series and parallel circuits (Part $\mathrm{(a)}$)
• Topic $4.2.4$ — Resistance (Part $\mathrm{(b)}$)
• Topic $4.2.2$ — Electric current (Part $\mathrm{(c)}$)
• Topic $4.3.1$ — Circuit diagrams and circuit components (Part $\mathrm{(d)}$)
▶️ Answer/Explanation
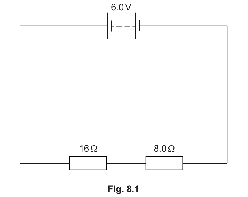
(a)
For the correct answer:
$24\,\Omega$
In a series circuit, the total or combined resistance is the sum of the individual resistances. By using the series resistance formula $R_{\text{total}} = R_1 + R_2$, we substitute the given values: $R_{\text{total}} = 16\,\Omega + 8.0\,\Omega$. This calculation yields a total combined resistance of $24\,\Omega$.
(b)
For the correct answer:
$0.25\text{ A}$
The current can be calculated using Ohm’s law, which describes the relationship $V = IR$. Rearranging the formula to solve for current gives $I = \frac{V}{R}$. Substituting the potential difference $V = 2.0\text{ V}$ and the individual resistance $R = 8.0\,\Omega$, we get $I = \frac{2.0\text{ V}}{8.0\,\Omega} = 0.25\text{ A}$.
(c)
For the correct answer:
electrons
In metal wires, electric current is driven by the flow of charge carriers. The atoms in solid metals feature free, delocalized particles that possess a negative charge, known as electrons. When an electromotive force is applied to the circuit, these free electrons drift through the metal lattice to create a current.
(d)
For the correct answer:
Voltmeter correctly connected in parallel across the $16\,\Omega$ resistor.
To measure the potential difference (voltage) across a specific component, a voltmeter is required. Voltmeters have very high resistance and must always be connected in parallel with the component being measured. Therefore, the standard voltmeter symbol (a circle containing a ‘V’) should be drawn connected across the terminals of the $16\,\Omega$ resistor.
Question 9

(a) The power input to the router circuit is $9.0\text{ W}$. The potential difference across the router circuit is $12\text{ V}$.
Calculate the current in the router circuit.
(b) The energy used by the router each hour is $0.0090\text{ kWh}$. One unit ($\text{kWh}$) of energy costs $50\text{ cents}$.
Calculate the cost of using the router for $24\text{ hours}$.
(c) The router uses a transformer. The number of turns $N_p$ on the primary coil of the transformer is $3600$. The primary voltage $V_p$ to the transformer is $240\text{ V}$. The secondary voltage $V_s$ of the transformer is $12\text{ V}$.
Calculate the number of turns $N_s$ on the secondary coil of the transformer.
(d) The mains plug for the router includes a fuse that protects the router.
Explain how a fuse works.
Most-appropriate topic codes (Cambridge IGCSE Physics 0625):
• Topic $4.2.5$ — Electrical energy and electrical power (Parts $\mathrm{(a)}$, $\mathrm{(b)}$)
• Topic $4.5.6$ — The transformer (Part $\mathrm{(c)}$)
• Topic $4.4$ — Electrical safety (Part $\mathrm{(d)}$)
▶️ Answer/Explanation
(a)
For the correct answer:
$0.75\text{ A}$
The relationship between electrical power $P$, current $I$, and potential difference $V$ is given by the equation $P = IV$. To find the current, we can rearrange this formula to make current the subject: $I = \frac{P}{V}$. Substituting the given values, $P = 9.0\text{ W}$ and $V = 12\text{ V}$, we get $I = \frac{9.0}{12}$. This calculates to a current of $0.75\text{ A}$.
(b)
For the correct calculated value:
$11\text{ cents}$
First, we determine the total energy consumed by the router over $24\text{ hours}$. Since it uses $0.0090\text{ kWh}$ each hour, the total energy is $0.0090\text{ kWh} \times 24 = 0.216\text{ kWh}$. The total cost is calculated by multiplying the total energy by the cost per unit ($50\text{ cents}$). Therefore, the total cost is $0.216 \times 50 = 10.8\text{ cents}$, which rounds to $11\text{ cents}$.
(c)
For the correct calculated value:
$180$
For an ideal transformer, the ratio of the secondary voltage to the primary voltage is equal to the ratio of the number of turns on the secondary coil to the primary coil: $\frac{V_s}{V_p} = \frac{N_s}{N_p}$. Rearranging to solve for $N_s$ gives $N_s = N_p \times \frac{V_s}{V_p}$. Substituting the given values gives $N_s = 3600 \times \frac{12}{240}$. Calculating this yields $N_s = 180$ turns.
(d)
For the correct explanation:
A fuse contains a thin piece of wire with a low melting point. If a fault causes an unusually large current to flow through the circuit, this excessive current leads to significant heating in the fuse wire. The high temperature causes the wire to melt, thereby breaking the circuit and safely disconnecting the appliance from the mains supply.
Question 10

Most-appropriate topic codes (Cambridge IGCSE Physics 0625):
• Topic $5.1.2$ — The nucleus (Parts $\text{(a)(i)}$, $\text{(a)(ii)}$)
• Topic $5.2.4$ — Half-life (Part $\text{(b)}$)
▶️ Answer/Explanation
(a)(i)
For the correct answer:
plutonium-$241$ AND americium(-$241$)
The number of nucleons is the mass number, which is represented by the superscript in the nuclide notation (or the number following the element name). Both plutonium-$241$ (${}^{241}_{\ 94}\text{Pu}$) and americium-$241$ (${}^{241}_{\ 95}\text{Am}$) have a nucleon number of $241$. Therefore, they have the exact same number of nucleons.
(a)(ii)
For the correct answer:
plutonium-$241$ OR ${}^{241}_{\ 94}\text{Pu}$ OR Pu-$241$
The number of neutrons is calculated by subtracting the proton number (the subscript $Z$) from the nucleon number (the superscript $A$). The neutron counts for each are: Americium ($241 – 95 = 146$), Plutonium-$239$ ($239 – 94 = 145$), Plutonium-$241$ ($241 – 94 = 147$), and Uranium ($238 – 92 = 146$). Hence, Plutonium-$241$ possesses the largest number of neutrons.
(b)
For the correct answer:
$9.0\text{ mg}$
First, determine the number of half-lives that have elapsed by dividing the total time by the half-life time: $\frac{42\text{ years}}{14\text{ years}} = 3\text{ half-lives}$. The remaining mass is calculated by halving the initial mass three times sequentially, which is equivalent to multiplying by $(\frac{1}{2})^3$ or dividing by $8$. Therefore, the mass remaining is $72\text{ mg} \div 8 = 9.0\text{ mg}$.
Question 11
Most-appropriate topic codes (Cambridge IGCSE Physics 0625):
• Topic $6.1.2$ — The Solar System (Part $\mathrm{(a)(i)}$)
• Topic $6.2.2$ — Stars (Parts $\mathrm{(a)(ii)}$, $\mathrm{(b)}$)
• Topic $6.2.3$ — The Universe (Part $\mathrm{(c)}$)
▶️ Answer/Explanation
(a)(i)
For the correct answer:
gravitational (force / attraction)
According to Newton’s law of universal gravitation, any two bodies with mass exert an attractive force on each other. The Sun possesses the vast majority of the mass in our Solar System, making its gravitational pull the dominant force. This continuous inward force keeps the $8$ planets continuously falling toward the Sun, resulting in their stable, elliptical orbits.
(a)(ii)
For the correct answer:
Milky Way
The Solar System is located within the Milky Way galaxy. This is a massive, barred spiral galaxy that contains many billions of stars, with our Sun and its orbiting planets situated in one of its outer spiral arms.
(b)
For the correct answer:
distance travelled (in the vacuum of space) by light in one year
A light-year is a unit of astronomical distance, not a measure of time. Because the scale of the Universe is so incredibly vast, using standard units like meters is impractical. Light travels at a constant speed of approximately $3.0 \times 10^{8}\text{ m/s}$ in a vacuum, meaning it covers a distance of roughly $9.5 \times 10^{15}\text{ m}$ over the course of $1$ Earth year.
(c)
For the correct answer (any three points):
• redshift of light / redshift of electromagnetic radiation from distant galaxies
• an increase in the observed wavelength of light emitted from receding galaxies
• the most distant galaxies have greater redshift than closer galaxies
• more distant galaxies are moving away faster than closer galaxies
When astronomers analyze the light emitted from distant galaxies, they observe that the spectral lines are shifted towards the red end of the visible spectrum. This phenomenon, known as cosmological redshift, means the observed wavelength has increased. By measuring this shift, it becomes evident that almost all galaxies are receding from us. Furthermore, galaxies that are further away exhibit a greater redshift, meaning they are receding at a proportionally faster velocity, which provides direct evidence that the fabric of the Universe itself is expanding.
