Question 1


Most-appropriate topic codes (Cambridge IGCSE Physics 0625):
• Topic $1.2$ — Motion (Parts $\mathrm{(a)(i)}$, $\mathrm{(a)(ii)}$, $\mathrm{(a)(iii)}$)
• Topic $1.3$ — Mass and weight (Part $\mathrm{(b)(i)}$)
• Topic $1.5.1$ — Effects of forces (Parts $\mathrm{(b)(i)}$, $\mathrm{(b)(ii)}$)
▶️ Answer/Explanation
(a)(i)
For the correct answer:
Racing car X, because it has a steeper slope / larger gradient.
On a speed-time graph, the gradient (or slope) of the line represents the acceleration of the object. Between $t = 2\text{ s}$ and $t = 4\text{ s}$, the graph line for racing car X is visibly steeper than the line for racing car Y. This indicates a higher rate of change of speed, meaning car X is accelerating at a greater rate.
(a)(ii)
For the correct answer:
$24\text{ m/s}$
To find the speed of car Y at a specific time, locate $10\text{ s}$ on the horizontal time axis and move vertically to intersect the dashed line representing car Y. Reading the corresponding horizontal value on the y-axis gives $24\text{ m/s}$. During this section of the graph, the line is perfectly horizontal, showing that the car has reached a constant speed.
(a)(iii)
For the correct calculated value:
$44\text{ m}$
The distance travelled by an object is equivalent to the area under its speed-time graph. For car X, from $t = 0\text{ s}$ to $t = 4.0\text{ s}$, the shape under the graph is a triangle. Using the formula $\text{Area} = \frac{1}{2} \times \text{base} \times \text{height}$, we substitute the values to get $\frac{1}{2} \times 4.0\text{ s} \times 22\text{ m/s} = 44\text{ m}$.
(b)(i)
For the correct answers:
Force $C$ – Weight OR (force of) gravity OR gravitational pull
Force $D$ – (air) resistance / drag / friction
Force $C$ is directed vertically downwards towards the centre of the Earth, which corresponds to the weight of the racing car acting through its centre of gravity. Force $D$ acts horizontally in the opposite direction to the car’s motion, representing the resistive forces such as air resistance (drag) or friction between the tyres and the track.
(b)(ii)
For the correct answer:
Any value strictly less than $2800\text{ N}$ (e.g., $2500\text{ N}$).
Because the racing car is decelerating, there must be a resultant force acting in the opposite direction to its movement. This means the backward resistive force $D$ must be greater in magnitude than the forward driving force $B$. Since force $D$ is $2800\text{ N}$, the driving force $B$ must be any value smaller than $2800\text{ N}$ to create this net deceleration.
Question 2

(b) The machine lifts the heavy hammer through $0.72\text{ m}$ vertically.
Calculate the work done by the machine in lifting the heavy hammer. Include the unit.
(c) The heavy hammer falls onto the metal rod and pushes it into the ground.
Describe the energy transfers from the heavy hammer to the metal rod.
Your answer should refer to energy stores as well as transfers between energy stores.
Most-appropriate topic codes (Cambridge IGCSE Physics 0625):
• Topic $1.3$ — Mass and weight (Part $\mathrm{(a)}$)
• Topic $1.7.2$ — Work (Part $\mathrm{(b)}$)
• Topic $1.7.1$ — Energy (Part $\mathrm{(c)}$)
▶️ Answer/Explanation
(a)
For the correct answer:
$2600\text{ kg}$
To find the mass, we use the relationship between weight, mass, and gravitational field strength: $W = mg$. Rearranging this formula to solve for mass gives $m = \frac{W}{g}$. Using the given weight $W = 25000\text{ N}$ and the standard acceleration of free fall $g = 9.8\text{ m/s}^2$, we calculate $m = \frac{25000}{9.8} \approx 2551\text{ kg}$. Rounding this to two significant figures yields $2600\text{ kg}$.
(b)
For the correct answer:
$18000\text{ J}$ (OR $\text{joule}$)
The work done by a force is calculated using the equation $W = Fd$, where $F$ is the applied force and $d$ is the distance moved in the direction of the force. The upward force needed to lift the hammer equals its weight, so $F = 25000\text{ N}$. The vertical distance moved is $d = 0.72\text{ m}$. Substituting these values gives $W = 25000 \times 0.72 = 18000$. The standard unit for work done is the joule ($\text{J}$).
(c)
For the correct answer:
Energy initially in the gravitational potential energy store of the heavy hammer is mechanically transferred to the kinetic energy store of the metal rod, the internal (thermal) energy store of the ground, and as sound.
Before the hammer falls, it holds energy in its gravitational potential energy store. As the hammer strikes the rod, work is done mechanically to transfer this energy into the kinetic energy store of the metal rod, moving it downwards. During this impact, energy is also transferred to the internal (thermal) energy store of the ground due to friction, and some energy is dissipated to the surroundings as sound waves.
Question 3


Most-appropriate topic codes (Cambridge IGCSE Physics 0625):
• Topic 1.5.2 — Turning effect of forces (Part (a))
• Topic 1.8 — Pressure (Part (b))
▶️ Answer/Explanation
(a)
For the correct answer:
3.1 N
According to the principle of moments, for an object in equilibrium, the total anticlockwise moment about a pivot equals the total clockwise moment. The anticlockwise moment is produced by the 1.5 N load, calculated as $1.5 \times 0.44 = 0.66$ N m. The clockwise moment is produced by the weight $W$, given by $W \times 0.21$. Equating these gives $0.66 = W \times 0.21$. Rearranging for $W$ yields $W = \frac{0.66}{0.21} \approx 3.1$ N.
(b)
For the correct answer:
9200 N/m²
Pressure is defined as the force applied per unit area. The force exerted on the ground is the weight of the block, which is 890 N. The contact area with the ground is a rectangle with dimensions 0.54 m and 0.18 m, so the area $A = 0.54 \times 0.18 = 0.0972$ m². Using the equation $p = \frac{F}{A}$, we substitute the values to get $p = \frac{890}{0.0972} \approx 9156$ N/m². Rounding to two significant figures, this gives 9200 N/m².
Question 4
(b) (i) State the value, in degrees Celsius, of the lowest possible temperature.
Most-appropriate topic codes (Cambridge IGCSE Physics 0625):
• Topic $2.1.2$ — Particle model (Parts $\mathrm{(a)(i)}$, $\mathrm{(a)(ii)}$, $\mathrm{(a)(iii)}$, $\mathrm{(b)(i)}$, $\mathrm{(b)(ii)}$)
• Topic $2.1.3$ — Gases and the absolute scale of temperature (Part $\mathrm{(a)(iv)}$)
▶️ Answer/Explanation
(a)(i)
For the correct answer:
random
In a gas, particles have high kinetic energy and move freely in all directions at varying high speeds. This continuous, unpredictable motion is scientifically described as random motion.
(a)(ii)
For the correct answer:
weak / small / negligible
The particles in a gas are spread far apart compared to their physical size. Because of this large separation distance, the intermolecular forces of attraction between the gas particles are extremely weak or practically negligible.
(a)(iii)
For the correct answer:
collide
Gas particles are in constant motion and frequently collide with the inner walls of their container. Each collision exerts a small force on the surface area, and the combined effect of these countless microscopic collisions results in macroscopic gas pressure.
(a)(iv)
For the correct answer:
decreases
When the temperature of a gas drops, the average kinetic energy of its particles decreases. Consequently, the particles move slower, colliding with the container walls less frequently and with less impact force, leading to an overall decrease in pressure.
(b)(i)
For the correct answer:
$-273$
The lowest possible temperature is the theoretical point at which the particles of a substance have the minimum possible kinetic energy. On the Celsius scale, this value is exactly $-273 \ ^{\circ}\text{C}$.
(b)(ii)
For the correct answer:
absolute zero
This theoretical lowest limit of temperature, where all thermal motion of particles effectively ceases, is known as absolute zero. It establishes the starting point, or $0\text{ K}$, on the Kelvin thermodynamic temperature scale.
Question 5
(a) A teacher produces a water wave in a ripple tank.
The wavelength of the water wave is $1.2\text{ cm}$.
The speed of the water wave is $18\text{ cm/s}$.
Calculate the frequency of the water wave.

(ii) A ray of white light replaces the ray of red light, as shown in Fig. 5.2. The ray of white light splits into different colours.

Draw on Fig. 5.2 to show the dispersion of white light to produce a coloured spectrum on a screen. Label the red and violet (purple) parts of the spectrum.
Most-appropriate topic codes (Cambridge IGCSE Physics 0625):
• Topic $3.1$ — General properties of waves (Part $\mathrm{(a)}$)
• Topic $3.2.2$ — Refraction of light (Part $\mathrm{(b)(i)}$)
• Topic $3.2.4$ — Dispersion of light (Part $\mathrm{(b)(ii)}$)
▶️ Answer/Explanation
(a)
For the correct answer:
$15\text{ Hz}$
Using the wave equation $v = f\lambda$, where $v$ is the wave speed and $\lambda$ is the wavelength. Rearranging the formula to solve for frequency gives $f = \frac{v}{\lambda}$. Substituting the given values, we calculate $f = \frac{18\text{ cm/s}}{1.2\text{ cm}} = 15\text{ Hz}$.
(b)(i)
For the correct answer:
Refraction
As the ray of red light passes from air into the glass prism, and then from the glass back into the air, it changes speed due to the change in optical density between the two mediums. This change in speed causes the light ray to change direction and bend at the boundaries, a process known as refraction.
(b)(ii)
For the correct answer:
Dispersion shown at the air-glass boundary with rays continuing to the screen. Red must be labeled at the top and violet/purple at the bottom.
To accurately show dispersion, the drawing should feature the single ray of white light splitting into multiple rays (forming a diverging beam) starting at the first boundary and widening further at the second. The top ray hitting the screen must be labeled red, because red light has the lowest frequency and is refracted the least. The bottom ray must be labeled violet, as it has the highest frequency and is refracted the most.
Question 6


Most-appropriate topic codes (Cambridge IGCSE Physics 0625):
• Topic $2.3.3$ — Radiation (Parts $\mathrm{(a)(i)}$, $\mathrm{(a)(ii)}$)
• Topic $2.3.2$ — Convection (Part $\mathrm{(b)}$)
▶️ Answer/Explanation
(a)(i)
For the correct answer:
dull / black better / best emitter / radiator of infrared (radiation)
Thermometer X is positioned near the dull black surface, while thermometer Y is near the shiny white surface. Dull black surfaces are significantly better emitters of infrared radiation compared to shiny white surfaces. As the hot water transfers thermal energy to the bottle’s exterior, the black side emits a greater amount of infrared radiation towards thermometer X. Consequently, thermometer X absorbs more thermal energy, resulting in a higher temperature reading than thermometer Y.
(a)(ii)
For the correct answer:
$20 < \text{value} < 24\ (^\circ\text{C})$ e.g. $21$ OR $22$ OR $23$ OR $20.5$ etc.
Because the shiny white surface is a poor emitter of infrared radiation, thermometer Y receives much less thermal energy than thermometer X, meaning its reading must be strictly lower than $24^\circ\text{C}$. However, the bottle still emits some thermal radiation that warms the nearby environment above the initial room temperature of $20^\circ\text{C}$. Therefore, a reasonable estimate for thermometer Y would be any intermediate value, such as $22^\circ\text{C}$.
(b)
For the correct answer:
place crystals at bottom of (glass) beaker
any two from: (pour) water into (glass) beaker, place beaker on tripod, heat water / beaker with candle
observe motion of coloured water / crystals
To effectively demonstrate convection, the student should first place the coloured crystals at the bottom of the glass beaker and carefully pour water over them to avoid immediate mixing. Next, the beaker is placed onto the tripod, and the lit candle is positioned directly underneath to provide a heat source. As the water at the bottom warms up, it expands, becomes less dense, and rises to the top, carrying the dissolved coloured dye with it. The student can then visually observe the convection currents as the warmer coloured water rises and the cooler, denser water sinks back down to be heated.
Question 7


A scientist in an observatory sends a ray of red light from the observatory to the reflector on the Moon, as shown in Fig. 7.1.
The ray takes a total time of 2.5 s to travel from the observatory to the reflector and back to the observatory. The speed of light is $3.0\times10^{8}$ m/s.
Calculate the distance between the observatory and the reflector.
Most-appropriate topic codes (Cambridge IGCSE Physics 0625):
• Topic 3.1 — General properties of waves (Part (a))
• Topic 3.3 — Electromagnetic spectrum (Parts (a), (b), (c))
• Topic 1.2 — Motion (Part (b))
▶️ Answer/Explanation
(a)
For the correct ticks:

Explanation: Sound waves are mechanical waves that require a medium to travel, propagating as longitudinal waves where particle vibration is parallel to the wave direction. Microwaves belong to the electromagnetic spectrum. As electromagnetic waves, they are transverse, consist of oscillating electric and magnetic fields, and can travel through a vacuum at the speed of light.
(b)
For the correct calculated value:
$3.8\times10^{8}$ m
Explanation: The ray of light travels from the Earth to the Moon and reflects back, meaning the total time of 2.5 s represents a round trip. To find the one-way distance, we use the one-way time $t = 1.25$ s. Using the constant speed equation $s = v \times t$, we calculate $s = (3.0\times10^{8}) \times 1.25$. This gives $3.75\times10^{8}$ m, which rounds to $3.8\times10^{8}$ m.
(c) (i)
For one correct use:
security marking OR detecting fake bank notes OR sterilising water OR fluorescent effects
Explanation: Ultraviolet (UV) rays carry enough energy to excite certain materials, making them highly useful for security markings or detecting fake bank notes via fluorescence. They also have sufficient energy to destroy microorganisms, making them highly effective for sterilising water.
(c) (ii)
For one correct harmful effect:
damage to surface cells / skin / eyes OR damage to genes / DNA OR skin cancer
Explanation: Because of its higher frequency and energy compared to visible light, excessive exposure to ultraviolet radiation can cause significant cellular damage. It can ionize molecules, leading to surface cell destruction, serious eye conditions, or mutations in DNA that may eventually result in skin cancer.
Question 8



Most-appropriate topic codes (Cambridge IGCSE Physics 0625):
• Topic $4.4$ — Electrical safety (Part $\mathrm{(a)}$)
• Topic $4.3.1$ — Circuit diagrams and circuit components (Part $\mathrm{(b)}$)
• Topic $4.2.5$ — Electrical energy and electrical power (Part $\mathrm{(c)}$)
▶️ Answer/Explanation
(a)
For the correct answer:
Reduces risk of electric shock/electrocution OR reference to damp conditions.
Bathrooms are inherently damp environments where moisture can easily accumulate on hands and surfaces. Because water is an effective conductor of electricity, touching a standard push switch with wet hands significantly increases the hazard of an electric shock. A pull cord is typically constructed from an insulating material like string or nylon, which safely prevents any electrical current from reaching the user.
(b)
For the correct answer:
Component $X$: fuse
Component $Y$: motor
Component $X$ is represented by a rectangle with a continuous straight line passing through it, which is the universally recognized electrical symbol for a fuse used to protect circuits from dangerous overcurrents. Component $Y$ is depicted as a circle containing the letter $\text{M}$, which is the standard symbol for an electric motor that drives the heater’s fan.
(c)
For the correct calculated value:
$8.7\text{ A}$
The current can be calculated using the formula linking electrical power, current, and voltage: $P = IV$. Rearranging this fundamental equation to solve for current yields $I = \frac{P}{V}$. By substituting the specifications provided on the label, $P = 2000\text{ W}$ and $V = 230\text{ V}$, we calculate $I = \frac{2000}{230}$. This results in a current value of approximately $8.695\text{ A}$, which correctly rounds up to $8.7\text{ A}$.
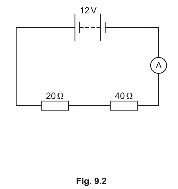
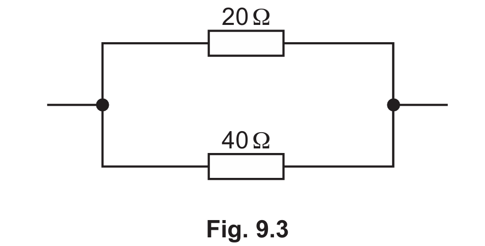
Question 9


(ii) A student uses a voltmeter to measure the potential difference across the 20 Ω resistor.
Draw on Fig. 9.2 to show how the student connects the voltmeter. Use the correct circuit symbol for the voltmeter.

Most-appropriate topic codes (Cambridge IGCSE Physics 0625):
• Topic 4.3.2 — Series and parallel circuits (Parts (a), (c))
• Topic 4.2.4 — Resistance (Part (b)(i))
• Topic 4.3.1 — Circuit diagrams and circuit components (Part (b)(ii))
▶️ Answer/Explanation
(a)
For the correct answer:
60 Ω
Explanation: For components connected in series, the total combined resistance is simply the arithmetic sum of the individual resistances. Using the series circuit formula $R_{\text{total}} = R_1 + R_2$, we substitute the given resistor values. Adding 20 Ω and 40 Ω gives a total combined resistance of 60 Ω.
(b)(i)
For the correct answer:
4.0 V
Explanation: The potential difference across a specific electrical component can be calculated using Ohm’s Law, defined by the equation $V = I \times R$. The current flowing through the series circuit is provided as 0.20 A, and the resistance of the target resistor is 20 Ω. Substituting these values into the formula yields $V = 0.20 \times 20$, resulting in 4.0 V.
(b)(ii)
For the correct answer:
Correct circuit symbol for voltmeter (a circle with a ‘V’ inside) connected in parallel across the 20 Ω resistor.
Explanation: A voltmeter is designed to measure the potential difference between two nodes in an electrical circuit. To accurately measure the voltage drop across a single component without disrupting the main current flow, the voltmeter must always be connected in parallel. Therefore, the ‘V’ symbol should be drawn on a new branch looping around the 20 Ω resistor.
(c)
For the correct answer:
Any value between 0 Ω and 20 Ω (e.g., 13.3 Ω)
Explanation: When two or more resistors are arranged in a parallel configuration, the total combined resistance of the circuit decreases. Specifically, the equivalent resistance is always strictly less than the resistance of the smallest individual resistor in any of the branches. Since the smallest resistor in this arrangement is 20 Ω, any valid suggestion must be greater than 0 Ω and less than 20 Ω.
Question 10
Most-appropriate topic codes (Cambridge IGCSE Physics 0625):
• Topic 5.1.2 — The nucleus (Parts (a)(i), (a)(ii))
• Topic 5.2.4 — Half-life (Part (b))
• Topic 5.2.1 — Detection of radioactivity (Part (c))
▶️ Answer/Explanation
(a)(i)
For the correct answer:
86
In standard nuclide notation $^{A}_{Z}\text{X}$, the bottom number $Z$ represents the proton number (or atomic number). For radon-222, this lower value is explicitly given as 86. Therefore, the nucleus of a radon-222 atom contains exactly 86 protons.
(a)(ii)
For the correct answer:
136
The top number $A$ in the nuclide notation represents the nucleon number (mass number), which is the total sum of protons and neutrons in the nucleus. To determine the number of neutrons, you subtract the proton number from the nucleon number using the formula $A – Z$. Calculating $222 – 86$ yields 136 neutrons.
(b)
For the correct answer:
3.8 days
First, determine the number of half-lives required for the sample to decay from 60 mg down to 7.5 mg. The halving sequence is 60 → 30 → 15 → 7.5, which means 3 complete half-lives have elapsed. Since 3 half-lives take a total of 11.5 days, a single half-life is found by evaluating $11.5 \div 3$, which gives approximately 3.83 days (or 3.8 days when rounded).
(c)
For the correct answer (any two from):
Rocks, buildings, food, drink, cosmic (rays).
Background radiation is the continuous, low-level ionising radiation present in our environment. Beyond radon gas in the air, significant natural contributions include cosmic rays penetrating the atmosphere from space, as well as naturally occurring radioactive isotopes found in rocks, building materials, and trace amounts within the food and water we consume daily.
Question 11

State the name of one of the other two regions.
State one piece of evidence that supports the Big Bang Theory.
Complete the following sentences about the accretion model.
In space, there are clouds of dust and …………….. .
The material spins around and moves closer together due to the force of …………….. .
This forms an accretion …………….. .
Most-appropriate topic codes (Cambridge IGCSE Physics 0625):
• Topic $6.1.2$ — The Solar System (Parts $\mathrm{(a)}$, $\mathrm{(c)(ii)}$)
• Topic $6.2.1$ — The Sun as a star (Parts $\mathrm{(b)(i)}$, $\mathrm{(b)(ii)}$)
• Topic $6.2.3$ — The Universe (Part $\mathrm{(c)(i)}$)
▶️ Answer/Explanation
(a)
For the correct answer:
Venus, Mars, Jupiter.
The eight planets orbit the Sun in a specific order: Mercury, Venus, Earth, Mars, Jupiter, Saturn, Uranus, and Neptune. The first missing label points to the $2^{\text{nd}}$ planet, which is Venus. The second missing label points to the $4^{\text{th}}$ planet, Mars. The final missing label points to the $5^{\text{th}}$ planet, Jupiter.
(b)(i)
For the correct answer:
hydrogen, helium
The Sun is a medium-sized star composed primarily of light elements. During its stable main-sequence phase, the solar mass consists mostly of hydrogen and helium. These elements are essential for the nuclear fusion reactions that occur in the Sun’s core.
(b)(ii)
For the correct answer:
visible light OR infrared
The energy released by nuclear fusion in the Sun’s core is radiated out into space across the electromagnetic spectrum. The vast majority of this radiated energy is concentrated in three specific regions: the infrared, visible light, and ultraviolet regions. Providing either visible light or infrared is acceptable.
(c)(i)
For the correct answer:
redshift
When astronomers observe the light emitted from distant galaxies, the wavelengths appear stretched compared to the light emitted on Earth, which is known as redshift. This observed redshift indicates that galaxies are rapidly moving away from us. This provides strong evidence that the Universe is expanding, a core principle of the Big Bang Theory.
(c)(ii)
For the correct answer:
gas(es), gravity, disc
According to the accretion model, the Solar System formed from a massive interstellar cloud containing dust and gas. The mutual gravitational attraction between these particles caused the cloud to collapse and move closer together. As it contracted, the material began to spin, eventually flattening into a rotating accretion disc from which the Sun and planets accreted.
