Question 1

Then he walks to his friend’s house and stops there for 50 minutes.
Then he walks back to his home without stopping.
Most-appropriate topic codes (Cambridge IGCSE Physics 0625):
• Topic 1.2 — Motion (Parts (a)(i), (a)(ii), (b), (c))
▶️ Answer/Explanation
(a)(i) 1400 m
The graph shows the student’s total distance from home reaches a maximum of 1400 m at the friend’s house before returning. This maximum value on the vertical axis corresponds to the distance between home and the friend’s house.
(a)(ii) 800 m
The distance from home to the shop is read from the graph as 600 m. Since the total distance to the friend’s house is 1400 m, the distance between the shop and the friend’s house is the difference: 1400 m – 600 m = 800 m.
(b) 45 min
The student walks during three intervals: home to shop (10 min), shop to friend’s house (15 min), and friend’s house back home (20 min). Summing these walking periods gives 10 + 15 + 20 = 45 min. The 50 min stop is not included as walking time.
(c) 1.2 m/s
Walking back covers 1400 m in 20 min. First convert time to seconds: 20 × 60 = 1200 s. Then apply the average speed equation: $v = \frac{s}{t} = \frac{1400\text{ m}}{1200\text{ s}} = 1.17\text{ m/s}$, which rounds to 1.2 m/s to two significant figures.
Question 2
A student wants to measure the diameter of a wire. The wire is thinner than a single gradation on her ruler. She coils the wire carefully and makes 12 loops as shown in Fig. 2.1.

(a) Describe how she can use her ruler to determine the diameter of the wire accurately.
You may draw on Fig. 2.1 as part of your answer.
(b) The student determines the density of the metal of the wire.
She folds some of the wire into a small shape as shown in Fig. 2.2.

She then puts this small shape of wire into a measuring cylinder containing water. The measuring cylinder is on an electric balance.
This procedure is shown in Fig. 2.3.

Using the information in Fig. 2.3, calculate:
(i) the mass of the wire
(ii) the volume of the wire.
(c) The mass of a different wire is 64 g. The volume of this wire is 7.2 \(cm^{3}\).
Using this information, calculate the density of this wire.
Most-appropriate topic codes (Cambridge IGCSE Physics 0625):
• Topic 1.1 — Physical quantities and measurement techniques (Parts (a), (b)(i), (b)(ii))
• Topic 1.4 — Density (Part (c))
▶️ Answer/Explanation
(a)
For the correct answer:
measure the width of n loops with rule
n = 10 or more loops
(diameter of one loop) = total width ÷ n if n > 1
To measure a very small length like a wire diameter, measure the total width of multiple turns (e.g., 10 or 12) of the wire wound closely together, and then divide this total width by the number of turns to find the average diameter of a single wire.
(b)(i)
For the correct answer:
45 g
The mass of the wire is found by subtracting the initial mass of the measuring cylinder with water (205 g) from the final mass after the wire is added (250 g). This gives $250\text{ g} – 205\text{ g} = 45\text{ g}$.
(b)(ii)
For the correct answer:
5.0\(cm^{3}\)
32 – 27
The volume of the wire is determined by the water displacement method. The volume is the difference between the final water level ($32\text{ cm}^3$) and the initial water level ($27\text{ cm}^3$), resulting in $5.0\text{ cm}^3$.
(c)
For the correct answer:
8.9 (g /\(cm^{3}\))
64 ÷ 7.2
density = mass ÷ volume OR ρ = m ÷ V
Density is defined as mass per unit volume. Using the formula $\rho = \frac{m}{V}$ with the given values for the second wire, $\rho = \frac{64\text{ g}}{7.2\text{ cm}^3} = 8.88…\text{ g/cm}^3$, which is rounded to 8.9 g/cm³.
Question 3
A car has a fault. A mechanic uses a machine to pull the car onto a recovery vehicle as shown in Fig. 3.1.

(a) Fig. 3.2 shows how the mechanic applies a force to the handle of the machine.

(i) Calculate the moment of the 26 N force about the pivot. Use the information in Fig. 3.2.
(ii) Describe one way the mechanic can increase the moment of the 26 N force about the pivot.
(b) The car is lifted vertically 0.78 m onto the recovery vehicle, as shown in Fig. 3.3.

The weight of the car is 14,000 N.
Calculate the minimum work done on the car in lifting it onto the recovery vehicle from the ground.
Include the unit.
Most-appropriate topic codes (Cambridge IGCSE Physics 0625):
• Topic 1.5.2 — Turning effect of forces (Parts (a)(i), (a)(ii))
• Topic 1.7.2 — Work (Part (b))
▶️ Answer/Explanation
(a)(i)
For the correct answer:
24 N m
The moment of a force is calculated using moment = force × perpendicular distance from the pivot. From Fig. 3.2, the perpendicular distance is $0.94\text{ m}$ and the force is $26\text{ N}$. Substituting these values gives $26 \times 0.94 = 24.44\text{ N m}$, which rounds to $24\text{ N m}$ (two significant figures).
(a)(ii)
For the correct answer:
Increase the distance between the pivot and the force OR apply the force at the end of the handle.
The moment can be increased by increasing the perpendicular distance from the pivot to the line of action of the force. This can be achieved by applying the force further from the pivot, such as at the very end of the handle.
(b)
For the correct answer:
11 000 J
Work done is calculated using work = force × distance moved in the direction of the force. Here, the force is the weight of the car ($14,000\text{ N}$) and the distance is the vertical lift ($0.78\text{ m}$). The calculation is $14,000 \times 0.78 = 10,920\text{ J}$, which rounds to $11,000\text{ J}$.
Question 4
(a) Energy stored in the water behind hydroelectric dams is an example of a renewable energy source.
(i) State what is meant by a renewable energy source.
(ii) State the name of one other renewable energy source.
(b) Electrical power is generated from the energy store in nuclear fuels.
Fig. 4.1 shows an energy flow diagram for transferring energy from the nuclear store.

Using the information in Fig. 4.1, calculate:
(i) the percentage of energy wasted to thermal and kinetic energy stores
(ii) the percentage of energy transferred as electrical working.
(c) Electrical power is also generated from the water behind hydroelectric dams.
State two disadvantages of generating electricity from the water behind hydroelectric dams compared with using the energy store in nuclear fuels. Ignore costs of construction and maintenance.
Most-appropriate topic codes (Cambridge IGCSE Physics 0625):
• Topic 1.7.3 — Energy resources (Parts (a)(i), (a)(ii), (c))
• Topic 1.7.1 — Energy (Parts (b)(i), (b)(ii))
▶️ Answer/Explanation
(a)(i)
doesn’t get depleted / continuously replenished / does not run out owtte
A renewable energy source is one that is naturally restored at a rate equal to or greater than its rate of consumption, ensuring it is not permanently diminished over time.
(a)(ii)
(energy stored in) biofuels / tides / water waves / wind / geothermal / the Sun / solar
Other examples of renewable energy sources harness natural processes, such as the kinetic energy of wind, the thermal energy from the Earth’s interior, or solar radiation.
(b)(i)
65
The energy flow diagram shows 100 units of nuclear energy input. The useful electrical energy output is 35 units. The wasted energy is the difference (100 − 35 = 65), which is transferred to thermal and kinetic energy stores, representing 65%.
(b)(ii)
35
Efficiency is the ratio of useful energy output to total energy input. The diagram indicates that 35 out of every 100 units of nuclear energy are transferred as electrical working, giving an efficiency of 35%.
(c)
any two from:
• depends on rainfall / drought
• needs deep valleys / high hills owtte
• relocation of community
• disrupts habitats
• disrupts community downstream
Hydroelectric power relies on consistent water flow, making it vulnerable to climatic variations like drought. The construction of dams can also lead to significant ecological and social consequences, including the flooding of large areas which destroys habitats and displaces communities.
Question 5
A sealed glass bottle contains air.
The temperature of the air is 21 °C.
(a) Calculate the temperature of the air in kelvin.
(b) The temperature of the air in the bottle decreases to 14 °C.
State and explain what happens to the pressure inside the bottle. Use your ideas about gas particles.
Most-appropriate topic codes (Cambridge IGCSE Physics 0625):
• Topic 2.1.3 — Gases and the absolute scale of temperature (Parts (a), (b))
▶️ Answer/Explanation
(a)
For the correct answer:
294 K
To convert a temperature from degrees Celsius to kelvin, use the equation $T(\text{in K}) = \theta (\text{in } ^\circ\text{C}) + 273$. For an air temperature of $21 ^\circ\text{C}$, the calculation is $21 + 273 = 294\text{ K}$.
(b)
For the correct answer:
• low(er) pressure
any three from:
• slow(er) particles or particles have less Kinetic Energy OR less energy in the kinetic store
• less frequent collisions (with inside of bottle)
• (collide with) less force
• pressure = force / area OR p = F ÷ A
A decrease in temperature reduces the average kinetic energy of the air particles, causing them to move more slowly. This results in fewer collisions per second with the inner walls of the bottle, and each collision exerts a smaller force. Since pressure is the force exerted per unit area, the overall pressure inside the sealed bottle decreases.
Question 6

Use your ideas about the density of air. You may draw on Fig. 6.1 as part of your answer.
Explain how the dull black surface helps to warm the cabin.
(ii) There is shiny foil on the wall.
Explain how the shiny foil helps to warm the cabin.
Most-appropriate topic codes (Cambridge IGCSE Physics 0625):
• Topic 2.3.2 — Convection (Part (a))
• Topic 2.3.3 — Radiation (Parts (b)(i), (b)(ii))
▶️ Answer/Explanation
(a)
For the correct answer:
(heated air) expands
(becomes) less dense
less dense air rises OR denser air sinks
Air heated by the wood burner expands and becomes less dense than the surrounding cooler air. This less dense, warmer air rises, while denser, cooler air sinks to replace it near the burner. This continuous circulation of air, known as a convection current, transfers thermal energy throughout the cabin, warming the space.
(b)(i)
For the correct answer:
(dull black is) best / better / good emitter owtte of radiation / infrared
Dull, black surfaces are excellent emitters of thermal radiation (infrared). The chimney efficiently radiates heat energy from the hot gases inside it out into the room, warming the cabin air and surfaces directly.
(b)(ii)
For the correct answer:
(shiny foil is) best / better / good reflector of radiation / infrared
Shiny, light-coloured surfaces are poor emitters but very good reflectors of thermal radiation. The foil reflects infrared radiation emitted from the wood burner and chimney back into the cabin, preventing it from being absorbed and lost through the wall.
Question 7
State the name of this type of wave.
The wavefronts move from left to right until they reach a barrier. They are diffracted at a gap in the barrier.

(i) draw three wavefronts to the right of the barrier
(ii) indicate and label one wavelength.
The speed of the wave is 38 cm / s.
Determine the frequency of the wave.
Most-appropriate topic codes (Cambridge IGCSE Physics 0625):
• Topic 3.1 — General properties of waves (Parts (a), (b)(i), (b)(ii), (c))
▶️ Answer/Explanation
(a)
For the correct answer:
longitudinal
In a longitudinal wave, the particles of the medium vibrate back and forth along the same line that the wave energy travels. This is in contrast to a transverse wave, where the vibration is at a right angle to the direction of propagation.
(b)(i)
For the correct answer:
(at least) 3 semi-circular wavefronts after gap showing diffraction wavefronts with same wavelength as before gap
When plane waves pass through a gap in a barrier, they spread out into the region beyond the barrier. The wavefronts should be drawn as concentric arcs centred on the gap, maintaining the same spacing (wavelength) as the incident waves.
(b)(ii)
For the correct answer:
one wavelength drawn on diagram
A wavelength is the distance between two consecutive corresponding points on a wave, such as from crest to crest. This should be clearly indicated with a double-headed arrow or bracket and labelled ‘λ’ or ‘wavelength’.
(c)
For the correct answer:
$8.3\text{ Hz}$
The wave equation relates speed $v$, frequency $f$, and wavelength $\lambda$: $v = f\lambda$. Rearranging for frequency gives $f = \frac{v}{\lambda}$. Substituting the given values: $f = \frac{38\text{ cm/s}}{4.6\text{ cm}} = 8.26\text{ Hz}$. This is rounded to two significant figures, $8.3\text{ Hz}$.
Question 8
(a) Fig. 8.1 represents charges on an acetate strip and on a dry cloth.
Both the acetate strip and the dry cloth are electrically neutral.

The student charges the acetate strip by using the dry cloth. The acetate strip becomes positively charged.
Explain how the acetate strip becomes positively charged.
(b) The student brings the positively charged acetate strip close to another positively charged acetate strip. Fig. 8.2 shows this situation.

Describe and explain what happens when the two positively charged acetate strips are close to each other.
Most-appropriate topic codes (Cambridge IGCSE Physics 0625):
• Topic 4.2.1 — Electric charge (Parts (a), (b))
▶️ Answer/Explanation
(a)
For the correct answer:
friction OR rubbing (with cloth) owtte electrons / negative charges move / transfer from the acetate OR to the cloth
When the acetate strip is rubbed with the dry cloth, friction causes a transfer of charge. Electrons (negative charges) are transferred from the surface of the acetate strip to the cloth. Since the acetate loses electrons, it is left with a deficit of negative charge, making it positively charged.
(b)
For the correct answer:
(strips) repel / move away (from each other) owtte same charge (on both strips) / both / they have positive charge
When two positively charged objects are brought close together, they exert a force of repulsion on each other. This is because like charges repel according to the laws of electrostatics. Since both acetate strips have the same positive charge, they will move away from each other.
Question 9
(a) Fig. 9.1 represents part of a d.c. electric motor. The coil of wire rotates at a steady speed.

State two ways to make the coil rotate faster.
(b) Fig. 9.2 shows an electric fan.

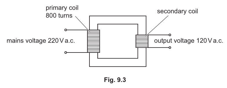
The electric motor for the fan requires 120 V a.c. The mains voltage is 220 V a.c.
A transformer steps down the mains voltage as shown in Fig. 9.3.

Calculate the number of turns on the secondary coil. Use the information in Fig. 9.3.
(c) A plug connects the transformer to the mains supply. There is a fuse in the plug.
Describe how a fuse works.
Most-appropriate topic codes (Cambridge IGCSE Physics 0625):
• Topic 4.5.5 — The d.c. motor (Part (a))
• Topic 4.5.6 — The transformer (Part (b))
• Topic 4.4 — Electrical safety (Part (c))
▶️ Answer/Explanation
(a)
For the correct answer:
any two from:
• increase (battery) voltage OR larger current in coil
• increase strength of magnet(ic) field OR strong(er) magnet
• increase number of turns (in coil)
The turning effect (torque) on the coil in a d.c. motor increases when either the current, the magnetic field strength, or the number of turns on the coil is increased. A larger current creates a stronger force on the wire, a stronger magnetic field exerts a greater force, and more turns means the force is multiplied across a longer length of wire, all resulting in faster rotation.
(b)
For the correct answer:
440 turns
Using the transformer equation $\frac{V_{\mathrm{p}}}{V_{\mathrm{s}}} = \frac{N_{\mathrm{p}}}{N_{\mathrm{s}}}$, where $V_{\mathrm{p}} = 220\, \mathrm{V}$, $V_{\mathrm{s}} = 120\, \mathrm{V}$, and $N_{\mathrm{p}} = 800$ turns. Rearranging for $N_{\mathrm{s}}$ gives $N_{\mathrm{s}} = N_{\mathrm{p}} \times \frac{V_{\mathrm{s}}}{V_{\mathrm{p}}} = 800 \times \frac{120}{220} \approx 436.36$. Rounding to the nearest whole number of turns yields $440$ turns (or $436$ depending on strict rounding). The calculation demonstrates the step-down relationship between primary and secondary coils.
(c)
For the correct answer:
any two from:
• large current (in fuse)
• (causes) fuse to melt
• isolating appliance from supply OR prevents/stops current in appliance
A fuse contains a thin metal wire designed to melt and break the circuit if the current exceeds a safe level. When a fault causes a large surge of current, the wire heats up rapidly due to its resistance, melts, and creates an open circuit. This disconnects the appliance from the mains supply, preventing overheating, damage to the appliance, or potential electrical fires.
Question 10
(a) (i) Name three types of nuclear emission from radioactive sources.
(ii) State the type of nuclear emission which has a relative charge of +2.
(iii) State the type of nuclear emission which is part of the electromagnetic spectrum.
(b) The isotope technetium-99m decays to technetium-99.
(i) The half-life of technetium-99m is 6 hours.
Determine the fraction of technetium-99m remaining in a sample after 18 hours.
(ii) The nuclide notation for technetium-99 is:
\(_{43}^{99}\textrm{Tc}\)
Complete the table below to show the number of each type of particle in a neutral atom of technetium-99.

Most-appropriate topic codes (Cambridge IGCSE Physics 0625):
• Topic 5.2.2 — The three types of nuclear emission (Parts (a)(i), (a)(ii), (a)(iii))
• Topic 5.2.4 — Half-life (Part (b)(i))
• Topic 5.1.1 — The atom (Part (b)(ii))
▶️ Answer/Explanation
(a)(i)
α (alpha), β (beta), γ (gamma)
(a)(ii)
α (alpha)
(a)(iii)
γ (gamma)
(b)(i)
\(\frac{1}{8}\) OR 0.125
After 18 hours, three half-lives have elapsed (18 ÷ 6 = 3). With each half-life, the amount of the isotope halves. Starting with 1, after 3 half-lives the remaining fraction is \((\frac{1}{2})^3 = \frac{1}{8}\).
(b)(ii)
The lower number (43) is the proton number, which equals the number of protons and, in a neutral atom, the number of electrons. The upper number (99) is the nucleon number. The number of neutrons is found by subtracting the proton number from the nucleon number: 99 – 43 = 56.
Question 11
(a) Fig. 11.1 represents part of the Solar System.

(i) State the name of planet X and the name of planet Y.
(ii) Mercury is nearer to the Sun than Jupiter is.
State two other ways in which Mercury is different from Jupiter.
(iii) Complete the sentences about the Solar System.
The accretion model states that the Solar System was formed from clouds of dust and …………………. .
The material of the Solar System was pulled together by …………………. .
The galaxy that includes the Solar System is called …………………. .
(b) Complete the following statements by adding the missing units.
(i) The Earth orbits the Sun in approximately 365 …………………. .
(ii) The Moon orbits the Earth in approximately one …………………. .
(iii) The diameter of the Milky Way is approximately 100 000 …………………. .
Most-appropriate topic codes (Cambridge IGCSE Physics 0625):
• Topic 6.1.2 — The Solar System (Parts (a)(i), (a)(ii), (a)(iii))
• Topic 6.1.1 — The Earth (Parts (b)(i), (b)(ii), (b)(iii))
▶️ Answer/Explanation
(a)(i)
planet X: Venus
planet Y: Uranus
(a)(ii)
1. Mercury rocky or Jupiter gaseous
2. Mercury small or Jupiter large
(a)(iii)
gases
(force of) gravity
the Milky Way
(b)(i)
days
(b)(ii)
month
(b)(iii)
light-years
Detailed solution:
Planet X is Venus, the second planet from the Sun, and planet Y is Uranus, the seventh planet. Mercury is a small, rocky terrestrial planet, whereas Jupiter is a large, gaseous giant planet composed mainly of hydrogen and helium. The Solar System formed from a rotating cloud of dust and gases pulled together by gravitational attraction, and this system resides within the Milky Way galaxy. The Earth takes approximately 365 days to orbit the Sun, the Moon takes about one month to orbit Earth, and galactic distances like the Milky Way’s diameter are measured in light-years.
