Question 1
(ii) In the list below, draw a line under each of the quantities that is a scalar quantity.
acceleration mass momentum electric field strength energy temperature
(i) Show that the initial velocity of the tennis ball is $9.9\text{ m/s}$ upwards.
(ii) Calculate the momentum of the tennis ball as it leaves the tennis player’s hand.
Most-appropriate topic codes (Cambridge IGCSE Physics 0625):
• Topic $1.1$ — Physical quantities and measurement techniques (Part $\mathrm{(a)}$)
• Topic $1.7.1$ — Energy (Part $\mathrm{(b)(i)}$)
• Topic $1.6$ — Momentum (Part $\mathrm{(b)(ii)}$)
▶️ Answer/Explanation
Part (a)
Correct Answer: (i) A scalar has magnitude only, whereas a vector has both magnitude and direction. (ii) Underlined: mass, energy, temperature.
Detailed solution: Physical quantities are classified based on their properties. A scalar quantity is fully described by its size (magnitude) alone, such as mass or time. A vector quantity requires both a magnitude and a specific direction to be complete, such as velocity or force. In the provided list, acceleration, momentum, and electric field strength are vectors because they act in specific directions, while mass, energy, and temperature do not.
Part (b)(i)
Correct Answer: $v = \sqrt{98} \approx 9.9\text{ m/s}$
Detailed solution: Using the principle of conservation of energy, the initial kinetic energy ($E_k$) equals the gravitational potential energy ($\Delta E_p$) at the maximum height: $\frac{1}{2}mv^2 = mgh$. The mass $m$ cancels out, leaving $v^2 = 2gh$. Substituting $g = 9.8\text{ m/s}^2$ and $h = 5.0\text{ m}$ gives $v^2 = 2 \times 9.8 \times 5.0 = 98$. Taking the square root, $v = \sqrt{98} = 9.899\text{ m/s}$, which rounds to $9.9\text{ m/s}$.
Part (b)(ii)
Correct Answer: $0.57\text{ kg m/s}$ (upwards)
Detailed solution: Momentum ($p$) is defined as the product of an object’s mass ($m$) and its velocity ($v$). Using the formula $p = mv$, we substitute the mass $5.8 \times 10^{-2}\text{ kg}$ and the initial velocity $9.9\text{ m/s}$. The calculation $0.058 \times 9.9$ results in $0.5742$, which is rounded to $0.57\text{ kg m/s}$. Since momentum is a vector, it shares the same upward direction as the initial velocity.
Question 2
(i) Calculate the resultant force acting on the truck.
(ii) The engine of the truck provides the forward force on the truck. State two forces acting on the truck in the opposite direction to the forward force.

(ii) A different car travels around the same track and slides off the track at point P. State two possible reasons that cause the car to slide off the track.
Most-appropriate topic codes (Cambridge IGCSE Physics 0625):
• Topic $1.2$ — Motion (Part $\mathrm{(a)(i)}$)
• Topic $1.5.1$ — Effects of forces (Parts $\mathrm{(a)(i)}$, $\mathrm{(a)(ii)}$, $\mathrm{(b)}$)
▶️ Answer/Explanation
(a)(i)
For the correct answer:
$7400\text{ N}$
First, calculate acceleration using $a = \frac{v – u}{t}$. Substituting the values, $a = \frac{22 – 13}{4.5} = \frac{9}{4.5} = 2.0\text{ m/s}^2$. Then, use Newton’s Second Law, $F = ma$, to find the resultant force. $F = 3700 \times 2.0 = 7400\text{ N}$.
(a)(ii)
For the correct answer:
Air resistance (or drag) and Friction between the tires and the road.
Resistive forces act in the opposite direction to motion. Air resistance is caused by the truck pushing through air, while friction occurs at the contact between tires and the road.
(b)(i)
For the correct answer:
An arrow drawn from the car pointing directly toward the center of the circular track.
For circular motion, a centripetal force is required. This force acts perpendicular to the direction of motion and is directed toward the center of the curvature.
(b)(ii)
For the correct answer:
Higher speed, less friction (e.g., icy or wet track), or larger mass.
Sliding occurs when the required centripetal force exceeds available friction. Higher speeds or slippery surfaces make it harder for the car to maintain its circular path.
Question 3

Most-appropriate topic codes (Cambridge IGCSE Physics 0625):
• Topic $2.3 .3$ — Radiation (Part $\mathrm{(a)}$)
• Topic $1.7 .3$ — Energy resources (Part $\mathrm{(b)}$)
• Topic $4.2 .2$ — Electric current (Parts $\mathrm{(c)}$, $\mathrm{(d)}$, $\mathrm{(e)}$)
▶️ Answer/Explanation
(a)
For the correct answer:
Black is a good absorber of radiation, leading to more electricity generation.
Dark, dull surfaces are significantly better absorbers of infrared radiation compared to light or shiny surfaces. By using black panels, the system absorbs a higher percentage of the incident solar energy and reflects less away.
(b)
For the correct calculated value:
$22\text{ kW}$ (or $22000\text{ W}$)
Efficiency is defined as $\text{Efficiency} = \frac{\text{Useful Power Output}}{\text{Total Power Input}}$. Rearranging for total input gives $\text{Input} = \frac{\text{Output}}{\text{Efficiency}}$. Substituting the values: $\text{Input} = \frac{3.5\text{ kW}}{0.16} = 21.875\text{ kW}$.
(c)
For the correct answer:
Alternating current reverses direction, while direct current flows in only one direction.
Direct current (d.c.) is characterized by a constant direction of charge flow. In contrast, alternating current (a.c.) periodically reverses its direction and changes its magnitude continuously with time.
(d)
For the correct answer:
Electricity can be used when there is no Sun (e.g., at night or during cloudy weather).
A rechargeable battery acts as an energy store, allowing the excess electricity produced during peak sunlight to be saved for later use, ensuring a reliable power supply during the night.
(e)
For the correct calculated value:
$29000\text{ C}$
Charge $Q$ is calculated using $Q = I \times t$. First, convert the time: $2.0\text{ hours} = 7200\text{ s}$. Then, $Q = 4.0\text{ A} \times 7200\text{ s} = 28800\text{ C}$, which rounds to $29000\text{ C}$ to two significant figures.
Question 4

Most-appropriate topic codes (Cambridge IGCSE Physics 0625):
• Topic $2.1 .3$ — Gases and the absolute scale of temperature (Part $\mathrm{a(i)}$)
• Topic $1.8$ — Pressure (Part $\mathrm{a(ii)}$)
• Topic $1.7 .2$ — Work (Part $\mathrm{a(iii)}$)
• Topic $2.1 .2$ — Particle model (Part $\mathrm{b}$)
▶️ Answer/Explanation
Correct Answer: $170\text{ cm}^3$
Detailed solution: Since the temperature is constant, we use Boyle’s Law: $p_1V_1 = p_2V_2$. Substituting the values: $(1.0 \times 10^5\text{ Pa}) \times (240\text{ cm}^3) = (1.4 \times 10^5\text{ Pa}) \times V_2$. Rearranging for $V_2$ gives $V_2 = \frac{1.0 \times 10^5 \times 240}{1.4 \times 10^5} \approx 171.4\text{ cm}^3$. Rounding to two significant figures as per the input data gives $170\text{ cm}^3$.
Correct Answer: $270\text{ N}$
Detailed solution: Force is calculated using the formula $F = p \times A$. We use the new pressure $p = 1.4 \times 10^5\text{ Pa}$ and the given area $A = 1.9 \times 10^{-3}\text{ m}^2$. Thus, $F = (1.4 \times 10^5\text{ Pa}) \times (1.9 \times 10^{-3}\text{ m}^2) = 266\text{ N}$. Rounding to two significant figures consistent with the precision of the provided values results in $270\text{ N}$.
Correct Answer: $7.9\text{ J}$ (Equation: $W = Fd$)
Detailed solution: Mechanical work done is defined as the product of the average force applied and the distance moved in the direction of the force: $W = Fd$. Using the average force $F = 220\text{ N}$ and distance $d = 0.036\text{ m}$, the calculation is $W = 220\text{ N} \times 0.036\text{ m} = 7.92\text{ J}$. This is expressed to two significant figures as $7.9\text{ J}$.
Detailed solution: In a gas, the particles are very far apart with large empty spaces between them, allowing them to be pushed closer together. In contrast, particles in a liquid are already touching or very close to each other with negligible space between them. Because liquid particles are packed tightly, there is no room for further compression under normal conditions.
Question 5
(i) Describe how evaporation from the puddle occurs. Use ideas about particles in your answer.
(ii) State and explain one change in the weather that causes a faster rate of evaporation.
Most-appropriate topic codes (Cambridge IGCSE Physics 0625):
• Topic $2.2.3$ — Melting, boiling and evaporation (Part $\mathrm{(a)}$)
• Topic $1.5.1$ — Effects of forces (Part $\mathrm{(b)}$)
▶️ Answer/Explanation
(a)(i)
For the correct answer:
Energetic particles escape from the surface of the liquid.
Evaporation occurs because particles within a liquid have a distribution of kinetic energies. The most energetic (fastest-moving) particles near the surface can overcome the attractive intermolecular forces exerted by neighboring particles. Once these high-energy particles break free, they escape into the air as a gas (vapor).
(a)(ii)
For the correct answer:
Increase in temperature (or increase in wind speed/Sun shining).
An increase in temperature provides the water particles with more thermal energy, which increases their average kinetic energy. This results in a higher proportion of particles having enough energy to escape the surface. Alternatively, wind increases the rate by blowing away the newly evaporated vapor.
(b)
For the correct answer:
Braking distance increases because friction decreases.
When the road is wet, a layer of water acts as a lubricant between the car tires and the road surface, significantly reducing the friction. Since the frictional force is responsible for decelerating the car, a lower friction force means the car travels a greater distance before coming to a complete stop.
Question 6

Most-appropriate topic codes (Cambridge IGCSE Physics 0625):
• Topic $3.1$ — General properties of waves (Parts $\mathrm{(a)(i)}$, $\mathrm{(a)(ii)}$)
• Topic $3.2.2$ — Refraction of light (Part $\mathrm{(b)(i)}$)
• Topic $3.3$ — Electromagnetic spectrum (Part $\mathrm{(b)(ii)}$)
▶️ Answer/Explanation
(a)(i)
For the correct answer:
Drawing of refracted wavefronts joined at the boundary, with a smaller wavelength and smaller angle to the boundary.
When a wave enters a region where its speed decreases, the frequency remains constant, so according to $v = f\lambda$, the wavelength $\lambda$ must also decrease. The crests in region B should be closer together than in region A. Furthermore, the waves change direction and “bend” toward the normal, meaning the angle between the wavefront and the boundary becomes smaller than the original angle.
(a)(ii)
For the correct answer:
Refraction
Refraction is the change in direction of a wave passed from one medium to another, caused by its change in speed. In this scenario, the water waves slow down as they cross into region B, which causes the observed change in the angle of the wavefronts and the shortening of the distance between crests.
(b)(i)
For the correct answer:
1. Light must travel from a more dense to a less dense medium.
2. The angle of incidence must be greater than the critical angle $c$.
For total internal reflection (TIR) to occur, the light must be inside a medium with a higher refractive index $n$ and attempting to enter one with a lower $n$. Additionally, the angle of incidence $i$ at the boundary must exceed the specific critical angle $c$ for that material pair, which is defined by the relationship $n = \frac{1}{\sin c}$.
(b)(ii)
For the correct answer:
Any two: Higher data transmission rates, less signal/data loss, or increased security/range.
Optical fibres are superior to traditional copper wires for broadband because visible light and short-wavelength infrared radiation can carry much higher rates of data. They also benefit from low signal attenuation (loss), allowing for longer transmission distances.
Question 7
(i) Calculate the current in the $800\text{ }\Omega$ lamp.
(ii) Calculate the energy used by the $800\text{ }\Omega$ lamp in $5.0$ hours. Give your answer in $\text{kWh}$.
(iii) Calculate the combined resistance of the two lamps in this circuit.
Most-appropriate topic codes (Cambridge IGCSE Physics 0625):
• Topic $4.3 .1$ — Circuit diagrams and circuit components (Part $\mathrm{(a)}$)
• Topic $4.2 .4$ — Resistance (Part $\mathrm{(b)(i)}$)
• Topic $4.2 .5$ — Electrical energy and electrical power (Part $\mathrm{(b)(ii)}$)
• Topic $4.3 .2$ — Series and parallel circuits (Part $\mathrm{(b)(iii)}$)
▶️ Answer/Explanation
(a)
For the correct answer:
A circuit diagram with an a.c. source symbol (circle with a sine wave) connected to two lamp symbols (circle with an X) arranged in parallel branches.
To draw the diagram, start with the standard symbol for an a.c. power supply. From the supply, the wires must split into two separate branches, each containing one lamp, before joining back together to return to the source. This parallel arrangement ensures that both lamps receive the full supply voltage of $230\text{ V}$.
(b)(i)
For the correct answer:
$0.29\text{ A}$ (or $0.2875\text{ A}$)
In a parallel circuit, the potential difference across each branch is equal to the source voltage. Using Ohm’s Law, $I = \frac{V}{R}$, we substitute the given values: $I = \frac{230\text{ V}}{800\text{ }\Omega}$. This calculation gives $0.2875\text{ A}$, which is rounded to $0.29\text{ A}$ for two significant figures as per standard examination practice.
(b)(ii)
For the correct answer:
$0.33\text{ kWh}$
Energy in $\text{kWh}$ is calculated by multiplying Power in $\text{kW}$ by Time in hours. First, find power: $P = V \times I = 230\text{ V} \times 0.2875\text{ A} = 66.125\text{ W}$. Convert this to kilowatts by dividing by $1000$ to get $0.066125\text{ kW}$. Finally, $E = P \times t = 0.066125\text{ kW} \times 5.0\text{ h} \approx 0.33\text{ kWh}$.
(b)(iii)
For the correct answer:
$480\text{ }\Omega$
For two resistors in parallel, the combined resistance $R_p$ is calculated using the product-over-sum method: $R_p = \frac{R_1 \times R_2}{R_1 + R_2}$. Substituting the values: $R_p = \frac{1200 \times 800}{1200 + 800} = \frac{960000}{2000}$. This simplifies to exactly $480\text{ }\Omega$. Note that the total resistance is less than the smallest individual resistance.
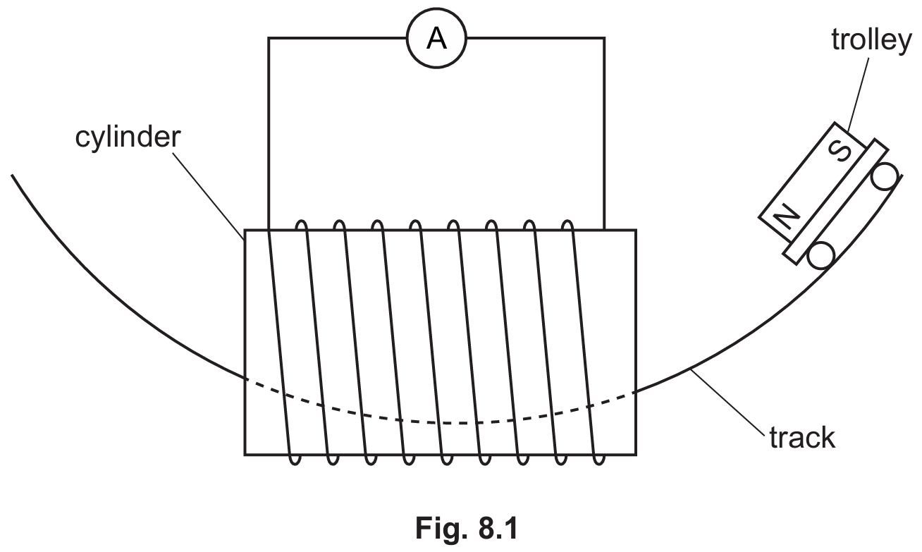
Question 8


Most-appropriate topic codes (Cambridge IGCSE Physics 0625):
• Topic $4.1$ — Simple phenomena of magnetism (Part $\mathrm{(a)}$)
• Topic $4.5.1$ — Electromagnetic induction (Part $\mathrm{(b)(i)}$, $\mathrm{(b)(ii)}$)
• Topic $1.5.1$ — Effects of forces (Part $\mathrm{(b)(i)}$)
▶️ Answer/Explanation
(a)
For the correct answer:
A region in which a magnetic pole experiences a force.
A magnetic field is defined as a volume of space surrounding a magnet or a current-carrying conductor. In this region, another permanent magnet or a magnetic material will experience a non-contact force. Specifically, a north or south pole placed in this field will experience a force in a direction determined by the field lines.
(b)(i)
For the correct answer:
Energy is lost due to friction or work done against the induced magnetic field.
As the trolley moves, mechanical work is converted into other forms. Friction between the trolley and the track dissipates energy as heat. Additionally, according to Lenz’s Law, the induced current in the coil creates its own magnetic field that opposes the motion of the magnet, effectively acting as a braking force that reduces the trolley’s kinetic energy and speed.
(b)(ii)
For the correct answer:
The deflection is still to the left, but the magnitude of the deflection is smaller.
Moving from left to right, the same pole enters the coil from the opposite side, which results in the same direction of current as the original right-to-left motion. However, because the trolley has a lower maximum speed $v$, the rate of change of magnetic flux linkage is reduced. Since induced e.m.f. is proportional to the rate of change of flux linkage, the current shown by the ammeter deflection will be smaller.
Question 9

(i) $\alpha$-particles (label this path $\alpha$)
(ii) $\beta$-particles (label this path $\beta$)
(iii) $\gamma$-radiation (label this path $\gamma$)

(ii) Fig. 9.2 shows a simplified diagram of a machine that produces thin sheets of aluminium of constant thickness.

State the most suitable radioactive source in Table 9.1 for the machine in Fig. 9.2.
Explain why this radioactive source is the most suitable and why the other sources are unsuitable.
Most-appropriate topic codes (Cambridge IGCSE Physics 0625):
• Topic $5.2.2$ — The three types of nuclear emission (Part $\mathrm{(a)}$)
• Topic $5.2.4$ — Half-life (Part $\mathrm{(b)}$)
▶️ Answer/Explanation
Correct Answer: $\alpha$ curves upward; $\beta$ curves downward with a sharper turn; $\gamma$ stays straight.
Detailed solution: Using Fleming’s Left-Hand Rule, positively charged $\alpha$-particles experience an upward force. Negatively charged $\beta$-particles experience a downward force; because they have much less mass, their radius of curvature is smaller (a sharper turn) than $\alpha$. $\gamma$-radiation consists of uncharged electromagnetic waves, so it is not deflected by the magnetic field and continues in a straight line.
Correct Answer: The time taken for half the nuclei of a sample to decay.
Detailed solution: Half-life is a constant characteristic of a radioactive isotope. It can also be defined as the time taken for the activity (or count rate) of a source to fall to half of its initial value. This process is spontaneous and random, meaning we can only predict the behavior of a large number of atoms over this specific time interval.
Correct Answer: Source R
Detailed solution: $\beta$-particles (Source R) are ideal because they are partially absorbed by aluminium; if the sheet thickens, the count rate drops, allowing for control. $\alpha$-particles would be completely blocked by any thickness, while $\gamma$-rays would pass through virtually unaffected. Additionally, Source R has a long half-life ($29$ years), ensuring the source does not need frequent replacement and provides a stable count rate over time.
Question 10
(a) Fill in the gaps in the description of how an accretion model explains the formation of the Solar System.
The planets nearest the Sun are small and …………….
The planets furthest from the Sun are large and …………….
All the planets were formed when a cloud of gas and dust collapsed due to ……………….
The rotation of material in the cloud forms an ……………..
Calculate the distance of the Moon from the Earth. Give your answer in $\text{m}$.
Calculate the speed at which the Whirlpool galaxy is moving away from the Earth.
Most-appropriate topic codes (Cambridge IGCSE Physics 0625):
• Topic $6.1.2$ — The Solar System (Parts $\mathrm{(a)}$, $\mathrm{(b)}$)
• Topic $6.2.3$ — The Universe (Part $\mathrm{(c)}$)
▶️ Answer/Explanation
Correct Answer: rocky; gaseous; gravitational force; accretion disc
Detailed solution: According to the accretion model, the inner Solar System was too hot for volatile gases to condense, leaving behind rocky materials to form the four inner planets. In contrast, the outer regions were cool enough for large amounts of ice and gas to accumulate, creating gaseous giants. The entire process began when an interstellar cloud of dust and gas collapsed under its own gravitational force. As this cloud collapsed and rotated faster, it flattened into a spinning accretion disc, where planetary formation occurred.
Correct Answer: $3.9 \times 10^8\text{ m}$
Detailed solution: To find the distance, we use the formula for constant speed: $s = v \times t$. In a vacuum (and approximately in air), the speed of light $v$ is a constant $3.0 \times 10^8\text{ m/s}$. Given the time $t = 1.3\text{ s}$, the calculation is $s = (3.0 \times 10^8\text{ m/s}) \times 1.3\text{ s}$. This results in a total distance of $3.9 \times 10^8\text{ m}$ between the Moon and the Earth.
Correct Answer: $4.8 \times 10^5\text{ m/s}$ (or $480\text{ km/s}$)
Detailed solution: First, convert the distance from light-years to meters using $1\text{ ly} = 9.5 \times 10^{15}\text{ m}$. Thus, $d = (2.3 \times 10^7) \times (9.5 \times 10^{15}) = 2.185 \times 10^{23}\text{ m}$. Using Hubble’s Law, $v = H_0 \times d$, we substitute the values: $v = (2.2 \times 10^{-18}\text{ s}^{-1}) \times (2.185 \times 10^{23}\text{ m})$. This calculation yields a recession speed of approximately $4.8 \times 10^5\text{ m/s}$.
