Smilax china is a herbaceous plant.
Fig. 1.1 shows part of a transverse section of a root of S. china with root hair cells visible.

(a) Name the type of microscope that has been used to obtain the image in Fig. 1.1.
(b) Calculate the actual length, in micrometres (µm), of the root hair cell labelled in Fig. 1.1. Use the image length of the root hair cell along line X–Y in your calculation.
(c) Root hairs are important adaptations of root hair cells for the uptake of water. Explain one way in which root hairs adapt root hair cells for the uptake of water.
(d) Mineral ions are taken up by root hair cells.
Table 1.1 shows the concentrations of sodium ions (Na+) and potassium ions (K+) inside the root hair cells of a plant root and in the soil solution surrounding the root.
| concentration of Na+ / g dm-3 | concentration of K+ / g dm-3 | ||
|---|---|---|---|
| root hair cell | soil solution | root hair cell | soil solution |
| 0.35 | 3.34 | 5.46 | 0.16 |
With reference to Table 1.1:
- suggest the mechanisms involved in the transport of Na+ and K+ from the soil solution into the root hair cells
- state the reasons for your suggestions.
(e) The region between the outer layer of a root and the endodermis is known as the cortex.
Table 1.2 shows the water potential of two adjacent cells, A and B, in the cortex of a root.

With reference to Table 1.2, explain the direction of water movement between cell A and cell B.
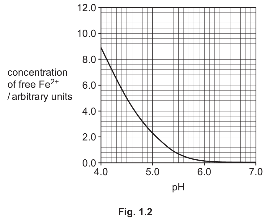
(f) Some types of soil are made of small negatively charged clay particles that attract and bind to positive ions such as iron ions (Fe2+).
Fe2+ that is bound to clay particles cannot be absorbed by root hair cells. This reduces the concentration of free Fe2+ that is available in soil solution for absorption.
Some plants that grow in soils containing a high proportion of clay particles are able to increase the concentration of free Fe2+ in the soil solution for absorption. In these plants, the carbon dioxide released by the respiration of root hair cells reacts with water in the soil solution, which changes the pH of the soil solution. This affects the binding of positively charged ions, such as Fe2+, to clay particles.
Fig. 1.2 shows the results of one investigation into the effect of pH on the concentration of free Fe2+ that is available in soil solution for absorption by root hair cells. The soil sample analysed in this investigation was from a soil that contained a high proportion of clay particles.

(i) With reference to Fig. 1.2, suggest and explain how the carbon dioxide released by the respiration of root hair cells can increase the concentration of free Fe2+ for absorption by root hair cells.
(ii) Dissolved Fe2+ is transported across the tissues of the root to the xylem.
When the amount of dissolved Fe2+ absorbed by root hair cells is greater than the amount that is needed by the plant, not all of the Fe2+ that is absorbed is transported to the xylem.
Suggest how the endodermis can reduce the amount of Fe2+ reaching the xylem.
▶️ Answer/Explanation
(a) light / optical microscope
Explanation: The image shows cellular structures with visible detail but lacks the high magnification and resolution of electron microscopes, indicating it was taken with a light microscope.
(b) 460 / 464 µm
Explanation: To calculate actual length, we need to measure the image length (X-Y) and divide by magnification (84). Assuming X-Y measures approximately 38.64 mm (38640 µm) on the image: 38640 µm ÷ 84 ≈ 460 µm.
(c) Root hairs increase the surface area of root hair cells, allowing for more efficient water uptake.
Explanation: The elongated projections of root hairs dramatically increase the surface area to volume ratio of the cell, enabling more water molecules to be absorbed through osmosis across the cell membrane.
(d)
- Na+ moves by facilitated diffusion because its concentration is higher in soil solution (3.34 g dm-3) than in root hair cells (0.35 g dm-3)
- K+ moves by active transport because its concentration is higher in root hair cells (5.46 g dm-3) than in soil solution (0.16 g dm-3)
- Both ions require transport proteins as they cannot diffuse freely through the phospholipid bilayer
Explanation: The concentration gradients show Na+ moves down its concentration gradient (facilitated diffusion) while K+ moves against its gradient (active transport requiring energy). Both processes require specific channel or carrier proteins.
(e) Water moves from cell A to cell B by osmosis because cell A has a higher water potential (-120 kPa) than cell B (-350 kPa).
Explanation: Water always moves from areas of higher (less negative) water potential to lower (more negative) water potential. The greater solute concentration in cell B creates this water potential gradient.
(f)(i)
- CO2 reacts with water to form carbonic acid (H2CO3), which dissociates into H+ and HCO3–
- The H+ ions lower the pH of the soil solution
- At lower pH (more acidic conditions), Fe2+ ions are displaced from clay particles as H+ competes for binding sites
- The HCO3– ions may form soluble complexes with Fe2+, keeping it in solution
Explanation: The graph shows free Fe2+ concentration increases as pH decreases. Root respiration creates this pH change through CO2 dissolution, making more iron available for plant uptake.
(f)(ii)
- The endodermis contains the Casparian strip which blocks apoplastic movement
- Fe2+ must enter endodermal cells through their membranes, allowing regulation
- Excess Fe2+ can be stored in vacuoles or converted to insoluble forms
- Transport proteins in endodermal membranes can be regulated to limit Fe2+ movement to xylem
Explanation: The endodermis acts as a selective barrier, forcing all ions to pass through at least one cell membrane where their transport can be controlled, preventing excessive Fe2+ from reaching the xylem and being transported to shoots.
(a) Fig. 2.1 is an incomplete diagram of the structure of an \(\alpha\)-glucose molecule.
Complete Fig. 2.1 to show the structure of an \(\alpha\)-glucose molecule.

(b) Fig. 2.2 shows part of a glycoprotein molecule.

(i) State the types of covalent bond labelled C and D in Fig. 2.2.
(ii) Many glycoproteins in the cell surface membrane are involved in cell signalling.
State the role in cell signalling of glycoproteins in cell surface membranes.
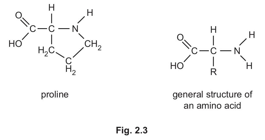
(c) One of the proteins found in milk is \(\beta\)-casein.
A molecule of \(\beta\)-casein consists of a single polypeptide of approximately 200 amino acids.
Molecules of \(\beta\)-casein have a high proportion of the amino acids proline and leucine. These amino acids have hydrophobic R-groups.
Fig. 2.3 compares the structure of proline (Pro) with the general structure of an amino acid. This shows that proline is an unusual amino acid because it has a cyclic R-group and the nitrogen atom is attached to only one hydrogen atom.

When a molecule of proline becomes part of a polypeptide, the hydrogen atom is lost from the nitrogen atom and is therefore not available for the formation of hydrogen bonds.
Molecules of \(\beta\)-casein have a relatively low proportion of the amino acids cysteine and serine. Table 2.1 shows the R-groups of cysteine and serine.

Compared to other protein molecules with a similar number of amino acids, \(\beta\)-casein molecules have:
- a much less organised secondary structure
- relatively little tertiary structure.
With reference to the four named amino acids, proline, leucine, serine and cysteine, suggest possible explanations for these two observations.
▶️ Answer/Explanation
(a) The complete \(\alpha\)-glucose molecule should show:

CH2OH group at the top, with H and OH groups correctly oriented on all carbon atoms (OH down on C1 for \(\alpha\)-glucose).
(b)(i) C – peptide bond
D – glycosidic bond
(b)(ii) Glycoproteins act as receptors/binding sites for specific signaling molecules (ligands) in cell signaling.
(c) For less organized secondary structure:
1. High proportion of proline disrupts regular hydrogen bonding patterns because proline’s cyclic structure prevents proper alignment for hydrogen bonds.
2. With less hydrogen bonding, there’s reduced formation of regular secondary structures like alpha helices or beta-pleated sheets.
3. The nitrogen in proline is part of a ring structure and can’t participate in hydrogen bonding like other amino acids.
For relatively little tertiary structure:
1. Low proportion of cysteine means fewer disulfide bridges can form between R-groups.
2. Low proportion of serine means fewer hydrogen bonds can form between R-groups (as serine’s -CH2OH group can participate in hydrogen bonding).
3. The high proportion of hydrophobic amino acids (proline and leucine) means the tertiary structure depends more on hydrophobic interactions, which are less specific than other types of bonds.
4. Fewer ionic bonds can form between R-groups due to the amino acid composition.
Fig. 3.1 and Fig. 3.2 are diagrams of transverse sections of the human heart during different stages of the cardiac cycle. The sections pass through the heart at a level that is just above the valves.

(a) (i) Name the valve labelled V on Fig. 3.1.
(ii) With reference to the chambers of the heart and the main blood vessels, describe the flow of blood through the heart that occurs when the transverse section of the heart appears as shown in Fig. 3.1.
(b) Identify the stage of the cardiac cycle shown in Fig. 3.2. Give a reason for your answer.
(c) The rate and rhythm of the heartbeat are controlled by an area of specialised muscle tissue in the wall of the right atrium, called the sinoatrial node. Describe the sequence of events that control contraction of the ventricles during the cardiac cycle.
▶️ Answer/Explanation
(a) (i) semi-lunar valve (accept aortic valve or pulmonary valve)
(ii) Blood flows from the atria to the ventricles. Specifically, blood enters the left and right atria from the pulmonary vein and vena cava respectively.
(b) Stage of cardiac cycle: ventricular systole
Reason: The bicuspid (mitral) valve and tricuspid valve (atrioventricular valves) are closed while the semi-lunar valves (aortic and pulmonary valves) are open.
(c) The sequence of events controlling ventricular contraction:
- Electrical impulses are generated by the sinoatrial node (SA node) in the right atrium.
- The impulses spread across both atria, causing atrial contraction (atrial systole).
- The impulses reach the atrioventricular node (AV node) where there is a brief delay (about 0.1 second).
- After the delay, impulses travel down the Bundle of His (Purkyne fibers) in the interventricular septum.
- The impulses then spread through Purkinje fibers to the ventricular muscle walls.
- This causes the ventricles to contract from the apex upwards, ensuring efficient blood ejection.
- The delay at the AV node ensures atria complete contraction before ventricles contract.
This coordinated sequence ensures efficient pumping of blood through the heart chambers and into the circulation.
(a) Vaccination programmes are widely used to help control the spread of infectious diseases.
(i) State why some diseases are described as infectious.
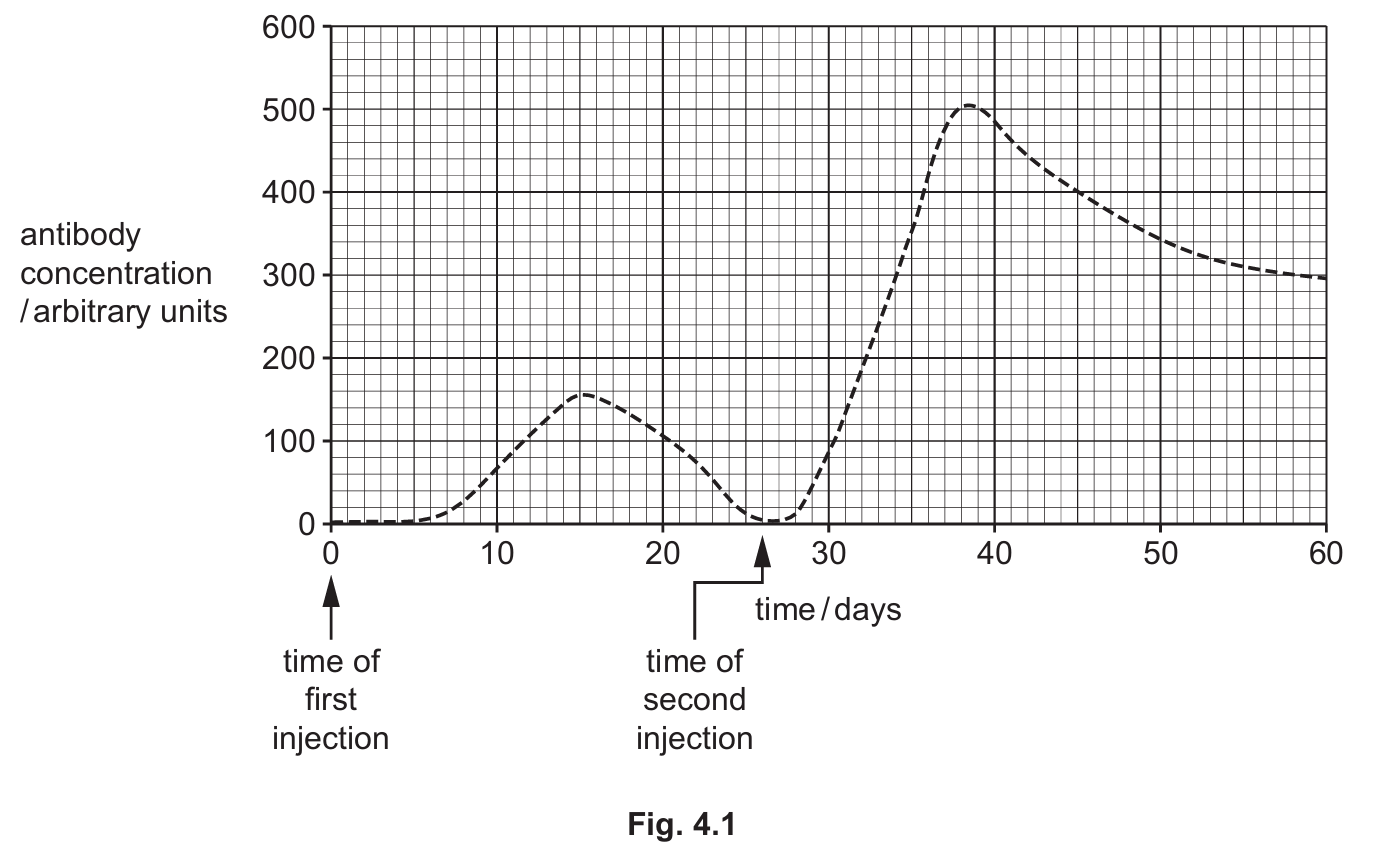
(ii) A person was given an injection to give protection against infectious disease E. The person had not previously been infected with disease E. 26 days later, a second injection to give protection against disease E was given.
The concentration in the blood of the antibody specific to disease E was measured over a period of 60 days from the time of the first injection.
Fig. 4.1 shows the concentration of the antibody in the blood over the period of 60 days.

The concentration of the antibody in the blood after the second injection was higher than the concentration after the first injection.
Explain why the concentration of the antibody in the blood was higher after the second injection than after the first injection.
(b) A second person was given a different injection to give protection against another infectious disease, infectious disease F. The person had not previously been infected with disease F.
The concentration in the blood of the antibody specific to disease F was measured over a period of 60 days from the time of the injection.
Fig. 4.2 shows the concentration of the antibody in the blood over the period of 60 days.

(i) State the type of immunity that results from the injection given as protection against disease F.
(ii) Describe features of the type of immunity resulting from the injection given as protection against disease F.
(c) In 2021, the number of new cases of tuberculosis (TB) was estimated to be 10.6 million.
(i) Name the bacterium that causes TB.
(ii) TB is often treated with several different drugs at the same time. This is necessary to kill multiple drug resistant (MDR) strains of bacteria. This treatment is usually lengthy, taking 6 months or more to make sure all bacteria are killed.
Researchers investigated how the bacteria that cause TB react to the presence of rifampicin. Rifampicin is an antibiotic often used in the successful treatment of TB.
- Researchers combined rifampicin with a coloured marker dye and added the coloured rifampicin to a culture of living bacteria.
- When initially viewed under the microscope, the researchers could see that the coloured rifampicin was present inside the cytoplasm of the bacterial cells.
- Hours later, the coloured rifampicin was not visible inside the bacterial cells but was visible in the medium surrounding the bacterial cells.
- The researchers concluded that rifampicin was being pumped out of the bacterial cells through the cell surface membrane.
- Further research showed that when some drugs commonly used to treat indigestion were added to bacterial cultures containing coloured rifampicin, the coloured rifampicin stayed inside the bacterial cytoplasm.
Suggest and explain how knowledge gained from this research could improve TB treatment and reduce the chance of rifampicin-resistant bacteria developing.
▶️ Answer/Explanation
(a)(i) (Caused by) pathogen and transmissible.
Detailed explanation: Infectious diseases are those that can be spread from one organism to another, typically caused by pathogenic microorganisms such as bacteria, viruses, fungi or parasites. The key characteristics are that they have a biological cause (pathogen) and can be transmitted between hosts.
(a)(ii) Any three from:
- Reference to presence of (B/T) memory cells from primary immune response
- Increased chance of memory cells encountering antigen
- More lymphocytes with receptors complementary/specific to antigens
- More plasma cells created
- Increased/faster production of antibodies
Detailed explanation: The secondary immune response is stronger and faster because of immunological memory. After the first exposure (primary response), memory B and T cells remain in the body. When the same antigen is encountered again, these memory cells quickly recognize it and initiate a more robust response. More plasma cells are produced, leading to higher antibody concentrations. The immune system has been “primed” by the first exposure, so it can mount a more effective defense the second time.
(b)(i) Passive and artificial.
(b)(ii) Any two from:
- Temporary/short term
- Immediate effect
- Involves injection of antibodies/immunoglobulin
- Does not stimulate the immune system/initiate a primary immune response
- No memory cells produced
- No new antibodies made
Detailed explanation: Passive artificial immunity involves directly introducing antibodies rather than stimulating the body to produce its own. This provides immediate protection but is temporary because the antibodies are eventually broken down and no memory cells are created. It’s useful when rapid protection is needed but doesn’t provide long-term immunity like active immunization does.
(c)(i) Mycobacterium tuberculosis / Mycobacterium bovis.
(c)(ii) Any four from:
Treatment improvements:
- Combining rifampicin treatment with drugs that keep rifampicin inside the bacteria/indigestion drugs
- Rifampicin will kill bacteria more effectively/quickly
- Reduce length of time needed for successful treatment of TB (from 6 months)
- Shorter treatment increases likelihood that treatment will be completed
- Use of widespread/common indigestion drugs should reduce costs of long-term TB treatment
- Less need for DOTS (Directly Observed Treatment, Short-course) for some people
Reducing resistance:
- If the length of treatment is shorter there is less time for a mutation to occur in bacterial genome resulting in resistance to rifampicin
- The indigestion drugs may be inhibiting membrane pumps in the cell surface membranes of TB bacteria
Detailed explanation: The research suggests that TB bacteria have membrane pumps that actively remove rifampicin, reducing its effectiveness. By combining rifampicin with drugs that inhibit these pumps (like some indigestion medications), the antibiotic remains inside the bacteria longer, making treatment more effective. This could allow for shorter treatment durations, which improves patient compliance and reduces the chance of resistance developing. Resistance often arises from incomplete treatment courses, so shorter effective treatments would help prevent this.
(a) Eukaryotic cells and prokaryotic cells contain DNA.
Complete the passage about DNA in eukaryotic cells and prokaryotic cells, using the most appropriate terms.
In eukaryotic cells, the DNA is located mainly in the chromosomes of the nucleus.
Chromosomal DNA is associated with proteins called …… . Two other eukaryotic cell structures that contain DNA are mitochondria and …… .
In prokaryotic cells, for example …… , the DNA is found in the …… and is usually circular.
(b) Fig. 5.1 shows transcription of the first six nucleotides of a gene by the enzyme RNA polymerase. The bases of the first six nucleotides on DNA strand X are shown, but the bases on the template DNA strand are not shown.

(i) State the term used to describe the non-template DNA strand labelled X in Fig. 5.1.
(ii) Name the RNA strand formed during transcription of a eukaryotic gene.
(iii) Complete Table 5.1 to show the letters of the six bases indicated on Fig. 5.1 by the numbers 1 to 6.
| 1 | 2 | 3 | 4 | 5 | 6 |
(c) RNA polymerase is composed of several polypeptides that move together and change shape as the enzyme performs its functions.
The death cap mushroom, Amanita phalloides, produces a toxin called alpha-amantitin, which binds to RNA polymerase at a site other than the active site. Alpha-amantitin reduces the activity of RNA polymerase.
Use the information provided to suggest how alpha-amantitin reduces the activity of RNA polymerase.
▶️ Answer/Explanation
(a) histones; chloroplasts; bacteria/cyanobacteria/Archaea; cytoplasm;
In eukaryotic cells, DNA is wrapped around histone proteins to form chromatin. Besides the nucleus, DNA is also found in mitochondria and chloroplasts (in plants). Prokaryotic cells like bacteria have their DNA free in the cytoplasm, not enclosed in a nucleus.
(b)(i) non-transcribed strand;
The strand labeled X is the coding strand that isn’t used as a template during transcription, hence called the non-transcribed strand.
(b)(ii) primary transcript;
The initial RNA product of transcription in eukaryotes is called the primary transcript before any processing occurs.
(b)(iii)
| 1 | 2 | 3 | 4 | 5 | 6 |
| A | U | G | C | A | U |
(c) Any three from:
- Alpha-amantitin acts as a non-competitive inhibitor;
- It binds to RNA polymerase at an allosteric site, changing the enzyme’s shape;
- The active site becomes less complementary to the DNA template;
- This prevents or slows down RNA polymerase’s movement along DNA;
- It interferes with the enzyme’s ability to unwind DNA or add nucleotides;
- The toxin blocks the conformational changes needed for transcription.
Alpha-amantitin doesn’t compete with substrates but binds elsewhere, altering the enzyme’s structure and function. This explains its potent toxicity as it can shut down gene expression.
(a) Fig. 6.1 shows photomicrographs of individual cells from the root tip of an onion, Allium sp., at different times in the mitotic cell cycle.

(i) Place the letters representing the individual cells in the correct sequence of the mitotic cell cycle. The first letter has already been filled in.
![]()
(ii) Cell A in Fig. 6.1 is in one of the main stages of mitosis.
Describe the events that occur during this main stage of mitosis.
(b) Complete Table 6.1 by stating the term that matches each of the descriptions.
| term | description |
|---|---|
| region of DNA with repeated nucleotide sequences located at the ends of chromosomes | |
| organises microtubules to form the spindle in animal cells | |
| point of attachment between two sister chromatids |
▶️ Answer/Explanation
(a)(i) B, E, F, D, A, C
The correct sequence of mitosis is: Interphase (B), Prophase (E), Metaphase (F), Anaphase (D), Telophase (A), and Cytokinesis (C).
(a)(ii) The events during telophase (Cell A) include:
- The nuclear envelope re-forms around each group of chromosomes
- The nucleolus/nucleoli re-form
- The chromosomes begin to uncoil and return to their chromatin form
- The spindle fibers break down and disappear
Telophase is the final stage of mitosis where the cell begins to return to its interphase state. The chromosomes have reached the poles and start decondensing. The nuclear envelope reassembles around each set of chromosomes, and nucleoli reappear. This prepares the cell for cytokinesis, which completes the cell division process.
(b) Table 6.1 completed:
| term | description |
|---|---|
| telomere | region of DNA with repeated nucleotide sequences located at the ends of chromosomes |
| (pair of) centriole(s) | organises microtubules to form the spindle in animal cells |
| centromere | point of attachment between two sister chromatids |
These structures are all essential for proper chromosome organization and segregation during cell division. Telomeres protect chromosome ends, centrioles organize the spindle apparatus, and centromeres hold sister chromatids together until anaphase.
