A steel ball is placed on the inside surface of a hollow circular cone. The ball moves in a horizontal circle at constant speed, as shown in Fig. 1.1.

The angle of the side of the cone to the horizontal is \(52^\circ\). There is no friction between the ball and the cone.
(a) Fig. 1.2 shows a cross-section through the cone and the steel ball.

On Fig. 1.2, draw labelled arrows to show the two forces acting on the ball.
(b) Describe how the forces acting on the ball cause its acceleration to be centripetal.
(c) The ball moves in a circle of radius 0.15 m.
Show that the speed of the ball is \(1.4 \, \text{ms}^{-1}\).
(d) Calculate the angular speed \(\omega\) of the ball.
(e) The speed of the ball is increased.
Explain why the radius of the circular path of the ball increases.
▶️ Answer/Explanation
(a) Two forces should be shown:
- An arrow vertically downwards labelled ‘weight’ (or ‘mg’)
- An arrow perpendicular to the cone’s surface, inwards and upwards, labelled ‘normal contact force’ (or ‘N’)
(b) The vertical component of the normal contact force balances the weight of the ball (so there’s no resultant force vertically). The horizontal component of the normal contact force provides the resultant force towards the center of the circular path, which is the centripetal force required for circular motion.
(c) To show the speed is \(1.4 \, \text{ms}^{-1}\):
For circular motion, the centripetal acceleration \(a = \frac{v^2}{r}\)
The horizontal component of the normal force provides this acceleration: \(N \sin \theta = m \frac{v^2}{r}\)
The vertical component balances the weight: \(N \cos \theta = mg\)
Dividing the two equations: \(\tan \theta = \frac{v^2}{rg}\)
Substituting \(\theta = 52^\circ\), \(r = 0.15 \, \text{m}\), \(g = 9.81 \, \text{ms}^{-2}\):
\(\tan 52^\circ = \frac{v^2}{0.15 \times 9.81}\)
\(v^2 = 0.15 \times 9.81 \times \tan 52^\circ = 1.96\)
\(v = \sqrt{1.96} = 1.4 \, \text{ms}^{-1}\)
(d) Angular speed \(\omega\):
Using \(v = r\omega\):
\(\omega = \frac{v}{r} = \frac{1.4}{0.15} = 9.3 \, \text{rads}^{-1}\)
(e) When the speed increases, the required centripetal force increases. Since the horizontal component of the normal force must provide this centripetal force (\(N \sin \theta = \frac{mv^2}{r}\)), and the angle \(\theta\) remains constant, the ball must move to a larger radius to maintain the balance between the vertical and horizontal components of the normal force.
(a) The magnitude of the gravitational potential on the surface of a planet of radius \( R \) is \( \phi \). The planet can be considered to be an isolated sphere.
On Fig. 2.1, sketch the variation of the gravitational potential with distance \( x \) from the centre of the planet for values of \( x \) between \( R \) and \( 4R \).

(b) A satellite is in a geostationary orbit above the Earth. At time \( t = 0 \), the magnitude of the gravitational potential due to the Earth at the location of the satellite is \( \phi \).
On Fig. 2.2, sketch the variation of the gravitational potential due to the Earth at the location of the satellite for values of \( t \) between \( t = 0 \) and \( t = 24 \) hours.

(c) The electric potential difference (p.d.) between two parallel plates is \( V \), as shown in Fig. 2.3.

The distance between the plates is \( d \). The region between the plates is a vacuum.
On Fig. 2.4, sketch the variation of the electric potential with distance from the positive plate.

▶️ Answer/Explanation
(a) The gravitational potential \( \phi \) at a distance \( x \) from the center of a planet is given by \( \phi = -\frac{GM}{x} \) for \( x \geq R \).
Key features of the sketch:
- The curve should start at \( (R, -\phi) \) and approach zero as \( x \) increases
- At \( x = 2R \), the potential should be \( -\frac{\phi}{2} \)
- At \( x = 4R \), the potential should be \( -\frac{\phi}{4} \)
- The curve should be continuous and decreasing in magnitude with increasing \( x \)
Correct sketch would show:
- Line from \( x = R \) to \( x = 4R \) entirely in the negative \( \phi \) region
- Curve with continuously decreasing magnitude and with gradient of continuously decreasing magnitude
- Line passing through \( (2R, \pm \frac{1}{2}\phi) \) and \( (4R, \pm \frac{1}{4}\phi) \)
(b) For a geostationary satellite:
- The gravitational potential remains constant because the satellite maintains a fixed position relative to the Earth’s surface
- The sketch should show a horizontal straight line at \( -\phi \) from \( t = 0 \) to \( t = 24 \) hours
Correct sketch would show:
- Horizontal straight line from \( t = 0 \) to \( t = 24 \) hours
- Line starting at \( (0, -\phi) \)
(c) For the electric potential between parallel plates:
- The electric field between parallel plates is uniform, so the potential changes linearly
- The sketch should show a straight line with negative slope from \( (0, V) \) to \( (d, 0) \)
Correct sketch would show:
- Straight line with non-zero gradient from 0 to \( d \)
- Line with negative gradient from \( (0, V) \) to \( (d, 0) \)
(a) Two metal cuboids P and Q are in thermal contact with each other.
(i) P and Q are in thermal equilibrium.
State what is meant by the term thermal equilibrium.
(ii) Data for P and Q are given in Table 3.1.
| P | Q | |
|---|---|---|
| specific heat capacity / J kg-1 K-1 | 390 | 910 |
| mass/kg | 0.54 | 0.37 |
P and Q are initially both at the same temperature.
P is supplied with 24 kJ of thermal energy. After some time, P and Q are once again both at the same temperature as each other.
P and Q are perfectly insulated from the surroundings.
Determine the change in temperature \(\Delta T\) of Q.
(b) Nitrogen may be assumed to be an ideal gas. A fixed amount of nitrogen gas is contained at a constant pressure of \(1.6 \times 10^5 \, \text{Pa}\).
The variation of the volume \(V\) of the gas with the temperature \(\theta\) of the gas is shown in Fig. 3.1.

(i) The temperature of the nitrogen gas is increased from \(0^\circ C\) to \(210^\circ C\). Determine the work done on the gas.
(ii) Determine the number \(N\) of molecules of nitrogen gas.
(iii) The mass of a nitrogen molecule is \(4.7 \times 10^{-26}\) kg.
Calculate the root-mean-square (r.m.s.) speed of a nitrogen molecule at \(210^\circ C\).
▶️ Answer/Explanation
(a)(i) Thermal equilibrium means the two objects are at the same temperature and there is no net transfer of thermal energy between them.
(a)(ii) Using the formula \(Q = mc\Delta T\) for both cuboids:
Total energy supplied = Energy absorbed by P + Energy absorbed by Q
\(24 \times 10^3 = (0.54 \times 390 \times \Delta T) + (0.37 \times 910 \times \Delta T)\)
\(24,000 = 210.6\Delta T + 336.7\Delta T\)
\(24,000 = 547.3\Delta T\)
\(\Delta T = \frac{24,000}{547.3} \approx 44 \, \text{K}\)
(b)(i) Work done on gas \(W = p\Delta V\)
From graph: At \(0^\circ C\) (273K), \(V \approx 0.32 \, \text{m}^3\)
At \(210^\circ C\) (483K), \(V \approx 0.18 \, \text{m}^3\)
\(W = (1.6 \times 10^5) \times (0.18 – 0.32) = -2.2 \times 10^4 \, \text{J}\)
(Negative sign indicates work is done by the gas)
(b)(ii) Using ideal gas law \(pV = NkT\) at \(0^\circ C\):
\(N = \frac{pV}{kT} = \frac{(1.6 \times 10^5 \times 0.32)}{(1.38 \times 10^{-23} \times 273)}\)
\(N \approx 7.6 \times 10^{24}\) molecules
(b)(iii) r.m.s. speed calculation:
\(\frac{1}{2}m\langle c^2 \rangle = \frac{3}{2}kT\)
\(\langle c^2 \rangle = \frac{3kT}{m}\)
At \(210^\circ C = 483 \, \text{K}\):
\(\sqrt{\langle c^2 \rangle} = \sqrt{\frac{3 \times 1.38 \times 10^{-23} \times 483}{4.7 \times 10^{-26}}}\)
\(\approx 650 \, \text{m s}^{-1}\)
A small crystal is made to vibrate with simple harmonic motion. The variation with time \( t \) of the displacement \( x \) of one surface of the crystal from its equilibrium position is shown in Fig. 4.1.

(a) Show that the angular frequency of the vibration of the surface is \( 4.2 \times 10^7 \, \text{rad s}^{-1} \).
(b) Determine the maximum acceleration \( a_0 \) of the vibration of the surface.
(c) The crystal may be modelled as a single mass of \( 2.4 \times 10^{-4} \, \text{kg} \) that vibrates as shown in Fig. 4.1.
Calculate the total energy \( E \) of the vibrations.
(d) The crystal generates ultrasound waves that are used to obtain diagnostic information about internal structures.
(i) The crystal is made from piezoelectric material.
Explain how the crystal is made to vibrate.
(ii) A parallel beam of ultrasound waves is incident on a muscle-bone boundary. Data for muscle and bone are given in Table 4.1.
| material | density/kg m-3 | speed of sound/ms-1 |
|---|---|---|
| muscle | 1100 | 1600 |
| bone | 1900 | 4100 |
Calculate the percentage of the intensity of the ultrasound beam that is transmitted at this boundary.
▶️ Answer/Explanation
(a) From the graph, we can determine the period (T) of oscillation:
Time for one complete oscillation = 0.15 × 10-6 s
Angular frequency (ω) = 2π/T = 2π/(0.15 × 10-6)
= 4.18879 × 107 rad s-1
≈ 4.2 × 107 rad s-1 (to 2 significant figures)
(b) Maximum acceleration occurs at maximum displacement (amplitude):
a0 = ω2x0 = (4.2 × 107)2 × 40 × 10-6 = 7.1 × 1010 m s-2
(c) Total energy in SHM is the maximum potential energy:
E = ½mω2x02
= ½ × 2.4 × 10-4 × (4.2 × 107)2 × (40 × 10-6)2
= 1.2 × 10-4 × 1.764 × 1015 × 1.6 × 10-9
= 338.688 J
≈ 340 J (to 2 significant figures)
(d)(i) The piezoelectric crystal vibrates when an alternating potential difference is applied across it. The applied voltage causes the crystal to distort mechanically due to the piezoelectric effect, and this distortion produces vibrations. The frequency of the applied voltage determines the vibration frequency of the crystal.
(d)(ii) First we calculate the acoustic impedance (Z) for each material:
Z = ρ × c
For muscle: Zm = 1100 × 1600 = 1.76 × 106 kg m-2s-1
For bone: Zb = 1900 × 4100 = 7.79 × 106 kg m-2s-1
The intensity reflection coefficient is:
[(Zb – Zm)/(Zb + Zm)]2 = [(7.79 – 1.76)/(7.79 + 1.76)]2
= (6.03/9.55)2 = (0.6314)2 = 0.3986 ≈ 0.40 or 40%
Therefore, percentage transmitted = 100% – 40% = 60%
(a) A capacitor of capacitance \( C_1 \) is connected in series with a second capacitor of capacitance \( C_2 \).
Show that the combined capacitance \( C \) of the two capacitors is given by
\[ \frac{1}{C} = \frac{1}{C_1} + \frac{1}{C_2}. \]
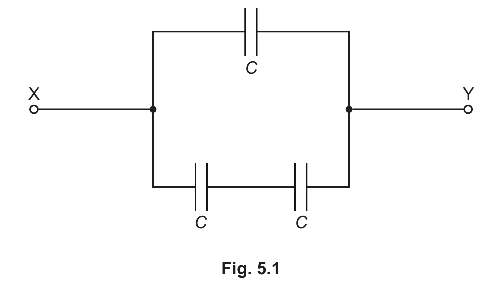
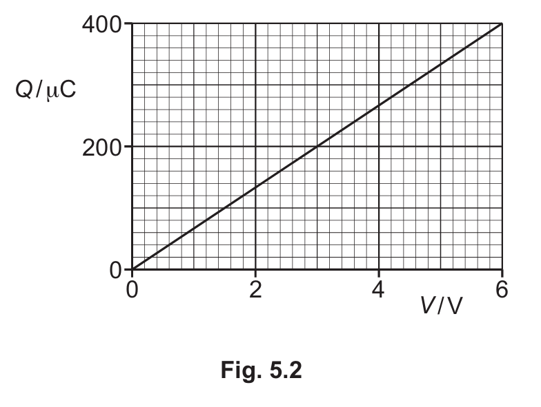
(b) Three identical capacitors, each of capacitance \( C \), are connected in a network as shown in Fig. 5.1.

The variation of the charge \( Q \) with the potential difference (p.d.) \( V \) between the terminals X and Y is shown in Fig. 5.2.

Show that \( C \) is equal to 44 \(\mu\)F.
(c) The capacitor network in Fig. 5.1 is charged and then connected to a resistor of resistance 54 k\(\Omega\). The capacitor network discharges through the resistor.
(i) Determine the time constant \(\tau\) of the circuit. Give a unit with your answer.
(ii) Determine the time taken for the discharge current to reduce to 15% of the initial discharge current.
▶️ Answer/Explanation
(a) For capacitors in series, the charge \( Q \) on each capacitor is the same, while the total potential difference \( V \) is the sum of the potential differences across each capacitor.
Let \( V_1 \) and \( V_2 \) be the potential differences across \( C_1 \) and \( C_2 \) respectively.
Then:
\[ V = V_1 + V_2 \]
Since \( Q = CV \), we can write:
\[ \frac{Q}{C} = \frac{Q}{C_1} + \frac{Q}{C_2} \]
Dividing both sides by \( Q \):
\[ \frac{1}{C} = \frac{1}{C_1} + \frac{1}{C_2} \]
This proves the required relationship for capacitors in series.
(b) The network consists of two capacitors in parallel, which are then in series with a third capacitor.
1. The two parallel capacitors combine to give \( C + C = 2C \).
2. This combination is in series with the third capacitor \( C \), so the total capacitance is:
\[ \frac{1}{C_{total}} = \frac{1}{2C} + \frac{1}{C} = \frac{3}{2C} \]
\[ C_{total} = \frac{2C}{3} \]
From the graph, the gradient \( \frac{Q}{V} \) gives the total capacitance. If the graph shows \( 400 \mu C \) at 6.0V:
\[ C_{total} = \frac{400 \times 10^{-6}}{6.0} = \frac{2}{3}C \]
Solving for \( C \):
\[ C = \frac{3 \times 400 \times 10^{-6}}{2 \times 6.0} = 44 \mu F \]
(c)(i) The time constant \( \tau \) is given by:
\[ \tau = RC \]
Using the total capacitance \( \frac{3}{2} \times 44 \mu F = 66 \mu F \) and \( R = 54 k\Omega \):
\[ \tau = 54 \times 10^3 \times 66 \times 10^{-6} = 3.6 s \]
Unit: seconds (s)
(c)(ii) The discharge current follows:
\[ I = I_0 e^{-t/\tau} \]
When \( I = 0.15 I_0 \):
\[ 0.15 = e^{-t/3.6} \]
Taking natural logarithms:
\[ \ln(0.15) = -\frac{t}{3.6} \]
\[ t = -3.6 \times \ln(0.15) \approx 6.8 s \]
An electric field and a magnetic field are used to form a velocity selector. Charged particles, called ions, pass into a region of uniform electric and magnetic fields that is between parallel plates, as shown in Fig. 6.1.

(a) The potential difference (p.d.) between the plates of the velocity selector is \( V \). The separation of the plates is \( d \) and the magnetic flux density is \( B \).
Show that the speed \( u \) of ions that pass undeviated through the velocity selector is given by
\[u = \frac{V}{Bd}.\]
(b) Positive ions with kinetic energy \( 4.1 \times 10^{-17} \) J and mass \( 3.2 \times 10^{-27} \) kg pass undeviated through the velocity selector when \( V \) is equal to 980 V and \( d \) is equal to \( 3.6 \times 10^{-2} \) m.
Determine \( B \).
(c) A proton passes undeviated through the velocity selector.
An alpha particle enters the velocity selector at the same speed as the proton.
State how the expression in (a) predicts that the alpha particle also passes undeviated through the velocity selector.
(d) By reference to Fig. 6.1 and to the forces acting on a positive ion, determine the direction of the magnetic field. Explain your reasoning.
(e) The positive ions in (b) enter the velocity selector with greater kinetic energy.
On Fig. 6.1, sketch the path of these ions.
▶️ Answer/Explanation
(a) For the ions to pass undeviated, the electric force (\( F_E = qE \)) and magnetic force (\( F_B = Bqv \)) must balance each other. The electric field \( E \) between the plates is \( E = V/d \). Setting the forces equal: \( qE = Bqv \), which simplifies to \( E = Bv \). Substituting for \( E \), we get \( V/d = Bv \), leading to \( v = V/(Bd) \).
(b) First, find the velocity from kinetic energy: \( KE = \frac{1}{2}mv^2 \). Rearranging: \( v = \sqrt{(2 \times 4.1 \times 10^{-17})/(3.2 \times 10^{-27})} = 1.6 \times 10^5 \) m/s. Then use the velocity selector equation: \( B = V/(vd) = 980/(1.6 \times 10^5 \times 3.6 \times 10^{-2}) = 0.17 \) T.
(c) The expression \( u = V/(Bd) \) is independent of both the charge and mass of the particle. Since the alpha particle enters with the same speed as the proton, it will also satisfy the balance condition and pass undeviated.
(d) For a positive ion, the electric force acts downward (toward the negative plate). To balance this, the magnetic force must act upward. Using the right-hand rule: point fingers in direction of positive ion motion (right), thumb in direction of magnetic force (up), then palm faces in direction of magnetic field (into the page).
(e) With greater kinetic energy, the ions have higher velocity. The electric force remains the same (\( qV/d \)), but the magnetic force increases (\( Bqv \)). Since \( v \) increases, the magnetic force becomes greater than the electric force, causing upward deflection. The path should curve upward between the plates.
(a) State Faraday’s law of electromagnetic induction.
(b) A metal rod is accelerated uniformly from rest in a uniform magnetic field as shown in Fig. 7.1.

The rod has length \( l \) and the flux density of the magnetic field is \( B \).
An electromotive force (e.m.f.) is induced in the rod. The variation with time \( t \) of the induced e.m.f. \( E \) is shown in Fig. 7.2.

(i) Explain how Fig. 7.2 shows that \( E \) is proportional to the velocity \( v \) of the rod.
(ii) Use Faraday’s law to show that the variation of \( E \) with time \( t \) is given by
\[E = Blat\]
where \( a \) is the acceleration of the rod.
(iii) The length of the rod is 0.45 m. The acceleration \( a \) of the rod is 7.8 m s\(^{-2}\). Determine the value of \( B \).
▶️ Answer/Explanation
(a) Faraday’s law states that the induced e.m.f. is directly proportional to the rate of change of magnetic flux linkage.
(b)(i) The graph shows a straight line through the origin, indicating that \( E \) is directly proportional to \( t \). Since the rod is uniformly accelerated (\( v = at \)), and \( E \) is proportional to \( v \), this explains the linear relationship between \( E \) and \( t \).
(b)(ii) Using Faraday’s law: \( E = \frac{d\Phi}{dt} \). The magnetic flux \( \Phi = BA \), where \( A \) is the area swept by the rod. As the rod moves, the area changes by \( A = l \times \text{distance} = l \times (\frac{1}{2}at^2) \). Differentiating gives \( E = Blat \).
(b)(iii) From the graph, at \( t = 0.2 \) s, \( E = 0.30 \) mV = \( 0.30 \times 10^{-3} \) V. Using the equation \( E = Blat \): \[ B = \frac{E}{lat} = \frac{0.30 \times 10^{-3}}{0.45 \times 7.8 \times 0.2} = 4.3 \times 10^{-5} \, \text{T} \]
(a) State what is meant by a photon.
(b) A laser emits red light of a single wavelength. The light is produced when electrons move from a higher energy level to a lower energy level. The difference in energy between the two levels is 1.96 eV.
(i) Calculate the wavelength of the light.
(ii) The power of the beam emitted by the laser is \(1.0 \times 10^{-2} \, W\).
Calculate the number of photons emitted per unit time by the laser.
(iii) The photons are incident normally on a surface. Half of the number of photons are absorbed by the surface, and half are reflected.
Determine the average force exerted by the beam of photons on the surface.
▶️ Answer/Explanation
(a) A photon is a quantum of energy of electromagnetic radiation.
(b)(i) To calculate the wavelength:
First convert the energy difference from eV to joules:
\(E = 1.96 \, \text{eV} \times 1.60 \times 10^{-19} \, \text{J/eV} = 3.136 \times 10^{-19} \, \text{J}\)
Using the photon energy equation \(E = \frac{hc}{\lambda}\):
\(\lambda = \frac{hc}{E} = \frac{(6.63 \times 10^{-34} \, \text{Js})(3.00 \times 10^8 \, \text{m/s})}{3.136 \times 10^{-19} \, \text{J}}\)
\(\lambda = 6.34 \times 10^{-7} \, \text{m}\) or 634 nm
(b)(ii) Number of photons emitted per second:
\[ \text{Number per unit time} = \frac{\text{Power}}{\text{Energy per photon}} = \frac{1.0 \times 10^{-2} \, \text{W}}{1.96 \times 1.60 \times 10^{-19} \, \text{J}} = 3.2 \times 10^{16} \, \text{s}^{-1} \]
(b)(iii) Average force exerted:
Momentum of a photon \(p = \frac{E}{c} = \frac{3.136 \times 10^{-19} \, \text{J}}{3.00 \times 10^8 \, \text{m/s}} = 1.045 \times 10^{-27} \, \text{kg m/s}\)
For absorbed photons: change in momentum \(\Delta p = p\).
For reflected photons: change in momentum \(\Delta p = 2p\) (reversal of direction).
Total momentum change per second:
\[ F = \left[\frac{(1.96 \times 1.60 \times 10^{-19})}{3.00 \times 10^8}\right] \times 3.2 \times 10^{16} \times \frac{(2 + 1)}{2} = 5.0 \times 10^{-11} \, \text{N} \]
Polonium-193 \( \left(^{193}_{84}\text{Po}\right) \) is an unstable nuclide. A nucleus of polonium-193 decays to a nucleus of lead-189 \( \left(^{189}_{82}\text{Pb}\right) \) by emitting an alpha-particle.
(a) Radioactive decay is both random and spontaneous.
State what is meant by:
(i) random
(ii) spontaneous.
(b) Define half-life.
(c) Data for the binding energy per nucleon of the particles involved in the decay of a nucleus of polonium-193 are given in Table 9.1.
| particle | binding energy per nucleon / eV |
|---|---|
| \( ^{193}_{84}\text{Po} \) | 7.774 |
| \( ^{189}_{82}\text{Pb} \) | 7.826 |
| \( ^4_2\alpha \) | 7.074 |
Determine the energy, in eV, released when a nucleus of polonium-193 decays into a nucleus of lead-189.
(d) A pure sample of polonium-193 contains \( N_0 \) nuclei. After a time \( t \) the sample contains \( N \) nuclei of polonium-193. The variation of \( \ln(N/N_0) \) with \( t \) is shown in Fig. 9.1.

(i) State the name of the quantity that is represented by the magnitude of the gradient of the line in Fig. 9.1.
(ii) Use Fig. 9.1 to determine the half-life, in ms, of polonium-193.
(e) Positron emission tomography (PET scanning) uses a radioactive tracer.
(i) State what happens to the positrons emitted by the tracer.
(ii) Explain why a tracer with a half-life of approximately 2 hours is a suitable tracer to use.
▶️ Answer/Explanation
(a)(i) Random means we cannot predict when a particular nucleus will decay or which nucleus will decay next.
(a)(ii) Spontaneous means the decay is not affected by external or environmental factors.
(b) Half-life is the time taken for half of the radioactive nuclei in a sample to decay, or equivalently, the time for the activity to halve.
(c) The energy released is calculated by finding the difference in binding energy between the products and reactants:
Energy released = (Binding energy of Pb-189 + Binding energy of α) – Binding energy of Po-193
= (189 × 7.826 + 4 × 7.074) – (193 × 7.774)
≈ 7.03 eV
(d)(i) The quantity represented by the magnitude of the gradient is the decay constant (λ).
(d)(ii) From the graph (assuming typical values as exact graph isn’t shown):
Gradient ≈ -1.4/0.84 (change in ln(N/N0) over time)
Decay constant λ = magnitude of gradient ≈ 1.667 s⁻¹
Half-life t₁/₂ = ln(2)/λ ≈ 0.693/1.667 ≈ 0.42 ms
(e)(i) The positrons emitted by the tracer collide with electrons and annihilate, producing gamma rays.
(e)(ii) A half-life of about 2 hours is suitable because:
– It’s long enough to allow time for conducting the medical investigation
– It’s not so long that it would cause unnecessary prolonged exposure to radiation for the patient
– The tracer remains active long enough for imaging but decays quickly enough to minimize radiation dose
(a) (i) State what is meant by the luminosity of a star.
(ii) Explain how standard candles are used to determine the distance to a galaxy.
(b) The Sun rotates on its axis. Points X, Y and Z are on the equator of the Sun as shown in Fig. 10.1.

The wavelengths of light from points X and Y are observed and recorded in Table 10.1.
| observed wavelength from X/nm | observed wavelength from Y/nm |
|---|---|
| 656.2877 | 656.2831 |
(i) The Sun rotates with a period of \(2.07 \times 10^6 \, \text{s}\). Show that the radius of the Sun is \(6.93 \times 10^8 \, \text{m}\).
(ii) State and explain how the expected wavelength of the light observed from Z compares with the emitted wavelength.
(iii) The luminosity of the Sun is \(3.8 \times 10^{26} \, \text{W}\). Use the information in (b)(i) to calculate the surface temperature of the Sun.
▶️ Answer/Explanation
(a)(i) The luminosity of a star is the total power of radiation emitted by the star.
(a)(ii) Standard candles are astronomical objects with known luminosity. By measuring the radiant flux intensity (F) received from such an object and knowing its luminosity (L), we can use the inverse square law \(F = \frac{L}{4\pi d^2}\) to calculate the distance (d) to the galaxy containing the standard candle. This works because the intensity of light decreases with the square of the distance from the source.
(b)(i) Using the Doppler effect and rotational motion:
First, calculate the speed of rotation using the Doppler shift formula:
\(\frac{\Delta \lambda}{\lambda} = \frac{v}{c}\)
\(\frac{656.2877 – 656.2831}{656.2831} = \frac{v}{3.00 \times 10^8}\)
\(v = 2.10 \times 10^3 \, \text{m/s}\)
Then relate this to the rotational period:
\(v = \frac{2\pi R}{T}\)
\(R = \frac{vT}{2\pi} = \frac{2.10 \times 10^3 \times 2.07 \times 10^6}{2\pi} = 6.93 \times 10^8 \, \text{m}\)
(b)(ii) Point Z is moving towards Earth as the Sun rotates, so the observed wavelength will be blueshifted (shorter than the emitted wavelength) due to the Doppler effect.
(b)(iii) Using the Stefan-Boltzmann law:
\(L = 4\pi \sigma R^2 T^4\)
\(3.8 \times 10^{26} = 4\pi \times 5.67 \times 10^{-8} \times (6.93 \times 10^8)^2 \times T^4\)
Solving for T gives approximately 5800 K.
