Questions 1
Topic -13.2 Gravitational force between point masses
(a) (i) State Newton’s law of gravitation.
(ii) Use Newton’s law of gravitation to show that the gravitational field strength g at a distance r away from a point mass M is given by
\(g=\frac{GM}{r^2}\)
(b) The Earth has a mass of \(5.98 × 10^{24} kg\) and a radius of \(6.37 × 10^6m\).
The Moon has a mass of \(7.35 × 10^{22} kg\) and a radius of \(1.74 × 10^6m\).
The Earth and the Moon can both be considered as point masses at their centres. Their centres are a distance of \(3.84 × 10^8m\) apart.
(i) Show that the gravitational field strength at the surface of the Moon due to the mass of the Moon is \(1.62Nkg^{–1}\).
(ii) Explain why there is a point X on the line between the centres of the Earth and the Moon where the resultant gravitational field strength due to the Earth and the Moon is zero.
(iii) Calculate the distance x of point X from the centre of the Moon.
▶️Answer/Explanation
Ans
(a)(i) (gravitational) force is (directly) proportional to product of masses
force (between point masses) is inversely proportional to the square of their separation
(ii)g =F / m
\(F = GMm / r^2\)
and so
\(g = [GMm / r^2] / m = GM / r^2\)
(b)(i) \(g = (6.67 \times 10^{–11} \times 7.35 \times 10^{22}) / (1.74 \times 10^6)^2 = 1.62 N kg^{–1}\)
(ii) fields (due to Earth and the Moon) have equal magnitudes
fields (due to Earth and the Moon) are in opposite directions
(iii) distance of X from Earth =\( (3.84 \times 10^8 – x)\)
\((G \times) 7.35 \times 10^{22} / x^2 = ( G \times) 5.98 \times 10^{24} / (3.84 \times 10^8 – x)^2 \)
x = \(3.8 \times 10^7 m\)
Questions 2
Topic -20.1 Concept of a magnetic field
A sphere of mass \(1.6 × 10^{–10} kg\) has a charge of +0.27nC. The sphere is in a uniform electric field that acts vertically upwards, as shown in the side view in Fig. 2.1.

The force exerted on the sphere by the electric field causes the sphere to remain at a fixed vertical height in a horizontal plane. There is a uniform magnetic field in the region of the electric field. The sphere moves at a speed of 0.78 ms⁻¹ in the horizontal plane. The magnetic field causes the sphere to move in a circular path of radius 3.4m, as shown in the view from above in Fig. 2.2.

(a) (i) Determine the direction of the uniform magnetic field.
(ii) Explain why the motion of the sphere in the horizontal plane is circular.
(b) Calculate the strength of the uniform electric field.
(c) By considering the magnetic force on the sphere, show that the flux density of the uniform magnetic field is 0.14T.
▶️Answer/Explanation
Ans
(a)(i) (vertically) downwards
(ii) magnetic force (on sphere) is perpendicular to its velocity
magnetic force perpendicular to velocity is the centripetal force
or
magnetic force perpendicular to velocity causes centripetal acceleration
or
acceleration perpendicular to velocity is centripetal (acceleration)
or
magnetic force does not change the speed of the sphere
or
magnetic force has constant magnitude
(b) mg = Eq
\(E = (1.6 \times 10^{–10} \times 9.81) / (0.27 \times 10^{–9})\)
= \(5.8 N C^{–1}\)
(c) centripetal force = magnetic force
or
\(Bqv = mv^2 / r\)
B = mv / qr
= \((1.6 \times 10^{–10} \times 0.78) / (0.27 \times 10^{–9} \times 3.4) = 0.14 T\)
Questions 3
Topic -15 Ideal gases
A fixed mass of an ideal gas is initially at a temperature of 17°C. The gas has a volume of 0.24 m³ and a pressure of \(1.2 × 10^5Pa\).
(a) (i) State what is meant by an ideal gas.
(ii) Calculate the amount n of gas.
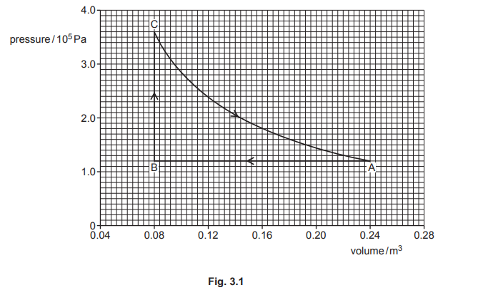
(b) The gas undergoes three successive changes, as shown in Fig. 3.1.
The initial state is represented by point A. The gas is cooled at constant pressure to point B by the removal of 48.0kJ of thermal energy. The gas is then heated at constant volume to point C. Finally, the gas expands at constant temperature back to its original pressure and volume at point A. During this expansion, the gas does 31.6kJ of work.
(i) Show that the magnitude of the work done during the change AB is 19.2kJ.
(ii) Complete Table 3.1 to show the work done on the gas, the thermal energy supplied to the gas and the increase in internal energy of the gas, for each of the changes AB, BC and CA.

▶️Answer/Explanation
Ans
(a)(i) a gas that obeys \(pV \propto T\)
where p = pressure, V = volume, T = thermodynamic temperature
(ii) T = (273 + 17) K
n = pV / RT
= \((1.2 × 10^5 \times 0.24) / [8.31 \times (273 + 17)]\)
= 12 mol
(b)(i) work done = \(p \Delta V\)
= \(1.2\times 10^5 \times (0.24 – 0.08) = 19200 J (= 19.2 kJ)\)
(ii) AB work done correct (19.2)
BC work done correct (0)
CA increase in internal energy correct (0) and CA thermal energy correct (31.6)
AB increase in internal energy calculated correctly from work done – 48.0
BC increase in internal energy correctly calculated so the final column adds up to zero and BC thermal energy same as increase in internal energy

Questions 4
Topic -17.1 Simple harmonic oscillations
A pendulum consists of a bob (small metal sphere) attached to the end of a piece of string. The other end of the string is attached to a fixed point. The bob oscillates with small oscillations about its equilibrium position, as shown in Fig. 4.1.

The length L of the pendulum, measured from the fixed point to the centre of the bob, is 1.24m. The acceleration a of the bob varies with its displacement x from the equilibrium position as shown in Fig. 4.2. 
(a) State how Fig. 4.2 shows that the motion of the pendulum is simple harmonic.
(b) (i) Use Fig. 4.2 to determine the angular frequency ω of the oscillations.
(ii) The angular frequency ω is related to the length L of the pendulum by
\(\omega =\sqrt{\frac{k}{L}}\)
where k is a constant.
Use your answer in (b)(i) to determine k. Give a unit with your answer.
(c) While the pendulum is oscillating, the length of the string is increased in such a way that the total energy of the oscillations remains constant. Suggest and explain the qualitative effect of this change on the amplitude of the oscillations.
▶️Answer/Explanation
Ans
(a) straight line through origin shows that a is proportional to x
negative gradient shows that a is in opposite direction to x
(b)(i)\(a_0 = \omega^2 x_0\)
or
\(a = –\omega^2 x\)
or
\(\omega^2 = – gradient\)
\(\omega =√(0.40 / 0.050)\)
= 2.8 rad s⁻¹
(ii) k = ω²L
= \(2.8^2\) × 1.24
= 9.7 m s⁻²
(c) (increasing L causes) ω to decrease
or
energy \((= ½ m \omega^2 x_0^2) = ½ mkx_0^2 / L\) (and L increases)
so amplitude increases
Questions 5
Topic -21.2 Rectification and smoothing
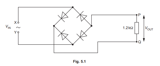
Fig. 5.1 shows four diodes and a load resistor of resistance 1.2kΩ, connected in a circuit that is used to produce rectification of an alternating voltage.

(a) (i) State what is meant by rectification.
(ii) State the type of rectification produced by the circuit in Fig. 5.1.
(b) A sinusoidal alternating voltage \(V_{IN}\) is applied across the input terminals X and Y. The variation with time t of \(V_{IN}\) is given by the equation
\(V_{IN}\) = 6.0sin25πt
where \(V_{IN}\) is in volts and t is in seconds.
(i) On Fig. 5.1, label the output terminals P and Q with the appropriate symbols to indicate the polarity of the output voltage \(V_{OUT}\).
(ii) The magnitude of the output voltage \(V_{OUT}\) varies with t as shown in Fig. 5.2.

On Fig. 5.2, label both of the axes with the correct scales. Use the space below for any working that you need.
(c) The output voltage in (b) is smoothed by adding a capacitor to the circuit in Fig. 5.1. The difference between the maximum and minimum values of the smoothed output voltage is 10% of the peak voltage.
(i) On Fig. 5.1, draw the circuit symbol for a capacitor showing the capacitor correctly connected into the circuit.
(ii) On Fig. 5.2, sketch the variation with t of the smoothed output voltage.
(iii) Calculate the capacitance C of the capacitor.
▶️Answer/Explanation
Ans
(a)(i) conversion (from a.c.) to d.c.
(ii) full-wave (rectification)
(b)(i) P labelled– and Q labelled +
(ii) \(V_{OUT}\) scale labelled 4 and 8 on the 2 cm tick marks
T = 2π / ω
= 2π / 25π
= 0.08 s
t scale labelled 0.02, 0.04, 0.06, 0.08, 0.10, 0.12 on the 2 cm tick marks
(c)(i) correct symbol used for capacitor and capacitor connected in parallel with the 1.2 kΩ resistor.
(ii) straight lines or curves, with negative decreasing gradients, drawn between adjacent peaks, from top of first peak to meet line going up to next peak
lines, from one peak to the line going up to the next peak, show a drop in p.d. of 1½ small squares B1
(iii) V = 0.90 × 6.0 (= 5.4 V)
or
discharge time (for each cycle) = 0.034 s
\(V = V_0 exp (– t / RC)\)
\(5.4 = 6.0 exp [– 0.034 / (1.2 \times 10^3 \times C)]\)
\(C = 2.7 \times 10^{-4} F\)
Questions 6
Topic -20.2 Force on a current-carrying conductor
(a) Define magnetic flux.
(b) A square coil of wire of side length 12cm consists of 8 insulated turns. The coil is stationary in a uniform magnetic field. The plane of the coil is perpendicular to the magnetic field, as
shown in Fig. 6.1.

The flux density B of the magnetic field varies with time t as shown in Fig. 6.2. 
(i) Determine the magnetic flux linkage inside the coil at time t = 0.60s. Give a unit with your answer.
(ii) State how Fig. 6.2 shows that the electromotive force (e.m.f.) E induced across the terminals between t = 0 and t = 0.60s is constant.
(iii) Calculate the magnitude of E.
(c) The procedure in (b) is repeated, but this time the terminals of the coil are connected together. State and explain the effect on the coil of connecting the terminals together during the change of magnetic flux density shown in Fig. 6.2.
▶️Answer/Explanation
Ans
(a) product of (magnetic) flux density and area
where area is perpendicular to the (magnetic) field
(b)(i) NΦ = BAN
= 400 × 10⁻³ × \(0.12^2\) × 8
= 0.046 Wb
(ii) (line is a) straight line
(iii) (induced) e.m.f. = rate of change of flux linkage
e.m.f. = NΦ / t
= 0.046 / 0.60
= 0.077 V
6(c) (induced e.m.f. causes) current flow (in the coil)
either
current (in magnetic field) causes forces to act on the coil
(opposite sides of) coil forced inwards
or
current causes dissipation of energy in the resistance of the coil
temperature of the coil rises
Questions 7
Topic -22.1 Energy and momentum of a photon
(a) State what is meant by a photon.
(b) Electromagnetic radiation of a varying frequency f and constant intensity I is used to illuminate a metal surface. At certain frequencies, electrons are emitted from the surface of the metal. The variation with f of the maximum kinetic energy \(E_{MAX}\) of the emitted electrons is shown in Fig. 7.1.
(i) State the name of this phenomenon.
(ii) Describe three conclusions that can be drawn from the graph in Fig. 7.1. The conclusions may be qualitative or quantitative.
(c) The experiment in (b) is repeated twice, each time making one change. State, with a reason, how the graph obtained would compare with Fig. 7.1 when:
(i) a different metal is used, but keeping the intensity I of the radiation the same
(ii) the same metal is used, but with electromagnetic radiation of intensity 2I.
▶️Answer/Explanation
Ans
(a) quantum of energy
of electromagnetic radiation
(b)(i) photoelectric effect
(ii) * there is a frequency below which no electrons are emitted
or
threshold frequency = \(5.4 \times 10^{14} Hz\)
* work function of the metal = \(3.6 \times 10^{–19} J\) (or 2.2 eV)
*\( E_{MAX}\) increases (linearly) with (increasing) frequency
* gradient of the line is the Planck constant
or
gradient of the line is \(6.7 \times 10^{–34} J s\)
Any three bullet points, 1 mark each
(c)(i) different threshold frequency
(line has) same gradient but different intercept
(ii) photons have same energy
line unchanged
Questions 8
Topic -23.1 Mass defect and nuclear binding energy
(a) (i) State what is meant by nuclear binding energy.
(ii) On Fig. 8.1, sketch a line to show the variation with nucleon number A of the binding energy per nucleon E of a nucleus.

(b) In one type of nuclear process, deuterium \((_1^2 H)\) undergoes the reaction ![]()
(i) State the name of this type of nuclear process.
(ii) Explain, with reference to your line in (a)(ii), why this reaction results in the release of energy.
(c) Table 8.1 shows the masses of the particles involved in the reaction in (b).

Calculate the energy released when 1.00mol of deuterium undergoes the reaction.
▶️Answer/Explanation
Ans
(a)(i) energy required to separate the nucleons (in the nucleus) to infinity
(ii) curve starting close to the origin and forming a single peak
peak shown to left of centre, with steep line on LHS of peak and shallow line on RHS of peak
(b)(i) fusion
(ii) both particles have low
A values
or
both particles are at left-hand end of graph
He-3 has higher binding energy (per nucleon) than H-2
(c)
\(\Delta m = [(2\times 2.014102) – (3.016029 + 1.008665)] u\)
\(( = 0.00351 u)\)
\(E = \Delta mc^2\)
=\( 0.00351 \times 1.66 \times 10^{-27} \times (3.00 \times 10^8)^2\)
\(( = 5.24 \times 10^{-13} J)\)
1.00 mol of deuterium forms 0.500 mol of helium-3
total energy = \(0.500 \times 6.02 \times 10^{23} \times 5.24 \times 10^{-13}\)
= \(1.58\times 10^{11} J\)
Questions 9
Topic -24.2 Production and use of X-rays
(a) (i) Explain how X-rays are produced for use in medical diagnosis.
(ii) State why X-ray images are taken of multiple sections of the body during computed tomography (CT) scanning.
(b) An X-ray image is taken of the structure shown in Fig. 9.1.

The linear attenuation coefficient of bone is 3.4 cm⁻¹.
The linear attenuation coefficient of soft tissue is 0.89 cm⁻¹.
The incident X-rays are parallel and have a uniform intensity \(I_0\) across the structure.
Determine, in terms of \(I_0\), the intensity of the detected X-rays from:
(i) point P
(ii) point Q
(c) Explain, with reference to your answers in (b), whether the X-ray image of the structure in Fig. 9.1 has good contrast.
▶️Answer/Explanation
Ans
(a)(i) electrons are accelerated (by an applied p.d.)
electrons hit target
X-rays produced when electrons decelerate
(ii) images of the multiple sections are combined to create a 3-D image
(b)(i) \(I = I_0 exp (–μx)\)
= \(I_0 exp (– 0.89 \times 5.6)\)
= \(0.0068 I_0\)
(ii) \(I= I_0 exp (– 2.4 \times 3.4) \times exp (– 0.89 \times 3.2)\)
= \(1.7 \times 10^{–5} I_0\)
(c) comparison of intensities or values in (b) leading to conclusion consistent with these values
Questions 10
Topic -25.2 Stellar radii
(a) State Wien’s displacement law.
(b) Fig. 10.1 shows the wavelength distributions of electromagnetic radiation emitted by two stars A and B.

The surface temperature of star A is known to be 5800K.
(i) Determine the surface temperature of star B.
(ii) Star B appears less bright than star A when viewed from the Earth. Use Fig. 10.1 to suggest, with a reason, how else the physical appearance of star B compares with that of star A.
(c) The lines in Fig. 10.1 have been corrected for redshift.
(i) State what is meant by redshift.
(ii) Explain how cosmologists are able to determine that light from a distant star has undergone redshift.
▶️Answer/Explanation
Ans
(a) wavelength of maximum intensity is inversely proportional to (thermodynamic) temperature
(b)(i) \(\lambda_{MAX}\) = 0.50 μm for A and 0.65 μm for B
\(T = 5800 × (0.50 / 0.65)\)
= 4500 K
(ii) (star B has) greater peak / average wavelength
(star B looks) redder
(c)(i) apparent wavelength is greater
or
wavelength is greater than known value
(due to) movement of star away (from observer)
(ii) by examining the (lines in the) spectrum (of light from the star)
and comparing with known spectrum
