Question 1:
1 (a) (i) Define gravitational field.
(ii) Define electric field.
(iii) State one similarity and one difference between the gravitational potential due to a point mass and the electric potential due to a point charge.
similarity: …………………………………………………………..
difference: ………………………………………………………….
(b) An isolated uniform conducting sphere has mass M and charge Q.
The gravitational field strength at the surface of the sphere is g.
The electric field strength at the surface of the sphere is E.
(i) Show that
$\frac{M}{Q}$ = α $\frac{g}{E}$
where α is a constant.
(ii) Show that the numerical value of α is $1.35 × 10^{20} kg^{2}C^{-2}$
(c) Assume that the Earth is a uniform conducting sphere of mass $5.98 × 10^{24} kg$.
The surface of the Earth carries a charge of $– 4.80 × 10^{5}C$ that is evenly distributed.
(i) Use the information in (b) to determine the electric field strength at the surface of the Earth. Give a unit with your answer.
electric field strength = ……………………………. unit ……………
(ii) State how the direction of the electric field at the surface of the Earth compares with the direction of the gravitational field.
▶️Answer/Explanation
Ans :
1(a)(i) force per unit mass
1(a)(ii) force per unit positive charge
1(a)(iii) similarity:
$\bullet$ inversely proportional to distance (from point)
$\bullet$ points of equal potential lie on concentric spheres
$\bullet$zero at infinite distance
Any point, 1 mark
difference:
$\bullet$ gravitational potential is (always) negative
$\bullet$ electric potential can be positive or negative
Any point, 1 mark
1(b)(i)
g = GM / r$^{2}$
E = Q / 4π $\varepsilon _{0}$0r$^{2}$
algebra showing the elimination of r leading to M / Q = (1 / 4πG$\varepsilon _{0}$) ( g / E)
1(b)(ii) α = 1 / (4π× 6.67× 10$^{-11}$×8.85 × 10$^{-12}$) = 1.35 × 10$^{20}$ (kg$^{2}$ C$^{-2}$)
or
α = (8.99 × 10$^{9}$) / (6.67 × 10$^{-11}$) = 1.35 × 10$^{20}$ (kg$^{2}$ C$^{-2}$)
1(c)(i) E = αgQ / M
= (1.35 × 10$^{20}$× 9.81 × 4.80 × 10$^{5}$) / (5.98 × 10$^{24}$)
= 106 N C$^{-1}$or 106 V m$^{-1}$
1(c)(ii) same (direction)
Question 2:
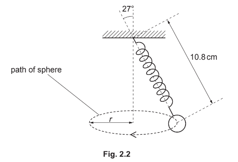
A steel sphere of mass 0.29kg is suspended in equilibrium from a vertical spring. The centre of the sphere is 8.5cm from the top of the spring, as shown in Fig. 2.1.

The sphere is now set in motion so that it is moving in a horizontal circle at constant speed, as shown in Fig. 2.2.

The distance from the centre of the sphere to the top of the spring is now 10.8cm.
(a) Explain, with reference to the forces acting on the sphere, why the length of the spring in Fig. 2.2 is greater than in Fig. 2.1.
(b) The angle between the linear axis of the spring and the vertical is 27°.
(i) Show that the radius r of the circle is 4.9cm.
(ii) Show that the tension in the spring is 3.2N.
(iii) The spring obeys Hooke’s law.
Calculate the spring constant, in Ncm$^{-1}$, of the spring.
spring constant = ……………………………………… Ncm$^{-1}$
(c) (i) Use the information in (b) to determine the centripetal acceleration of the sphere.
centripetal acceleration = ………………………………………… ms$^{-2}$
(ii) Calculate the period of the circular motion of the sphere.
period = ……………………………………………… s
▶️Answer/Explanation
Ans :
2(a) horizontal force on sphere causes centripetal acceleration
weight of sphere is (now) equal to vertical component of tension
or
horizontal and vertical components (of force) (now) combine to give greater tension (in spring)
2(b)(i) r = 10.8×sin 27° = 4.9 cm
2(b)(ii) T cos$\theta$ = mg
or T cos$\theta$ = W and W = mg
ΔT cos 27° = 0.29 ×9.81 leading to T = 3.2 N
2(b)(iii) ΔT = 3.2 – (0.29× 9.81)
k =ΔT / Δx
= [3.2 – (0.29× 9.81)] / [10.8 – 8.5]
= 0.15 N cm$^{-1}$
2(c)(i) centripetal acceleration = (T sin$\theta$ ) / m
= (3.2× sin 27°) / 0.29
= 5.0 m s$^{-2}$
2(c)(ii) a = rω$^{2}$ and ω = 2π / T
or
a = v$^{2}$/r and v = 2πr / T
T = 2π × √(0.049 / 5.0)
= 0.62 s
Question 3:
3 (a) State the reason why two objects that are at the same temperature are described as being in thermal equilibrium.
(b) Fig. 3.1 shows the variations with temperature of the densities of mercury and of water between 0°C and 100°C.

Temperature may be measured using the variation with temperature of the density of a liquid.
Suggest why, for measuring temperature over this temperature range:
(i) mercury is a suitable liquid
(ii) water is not a suitable liquid.
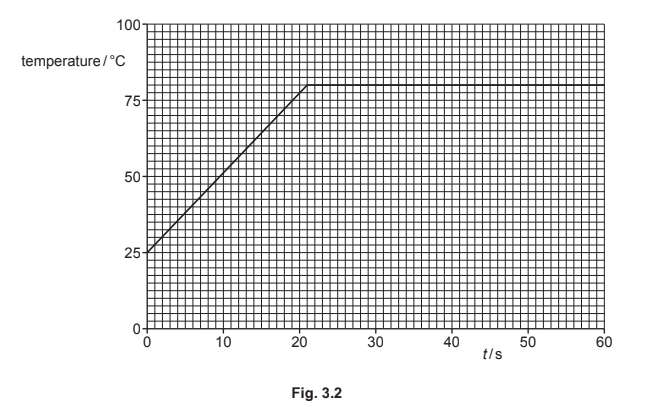
(c) A beaker contains a liquid of mass 120g. The liquid is supplied with thermal energy at a rate of 810W. The beaker has a mass of 42g and a specific heat capacity of $0.84Jg^{–1}K^{–1}$. The beaker and the liquid are in thermal equilibrium with each other at all times and are insulated from the surroundings.
Fig. 3.2 shows the variation with time t of the temperature of the liquid.
(i) State the boiling temperature, in °C, of the liquid.
temperature = ……………………………………………. °C
(ii) Determine the specific heat capacity, in $Jg^{–1}K^{–1}$, of the liquid.
specific heat capacity = ……………………………………. $Jg^{–1}K^{–1}$
(d) The experiment in (c) is repeated using water instead of the liquid in (c). The mass of liquid used, the power supplied, and the initial temperature are all unchanged.
The specific heat capacity of water is approximately twice that of the liquid in (c).
The boiling temperature of water is 100°C.
On Fig. 3.2, sketch the variation with time t of the temperature of the water between t = 0 and t = 60s. Numerical calculations are not required.
▶️Answer/Explanation
Ans :
3(a) no net thermal energy is transferred (between them)
3(b)(i) variation (of density with temperature) is linear
or
each temperature has a unique value of density
3(b)(ii)
$\bullet$ variation (of density with temperature) is not linear
$\bullet$ region where the density does not vary with temperature
$\bullet$ different temperatures have the same density
Any two points, 1 mark each
3(c)(i) boiling point = 80 °C
3(c)(ii) Q = Pt and t = 21 s
(thermal energy supplied = 810 21 = 17000 J)
c =Q / mΔ$\theta$
thermal energy absorbed by beaker = 42× 0.84× (80 – 25)( = 1940 J)
s.h.c. of liquid = [(810× 21) – (42× 0.84×(80 – 25))] / [120× (80 – 25)]
= 2.3 J g$^{-1}$K$^{-1}$
3(d) sketch: straight diagonal line from 25 °C to 100 °C and then horizontal at 100 °C
straight diagonal line starting at 25 °C with gradient approximately half that of the original line
Question 4:
4 (a) State two of the basic assumptions of the kinetic theory of gases.
1 ………………………………………………………………………………………………………………………………
2 ………………………………………………………………………………………………………………………………
(b) An ideal gas has amount of substance n.
The gas is initially in state X, with pressure 2p and volume V.
The gas is cooled at constant volume to state Y, with pressure p.
The gas is then heated at constant pressure to state Z, with volume 2V.
Finally, the gas returns at constant temperature to state X.
(i) Determine an expression for the temperature T of the gas in state X, in terms of n, p and V.
Identify any other symbols that you use.
(ii) On Fig. 4.1, sketch the variation with volume of pressure for the gas as the gas undergoes the three changes. The state X is labelled. Label states Y and Z.

(iii) During the change of state from Y to Z, the increase in internal energy of the gas is U.
During the change of state from Z to X, the work done on the gas is W.
Complete Table 4.1 to indicate, for each of the three changes of state, the increase in internal energy of the gas, the thermal energy transferred to the gas and the work done on the gas, in terms of p, V, U and W.

▶️Answer/Explanation
Ans :
4(a)
$\bullet$ particles are in (continuous) random motion
$\bullet$ particles have negligible volume (compared with the gas)
$\bullet$ negligible forces between particles (except during collisions)
$\bullet$ (all) collisions (perfectly) elastic
$\bullet$ time of collision negligible (in comparison with time between collisions)
Any two points, 1 mark each
4(b)(i) (general starting equation) pV = nRT
T = (2pV / nR) where R is the (molar) gas constant
4(b)(ii) sketch: straight vertical line XY from (V, 2 p) to ( V, p)
straight horizontal line YZ from (V, p) to (2V, p)
curve with gradient increasing from Z to X from (2V, p) to (V, 2p)
4(b)(iii) XY work done on gas correct (= 0)
ZX increase in internal energy correct (= 0)
YZ work done on gas correct (=–pV)
XY increase in internal energy such that the increase in internal energy column adds up to zero
all three thermal energies transferred such that ΔU =q +w in each row
(completely correct answer:

)
Question 5:
Part of an electric circuit is shown in Fig. 5.1.
The circuit is used to produce half-wave rectification of an alternating voltage of potential difference (p.d.) V$_{IN}$
The output p.d. across the 14kΩ resistor is V$_{OUT}$.
(a) (i) A component is missing from the circuit of Fig. 5.1.
Complete the circuit diagram in Fig. 5.1 by adding the circuit symbol for the missing component, correctly connected.
(ii) A capacitor C is shown in the circuit of Fig. 5.1.

The circuit is used to produce half-wave rectification of an alternating voltage of potential difference (p.d.) V$_{IN}$.
The output p.d. across the 14kΩ resistor is V$_{OUT}$.
(a) (i) A component is missing from the circuit of Fig. 5.1.
Complete the circuit diagram in Fig. 5.1 by adding the circuit symbol for the missing component, correctly connected.
(ii) A capacitor C is shown in the circuit of Fig. 5.1.
State the effect on V$_{OUT}$. of including the capacitor in the circuit.
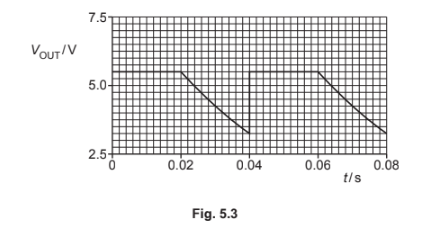
(b) Fig. 5.2 shows the variation with time t of V$_{IN}$.

Fig. 5.3 shows the variation with t of V$_{OUT}$.

(i) Determine the frequency of V$_{IN}$.
frequency = ……………………………………………. Hz
(ii) Show that the time constant τ for the discharge of the capacitor through the resistor is 0.038s.
(iii) Calculate the capacitance of C. Give a unit with your answer.
capacitance = ……………………………. unit ……………
(c) The circuit of Fig. 5.1 is modified so that it produces full-wave rectification of an input voltage.
Suggest, with a reason, how V$_{OUT}$ now varies with time when V$_{IN}$ is as shown in Fig. 5.2.
▶️Answer/Explanation
Ans :
5(a)(i) correct circuit symbol for a diode shown correctly connected in series with the wires leading into and out of the dotted box
5(a)(ii) smoothing / V$_{OUT}$ is smoothed
5(b)(i) frequency = 1 / 0.04 = 25 Hz
5(b)(ii) V = V$_{0}$ exp (– t / RC) and $\tau$ = RC
or
V =V$_{0}$ exp (– t / $\tau$)
3.25 = 5.50 exp (– 0.020 /$\tau$) leading to $\tau$ = 0.038s
5(b)(iii)$\tau$ = RC
capacitance = 0.038 / 14000
= 2.7× 10$^{-6}$F
5(c) V$_{IN}$ has constant magnitude in both positive and negative directions
(so) V$_{OUT}$ is (now) constant /V$_{OUT}$ does not vary with time
Question 6:
6 (a) State what is meant by a magnetic field.
(b) A long, straight wire P carries a current into the page, as shown in Fig. 6.1.

On Fig. 6.1, draw four field lines to represent the magnetic field around wire P due to the current in the wire.
(c) A second long, straight wire Q, carrying a current of 5.0A out of the page, is placed parallel to wire P, as shown in Fig. 6.2.

The flux density of the magnetic field at wire Q due to the current in wire P is 2.6mT.
(i) Calculate the magnetic force per unit length exerted on wire Q by wire P.
force per unit length = ……………………………………….. $Nm^{–1}$
(ii) State the direction of the force exerted on wire Q by wire P.
…………………………………………………………………………………………………………………….
(iii) The flux density of the magnetic field at wire P due to the current in wire Q is 1.5mT.
Determine the magnitude of the current in wire P. Explain your reasoning.
current = ……………………………………………… A
▶️Answer/Explanation
Ans :
6(a) a region where a force acts on M1
a current-carrying conductor
or
a moving charge
or
a magnetic material / magnetic pole
6(b) concentric circles around the wire
spacing between circles increases with distance from wire
arrows showing direction of field is clockwise
6(c)(i) F = BIL
force per unit length =BI
= 2.6×10$^{-3}$× 5.0
= 0.013N m$^{-1}$
6(c)(ii) to the right
6(c)(iii) force (per unit length) has the same magnitude due to Newton’s 3rd law
0.013 = 1.5 × 10$^{-3}$ × I
current = 8.7 A
Question 7:
7 (a) State what is meant by the de Broglie wavelength.
(b) Fig. 7.1 shows a glass tube in which electrons are accelerated through a high p.d. to form a beam that is incident on a thin graphite crystal.

After passing through the graphite crystal, the electrons reach the fluorescent screen. The screen glows where the electrons strike it.
Fig. 7.2 shows the fluorescent screen viewed end-on, from the right-hand side of Fig. 7.1.

(i) State the name of the phenomenon demonstrated by the pattern shown in Fig. 7.2.
(ii) Explain what can be concluded from the pattern in Fig. 7.2 about the nature of electrons.
(c) The electrons in (b) are now accelerated through a greater potential difference between the cathode and the anode.
(i) On Fig. 7.3, sketch the pattern that is now seen on the fluorescent screen in Fig. 7.1.

(ii) Explain, with reference to de Broglie wavelength, the change in the pattern on the fluorescent screen.
▶️Answer/Explanation
Ans :
7(a) wavelength associated with a moving particle
7(b)(i) (electron) diffraction
7(b)(ii) beam spreads out indicating diffraction
or
light and dark regions indicate an interference pattern
electron beam is behaving as a wave
7(c)(i) central blob and concentric rings
rings closer together (than previously)
7(c)(ii) (greater p.d. so) electrons to have greater momentum
greater momentum so decrease in (de Broglie) wavelength B1
lower (de Broglie) wavelength (for same grating spacing in crystal) causes:
smaller diffraction angle
or
smaller angle of intensity maxima (for each order)
or
decrease in fringe spacing in diffraction pattern
Question 8:
8 (a) Table 8.1 shows some data relating to the properties of air, gel and body tissue. The data are given to three significant figures.
(i) Show that the specific acoustic impedance of gel is 1.68 × 10$^{6}$ kgm$^{-2}$ s$^{-1}$.

(ii) Complete Table 8.1 by calculating the missing values to three significant figures. Use the space below for any working that you need.
(b) Use the information in (a) to calculate the intensity reflection coefficient for:
(i) an air–tissue boundary
intensity reflection coefficient = …………………………………………………
(ii) a gel–tissue boundary.
intensity reflection coefficient = …………………………………………………
(c) Use your answers in (b) to explain why gel is applied to the skin during ultrasound scanning.
▶️Answer/Explanation
Ans :
8(a)(i) specific acoustic impedance = 1200× 1400 = 1.68× 10$^{6}$ kgm$^{-2}$s$^{-1}$
8(a)(ii) density of air shown in table as 1.29
speed of sound in tissue shown in table as 1540
8(b)(i) intensity reflection coefficient = (Z1 –Z2)$^{2}$ / (Z1 +Z2)$^{2}$= (1680000– 440)$^{2}$ / (1680000 + 440)$^{2}$ = 0.999
8(b)(ii) intensity reflection coefficient = (Z1 –Z2)$^{2}$ / (Z1 +Z2)$^{2}$= (1680000 – 1680000)$^{2}$ / (1680000 + 1680000)$^{2}$= 0
8(c) without gel, (almost) all of the (incident) ultrasound is reflected (from skin)
with gel, (almost) all of the (incident) ultrasound is transmitted (into the body)
Question 9:
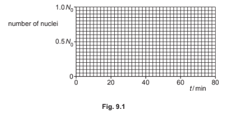
9 Carbon-11 is radioactive and decays by β+ emission to form boron-11. Carbon-11 has a half-life of 20 minutes. Boron-11 is stable.
(a) Define half-life.
(b) A sample contains N0 nuclei of carbon-11 and no other nuclei at time t = 0.
On Fig. 9.1, sketch the variation with t of the number of nuclei of boron-11 in the sample.

(c) (i) Explain, with reference to the random nature of radioactive decay, why the activity of the carbon-11 sample in (b) decreases with time.
(ii) State, with reasons, whether a radiation detector placed near to the sample of carbon-11 indicates a measured count rate from the sample that is less than, the same as or greater than the activity of the sample.
▶️Answer/Explanation
Ans :
9(a) time for activity (of sample) to halve
9(b) sketch: line with positive gradient starting at (0,0) and extending to t = 80 min
exponential curve, extending from t = 0 to t = 80 min, with gradient of steadily decreasing magnitude
line passing through (0,0), (20, 0.5N0) and (40, 0.75N0)
9(c)(i) every (undecayed) nucleus has the same probability of decay
fewer (undecayed) nuclei remaining (with time), so fewer will decay (in a given time interval)
9(c)(ii)
$\bullet$ sample emits in all directions but detector only captures emissions in one direction
$\bullet$ some emissions are absorbed before reaching detector
$\bullet$ some emissions are scattered within the sample
$\bullet$ simultaneous arrival of multiple particles only registers once
$\bullet$ some particles may reach detector but not cause ionisation
Any two points, 1 mark each
measured count rate is less than the activity
Question 10:
10 (a) State Hubble’s law. Identify any symbols that you use.
(b) A star of luminosity 3.8 × 10$^{31}$W is a distance of 1.8 × 10$^{24}$m from the Earth.
Calculate the radiant flux intensity at the Earth of the radiation emitted by the star.
radiant flux intensity = ………………………………………. Wm$^{-2}$
(c) The star in (b) is in a distant galaxy. A spectral line in the light from this galaxy is known to have a wavelength of 486nm. This spectral line in the light from the galaxy observed on the Earth has a wavelength of 492nm.
(i) Explain why the wavelength observed on the Earth is different from the wavelength that the galaxy is known to have emitted.
(ii) Determine a value for the Hubble constant H0.
H0 = …………………………………………… s$^{-1}$
▶️Answer/Explanation
Ans :
10(a) speed is (directly) proportional to distance
speed is speed of recession of galaxy from an observer, and distance is the distance of the galaxy from the observer
10(b)F =L / (4πd$^{2}$)
= (3.8× 10$^{31}$) / [4π× (1.8× 10$^{24}$)$^{2}$]
= 9.3× 10$^{-19}$Wm$^{-2}$
10(c)(i) galaxy is moving away (from the Earth)
wavelength (of light from the galaxy) increased by the Doppler effect / due to redshift
10(c)(ii)Δλ/ λ=v / c
v = [(492 – 486)× 3.00× 10$^{8}$] / 486
(v = 3.7×10$^{6}$ ms$^{-1}$)
H$_{0}$ =v / d
= (3.7× 10 $^{6}$) / (1.8× 10 $^{24}$)
= 2.1×10$^{-18}$ s$^{-1}$
