Questions 1
Topic – 5.2
(a) Define gravitational potential at a point.
(b) A satellite X, of mass M, orbits a planet at a constant distance 4R from the centre of the planet, as shown in Fig. 1.1.

A second satellite Y, of mass 2M, orbits the planet with orbital radius R. The gravitational potential at X due to the planet is –Φ. The planet is a uniform sphere.
(i) Explain why the gravitational potential at X is negative.
(ii) State an expression, in terms of Φ, for the gravitational potential at Y due to the planet.
(iii) Complete Table 1.1 by giving expressions, in terms of some or all of M, R and Φ, for the quantities indicated for each of the satellites X and Y.

▶️Answer/Explanation
Ans
(a) work done per unit mass
work done moving mass from infinity (to the point)
(b)(i) potential is zero at infinity
work is done by (two) masses in moving them closer together
or
work is done on (two) masses in moving them apart
(ii) magnitude of potential shown as 4Φ
potential negative and shown as a multiple of –Φ [potential = –4Φ if fully correct]
(iii) field strength at X:Φ / 4R
field strength at Y: 4Φ / R
potential energy at X: –MΦ
potential energy at Y: –8MΦ
Questions 2
Topic – 14.2
(a) (i) State the magnitude and unit of absolute zero on the thermodynamic temperature scale.
(ii) Explain why temperature measured using a laboratory liquid-in-glass thermometer does not give a measurement of thermodynamic temperature.
(b) Fig. 2.1 shows a simplified diagram of a type of thermometer called a platinum resistance thermometer.

The glass tube is immersed in the environment for which the temperature is to be determined. The resistance between the terminals X and Y is measured. Fig. 2.2 shows the variation of the resistivity ρ of platinum with thermodynamic temperature T.

(i) Explain how Fig. 2.2 shows that platinum is a suitable metal for use in a resistance thermometer.
(ii) Suggest a reason why a platinum resistance thermometer is not suitable for measuring a rapidly changing temperature.
(iii) Suggest a type of thermometer that is suitable for measuring a rapidly changing temperature.
(c) A negative temperature coefficient thermistor may be used as a type of resistance thermometer. State one way in which the variation with temperature of the resistance of a thermistor differs from that of a platinum wire.
▶️Answer/Explanation
Ans
(a)(i) 0 K
(ii) (measurement) depends on properties of the liquid
(b)(i) * resistivity varies with temperature
* variation with temperature is linear
* unique value of resistivity for each (different value of) temperature
Any two points, 1 mark each
(ii) thermometer has high heat capacity/specific heat capacity
or
energy transfer needed for thermometer to reach correct temperature
or
thermometer takes time to reach the correct temperature
(iii) thermocouple
(c) (variation is) inverse
or
(variation is) non-linear
Questions 3
Topic – 15.1
(a) (i) State what is meant by an ideal gas.
(ii) Use one of the basic assumptions of the kinetic theory to explain what can be deduced about the potential energy associated with the random motion of molecules in an ideal gas.
(b) A sample of \(0.26m^3\) of an ideal gas is at pressure \(2.0 × 10^5Pa\) and temperature 290K. Determine:
(i) the number N of molecules of the gas
(ii) the average translational kinetic energy \(E_K\) of one molecule of the gas
(iii) the internal energy of the gas. Explain your reasoning.
(c) The volume V of the gas in (b) is now varied, keeping its pressure constant. On Fig. 3.1, sketch the variation with V of the internal energy U of the gas.

▶️Answer/Explanation
Ans
(a)(i) gas for which \(pV \propto T\)
where T is thermodynamic temperature
(ii) no intermolecular forces
(so) potential energy is zero
(b)(i) pV = NkT
N = \((2.0\times 10^5 \times0.26) / (1.38\times 10^{–23}\times 290)\)
= \(1.3\times 10^{25}\)
(ii)\(E_K = (3/2) kT\)
\(E_K = (3/2)\times 1.38\times 10^{–23}\times 290\)
= \(6.0\times 10^{–21} J\)
(iii) internal energy = total KE + PE of molecules
or
PE = 0 so internal energy = total KE of molecules
internal energy = \(1.3\times 10^{25}\times 6.0\times 10^{–21}\)
= \(7.8\times 10^4 J\)
(c) straight line with positive gradient
line passing through the origin
Questions 4
Topic – 17.3
(a) State what is meant by resonance.
(b) A small ball is held in place using a stretched string. One end of the string is fixed to a wall and the other end is attached to a vibration generator, as shown in Fig. 4.1.

Initially, the vibration generator is switched off. A student displaces the ball vertically and then releases it. Fig. 4.2 shows the variation of the displacement of the ball with time after it is released. 
(i) State the name of the phenomenon illustrated by the decrease in the amplitude of the oscillations in Fig. 4.2.
(ii) Explain the decrease with time of the amplitude of the oscillations of the ball.
(iii) Determine the frequency of the oscillations of the ball.
(c) The vibration generator in (b) is switched on and its frequency f of vibration is gradually increased from 0 to 10Hz. On Fig. 4.3, sketch the variation with f of the amplitude of the oscillations of the ball.

▶️Answer/Explanation
Ans
(a) oscillation (of object) at maximum amplitude
when driving frequency = natural frequency (of system)
(b)(i) light damping
(ii) oscillations (of ball) lose energy
(due to) resistive forces (acting on ball)
(iii) frequency = 1 / 0.25
= 4.0 Hz
(c) curve showing a maximum amplitude at a single non-zero frequency
single maximum amplitude shown at 4.0 Hz
Questions 5
Topic – 18.1
(a) Define electric field.
(b) Fig. 5.1 shows two parallel conducting plates that are in a vacuum. The plates are separated by a distance of 6.7cm and have a potential difference (p.d.) of 430V between them.

(i) On Fig. 5.1, draw four field lines to represent the electric field between the plates.
(ii) Determine the strength E of the electric field between the plates.
(iii) An electron travels at a speed of \(2.6 × 10^7ms^{–1}\) towards the region between the plates, as shown in Fig. 5.1. On Fig. 5.1, draw the path of the electron as it moves between and beyond the plates.
(c) A uniform magnetic field is now applied in the region of the electric field in Fig. 5.1, so that the electron in (b)(iii) travels undeviated through the region.
(i) Determine the direction of the uniform magnetic field.
(ii) Explain, with reference to the forces exerted by the two fields on the electron, why the path of the electron is undeviated.
(iii) Determine the flux density B of the uniform magnetic field. Give a unit with your answer.
▶️Answer/Explanation
Ans
(a) force per unit charge
force on positive charge
(b)(i) four straight vertical parallel lines, approximately evenly spaced
arrows downwards
(ii)E =V / d
E = 430 / 0.067
= \(6.4\times 10^3 N C^{–1}\)
(iii) smooth curve within plates and straight lines outside plates
direction of deflection shown as upwards
(c)(i) into the page
(ii) forces are in opposite directions
(undeviated) when (magnitudes of) forces are equal
(iii) Eq = Bqv
B =E / v = \((6.4\times 10^3) / (2.6\times 10^7)\)
= \(2.5\times 10^{–4}\)T
Questions 6
Topic – 19.1
Fig. 6.1 shows a capacitor of capacitance C connected in series with a resistor of resistance R.

Initially the switch is open and there is a p.d. of 12V across the capacitor. At time t = 0, the switch is closed so that there is a current I in the resistor. Fig. 6.2 shows the variation of I with t.
(a) Explain the shape of the line in Fig. 6.2.
(b) Use Fig. 6.2 to determine:
(i) resistance R
(ii) the time constant τ of the circuit in Fig. 6.1.
(c) Use your answers in (b) to determine capacitance C
▶️Answer/Explanation
Ans
(a) * p.d. across capacitor proportional to charge on capacitor
* p.d. across capacitor = p.d. across resistor
* current in resistor proportional to p.d. across resistor
* current in resistor = rate of decrease of charge on capacitor
Any two points, 1 mark each
charge proportional to current so rate of decrease of current decreases as current decreases (therefore exponential shape)
(b)(i)R =V / I
= \(12 / (0.13\times 10^{–3})\)
= \(9.2\times 10^4 \Omega\)
(ii) correct read-off of at least one pair of values for I and t
attempted read-off of t when I = 0.048 mA
or
substitution of a correct pair of values of I and t into I = 0.13 exp (– t / τ)
τ = 4.3 s
(c)τ = RC
C =τ / R = 4.3 /\( (9.2\times 10^4)\)
= \(4.7\times 10^{–5} F\)
Questions 7
Topic – 5.1
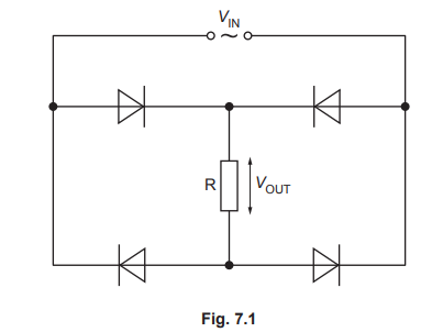
A circuit contains a power supply that provides a sinusoidal alternating input voltage \(V_{IN}\). There is an output voltage \(V_{OUT}\) across a load resistor R, as shown in Fig. 7.1.

(a) State the purpose of the circuit in Fig. 7.1.
(b) Fig. 7.2 shows the variation of \(V_{OUT}\) with time t. 
(i) The load resistor R has a resistance of 370Ω. Show that the maximum power dissipated in R is 0.22W.
(ii) On Fig. 7.3, sketch the variation with t of the power P dissipated in R. 
(iii) Calculate the mean power dissipated in R.
(c) The circuit of Fig. 7.1 is disconnected, and R is connected directly across the power supply. Explain, without calculation, how the mean power now dissipated in R compares with the answer in (b)(iii).
▶️Answer/Explanation
Ans
(a) rectification (of the input voltage)
full-wave
(b)(i)\(P =V^2 / R\)
or
maximum V = 9.0 V
\(P_{MAX}\) = 9.02 / 370 = 0.22W
(ii) sinusoidal shape with minima sitting on the time axis
correct frequency and phase, with minima at 0, 0.02, 0.04, 0.06 and 0.08 s and maxima at 0.01, 0.03, 0.05 and 0.07 s
all maxima shown at 0.22 W
(iii) mean power = peak power / 2 = 0.22 / 2
= 0.11W
(c) power–time graph is identical
(so) mean powers are equal
Questions 8
Topic – 22.1
(a) State what is meant by a photon.
(b) Fig. 8.1 shows a tube in which X-rays are produced at a metal target.
Particles are accelerated from the filament to the target by a constant high voltage applied across the terminals X and Y.
(i) State the name of the particles
(ii) On Fig. 8.1, use + and – signs to label terminals X and Y to indicate the polarity of the high voltage.
(c) For an accelerating voltage of 32kV in Fig. 8.1, determine:
(i) the maximum energy, in MeV, of an X-ray photon produced at the target
(ii) the maximum momentum of an X-ray photon produced at the target
(iii) the minimum wavelength of X-rays produced at the target.
(d) Explain why X-rays can be used to produce images of internal body structures that have good contrast.
▶️Answer/Explanation
Ans
(a) packet / quantum of energy
of electromagnetic radiation
(b)(i) electron(s)
(ii) X labelled– and Y labelled +
(c)(i) 0.032 MeV
(ii) momentum =E / c
momentum = (0.032 × 1.60×10^{–13}) / (3.00×10^8)\)
= \(1.7× 10^{–23} N s\)
(iii)E = hf and \( \lambda \) = c / f
\( \lambda \)= hc / E
= \((6.63× 10^{–34} × 3.00× 10^8) / (0.032×1.60 × 10^{–13})\)
( \lambda \)= \(3.9\times 10^{–11} m\)
(d) discussion of bone and soft tissue
discussion of different attenuation (coefficients)
or
discussion differences in penetration / transmission / absorption
transmitted intensities (by bone and tissue) are very different (leading to good contrast images)
Questions 9
Topic – 23.2
(a) Define half-life of a radioactive isotope.
(b) Radioactive isotope X decays to isotope Y. A sample contains only nuclei of X at time t = 0. Fig. 9.1 shows the variation with t of the numbers of nuclei of X and of Y as the sample decays.

(i) State the name of the quantity represented by the magnitude of the gradient of line X in Fig. 9.1.
(ii) State three conclusions about X or Y that may be drawn from Fig. 9.1. The conclusions may be qualitative or quantitative. Use the space below for any working that you need.
(c) The mass of radioactive isotope X in the sample in (b) is \(7.3 × 10^{–4}\) kg at time t = 0. Determine the nucleon number of isotope X.
▶️Answer/Explanation
Ans
(a) time for activity (of sample) to halve
(b)(i) activity (of X at time t)
(ii) Y is a stable isotope
total number of nuclei is constant
half-life (of X) is 13.6 s
decay constant (of X) is 0.051\(s^{–1}\)
amount (of X) at t = 0 is 0.066 mol
activity (of X) at t = 0 is \(2.0\times 10^{21}\) Bq
Any three points, 1 mark each
(c) mass of 1 nucleus = \((7.3× 10^{–4}) / (4.0× 10^{22})\)
nucleon number = mass of nucleus /\( (1.66× 10^{–27})\)
= \((7.3× 10^{–4}) / (4.0 × 10^{22}× 1.66 × 10^{–27})\)
= 11 and given as an integer
Questions 10
Topic – 25.1
(a) (i) State what is meant by the luminosity of a star
(ii) Explain how a standard candle in a distant galaxy can be used to determine the distance of the galaxy from an observer.
(b) The Sun has a radius of \(6.96 × 10^8\)m and a surface temperature of 5780K. Light from the Sun is observed to have a peak intensity at a wavelength of 501nm.
(i) Calculate the luminosity of the Sun. Give a unit with your answer.
(ii) Another star emits radiation that has a peak intensity at a wavelength of 624nm. Determine the surface temperature of this star.
▶️Answer/Explanation
Ans
(a)(i) total power
power radiated (by the star)
(ii) standard candle has known luminosity
radiant flux intensity measured by observer
(distance calculated using)
\(F =L / 4\pi d^2\)
(b)(i) luminosity = \(4\pi \sigma r^2T^4\)
= \(4\times 5.67\times 10^{–8}\times (6.96\times 10^8)^2 × 5780^4\)
= \(3.85 × 10^{26} W\)
(ii)
\(\lambda _{MAX}T\) = constant
temperature = \((5780\times 501) / 624\)
= 4640K
