Question 1


When the cart is at \( +L \) and momentarily at rest, a block is dropped onto the cart, as shown in Figure \( 3 \). The block sticks to the cart, and the block-cart-spring system continues to oscillate between \( -L \) and \( +L \). The masses of the cart and the block are \( m_0 \) and \( 3m_0 \), respectively.

Most-appropriate topic codes (AP Physics 1):
• Topic \( 3.4 \) — Conservation of Energy (Part \( \mathrm{(a)} \), Part \( \mathrm{(c)} \))
• Topic \( 7.2 \) — Frequency and Period of SHM (Part \( \mathrm{(b)} \))
• Topic \( 7.3 \) — Representing and Analyzing SHM (Part \( \mathrm{(a)} \), Part \( \mathrm{(c)} \))
• Topic \( 7.4 \) — Energy of Simple Harmonic Oscillators (Part \( \mathrm{(a)} \), Part \( \mathrm{(c)} \))
▶️ Answer/Explanation
(a)
The \( x \)-intercept occurs when \( K = 0 \), so all the mechanical energy is potential energy. The \( y \)-intercept occurs when \( U = 0 \), so all the mechanical energy is kinetic energy.
Because friction is negligible, the total mechanical energy of the cart-spring system is conserved. Therefore, the maximum kinetic energy and the maximum potential energy must be equal to the same total energy.
From the graph, both intercepts are \( 4\ \mathrm{J} \), which is the total mechanical energy of the system.
(b)
For a mass-spring oscillator,
\( f = \dfrac{1}{2\pi}\sqrt{\dfrac{k}{m}} \)
Before the block is dropped, the oscillating mass is \( m_1 = m_0 \).
After the block is dropped and sticks, the oscillating mass is
\( m_2 = m_0 + 3m_0 = 4m_0 \)
Therefore,
\( \dfrac{f_2}{f_1} = \dfrac{\dfrac{1}{2\pi}\sqrt{\dfrac{k}{4m_0}}} {\dfrac{1}{2\pi}\sqrt{\dfrac{k}{m_0}}} \)
\( \dfrac{f_2}{f_1} = \sqrt{\dfrac{1}{4}} = \dfrac{1}{2} \)
Thus, \( \boxed{\dfrac{f_2}{f_1} = \dfrac{1}{2}} \)
The larger mass makes the system oscillate more slowly, so the frequency decreases.
(c)(i)
The two graphs are the same because dropping the block onto the cart at \( x = +L \) does not change the maximum spring compression or extension.
At \( x = +L \), the system is momentarily at rest, so \( K = 0 \) and the energy is entirely spring potential energy. The block is dropped vertically, so it does no work in the horizontal direction on the oscillation, and the maximum spring potential energy remains the same.
Since the total mechanical energy for the oscillation is unchanged, the \( K \)-versus-\( U \) graph stays the same.
(c)(ii)
For the system containing only the cart and spring, the horizontal intercept stays the same at \( U = 4\ \mathrm{J} \), because the spring potential energy is unchanged.
However, the vertical intercept is smaller because the kinetic energy of the cart-spring system does not include the kinetic energy of the block. After the block sticks to the cart, cart and block move together with the same speed, so the cart alone has only part of the total kinetic energy.
Since the cart mass is \( m_0 \) and the total moving mass is \( 4m_0 \), the cart has \( \dfrac{1}{4} \) of the total kinetic energy at any instant. Thus the maximum kinetic energy for the cart-spring-only system is
\( K_{\max} = \dfrac{1}{4}(4\ \mathrm{J}) = 1\ \mathrm{J} \)
So the correct solid line is a straight line from \( (U,K) = (0,1) \) to \( (U,K) = (4,0) \).

Question 2

Students conduct an experiment to determine the acceleration \( a \) of a cart. The cart is released from rest at the top of a ramp at time \( t=0 \) and moves down the ramp. The \( x \)-axis is defined to be parallel to the ramp with its origin at the top, as shown in the figure. The students collect the data shown in the following table.
| Position \( x \) \( (\mathrm{m}) \) | Time \( t \) \( (\mathrm{s}) \) | ||
|---|---|---|---|
| \( 0.06 \) | \( 0.39 \) | ||
| \( 0.14 \) | \( 0.59 \) | ||
| \( 0.24 \) | \( 0.77 \) | ||
| \( 0.37 \) | \( 0.96 \) | ||
| \( 0.55 \) | \( 1.20 \) |



Most-appropriate topic codes (AP Physics 1):
• Topic \( 2.5 \) — Newton’s Second Law (Part \( \mathrm{(b)} \), Part \( \mathrm{(c)} \))
• Topic \( 2.6 \) — Gravitational Force (Part \( \mathrm{(b)} \), Part \( \mathrm{(c)} \))
• Topic \( 3.A \) / Experimental Design (Part \( \mathrm{(a)} \), Part \( \mathrm{(b)} \), Part \( \mathrm{(c)} \))
▶️ Answer/Explanation
(a)(i)
Since the cart is released from rest and has constant acceleration down the ramp,
\( x = \dfrac{1}{2}at^2 \)
Therefore, a graph of position versus time squared is linear.
Vertical axis: \( x\ (\mathrm{m}) \)
Horizontal axis: \( t^2\ (\mathrm{s^2}) \)
| Position \( x \) \( (\mathrm{m}) \) | Time \( t \) \( (\mathrm{s}) \) | Time squared \( t^2 \) \( (\mathrm{s^2}) \) |
|---|---|---|
| \( 0.06 \) | \( 0.39 \) | \( 0.15 \) |
| \( 0.14 \) | \( 0.59 \) | \( 0.35 \) |
| \( 0.24 \) | \( 0.77 \) | \( 0.59 \) |
| \( 0.37 \) | \( 0.96 \) | \( 0.92 \) |
| \( 0.55 \) | \( 1.20 \) | \( 1.44 \) |
(a)(ii)
Plot the points \( (0.15,0.06) \), \( (0.35,0.14) \), \( (0.59,0.24) \), \( (0.92,0.37) \), and \( (1.44,0.55) \) on a graph of \( x \) versus \( t^2 \), and draw a straight best-fit line.
A correct graph should look approximately like this:

(a)(iii)
The slope of the best-fit line is approximately
\( \text{slope} = \dfrac{\Delta x}{\Delta t^2} \approx 0.375\ \mathrm{\dfrac{m}{s^2}} \)
Using \( x = \dfrac{1}{2}at^2 \), the slope of the graph is \( \dfrac{1}{2}a \).
Therefore,
\( a = 2(\text{slope}) = 2(0.375) \)
\( \boxed{a \approx 0.75\ \mathrm{m/s^2}} \)
Any nearby value from a reasonable best-fit line earns credit.
(b)(i)
The students must measure either:
\( \bullet \) the angle \( \theta \) that the ramp makes with the horizontal, or
\( \bullet \) the height \( h \) and length \( L \) of the ramp
so that they can relate the component of gravity along the ramp to the measured acceleration.
(b)(ii)
Along the ramp,
\( mg_{\mathrm{exp}}\sin\theta = ma \)
so
\( \boxed{g_{\mathrm{exp}} = \dfrac{a}{\sin\theta}} \)
Equivalently, if \( \sin\theta = \dfrac{h}{L} \), then
\( \boxed{g_{\mathrm{exp}} = \dfrac{L}{h}a} \)
(c)(i)
One valid physical reason is that the wheels of the cart may have nonnegligible rotational inertia.
Other acceptable ideas include a bad angle measurement, a bumpy ramp, a nonlevel setup, or another physical measurement issue.
(c)(ii)
If the wheels have rotational inertia, some of the gravitational effect goes into making the wheels rotate instead of producing translational acceleration of the cart’s center of mass.
That means the measured acceleration \( a \) would be smaller than the ideal value \( g\sin\theta \). Since \( g_{\mathrm{exp}} \) is calculated from \( a \), the smaller measured acceleration leads to a smaller calculated value of \( g_{\mathrm{exp}} \), making it lower than \( 9.8\ \mathrm{m/s^2} \).
(d)
While the cart moves up the ramp, the acceleration is still constant and directed down the ramp \( (+x) \).
Therefore:
\( \bullet \) The graph of \( x \) versus \( t \) is a concave-up curve with an initially negative slope. The cart begins at a positive position near the bottom, moves upward toward the origin at the top, and momentarily comes to rest, so the slope increases from negative toward zero.
\( \bullet \) The graph of \( v \) versus \( t \) is a straight line with positive slope and a negative vertical intercept. The cart starts with negative velocity \( (\text{moving up the ramp, opposite } +x) \) and then the velocity increases linearly to \( 0 \).
A correct sketch is like this:

Question 3

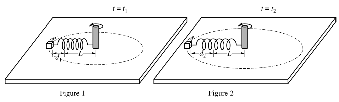
A small block of mass \( m_0 \) is attached to the end of a spring of spring constant \( k_0 \) that is attached to a rod on a horizontal table. The rod is attached to a motor so that the rod can rotate at various speeds about its axis. When the rod is not rotating, the block is at rest and the spring is at its unstretched length \( L \), as shown. All frictional forces are negligible.

Note: Draw the relative lengths of the vectors to reflect the relative magnitudes of the forces exerted by the spring at both times.

Most-appropriate topic codes (AP Physics 1):
• Topic \( 2.9 \) — Circular Motion (Part \( \mathrm{(a)} \), Part \( \mathrm{(b)(ii)} \), Part \( \mathrm{(c)} \))
• Topic \( 2.5 \) — Newton’s Second Law (Part \( \mathrm{(b)} \), Part \( \mathrm{(c)} \))
• Topic \( 1.3 \) — Representing Motion (Part \( \mathrm{(a)(i)} \))
▶️ Answer/Explanation
(a)(i)
In both diagrams, the spring force on the block points horizontally toward the rod, which is to the right in the given figures.
So both arrows should point to the right. The arrow at \( t=t_2 \) should be longer than the arrow at \( t=t_1 \).

(a)(ii)
Because \( d_2 > d_1 \), the spring is stretched more at time \( t=t_2 \). A greater stretch means a greater spring force.
Therefore, the force arrow at \( t=t_2 \) must be longer than the force arrow at \( t=t_1 \). The two arrows point in the same direction, but the one for \( t=t_2 \) has larger magnitude.
(a)(iii)
\( \boxed{v_1 < v_2} \)
The spring force is the net inward force that causes the circular motion. Since the spring is stretched more at \( t=t_2 \), the spring force is greater at \( t=t_2 \). A greater inward net force corresponds to a greater centripetal acceleration, so the block must be moving faster at \( t=t_2 \).
Therefore, the tangential speed is larger when the spring is stretched farther.
(b)(i)
The only horizontal inward force on the block is the spring force, so the net force equals the spring force.
Using Hooke’s law,
\( F_{\text{net}} = F_s = k_0 d \)
Therefore, \( \boxed{F_{\text{net}} = k_0 d} \)
Note that \( L \) is the unstretched length, but the force depends on the amount of stretch, which is \( d \).
(b)(ii)
Start with Newton’s second law for circular motion:
\( \sum F = m a_c \)
The net inward force is the spring force:
\( k_0 d = \dfrac{m_0 v^2}{r} \)
The radius of the circular path is the total spring length,
\( r = L + d \)
so
\( k_0 d = \dfrac{m_0 v^2}{L+d} \)
Solving for \( v \),
\( v^2 = \dfrac{k_0 d (L+d)}{m_0} \)
\( \boxed{v = \sqrt{\dfrac{k_0 d (L+d)}{m_0}}} \)
This expression shows that the speed increases as the stretch \( d \) increases, because both \( d \) and \( L+d \) increase.
(c)
\( \boxed{\text{Yes}} \)
The equation from part \( \mathrm{(b)(ii)} \), \( v = \sqrt{\dfrac{k_0 d (L+d)}{m_0}} \), shows that the tangential speed increases when \( d \) increases.
Since \( d_2 > d_1 \), the equation predicts \( v_2 > v_1 \), which matches the reasoning in part \( \mathrm{(a)} \) that the block moves faster when the spring is stretched more.
Question 4

A block of unknown mass is attached to a long, lightweight string that is wrapped several turns around a pulley mounted on a horizontal axis through its center, as shown. The pulley is a uniform solid disk of mass \( M \) and radius \( R \). The rotational inertia of the pulley is described by the equation \( I=\dfrac{1}{2}MR^2 \). The pulley can rotate about its center with negligible friction. The string does not slip on the pulley as the block falls.

Scenarios \( 1 \) and \( 2 \) show two different pulleys. In Scenario \( 1 \), the pulley is the same solid disk referenced in part \( \mathrm{(a)} \). In Scenario \( 2 \), the pulley is a hoop that has the same mass \( M \) and radius \( R \) as the disk. Each pulley has a lightweight string wrapped around it several turns and is mounted on a horizontal axle, as shown. Each pulley is free to rotate about its center with negligible friction.
Most-appropriate topic codes (AP Physics 1):
• Topic \( 6.1 \) — Rotational Kinetic Energy (Part \( \mathrm{(b)} \))
• Topic \( 6.3 \) — Angular Momentum and Angular Impulse (Part \( \mathrm{(b)} \))
• Topic \( 5.4 \) — Torque and the Second Condition of Equilibrium (Part \( \mathrm{(a)} \), Part \( \mathrm{(b)} \))
▶️ Answer/Explanation
(a)
Use Newton’s second law for rotation:
\( \tau = I\alpha \)
The torque on the disk is produced by the string tension:
\( \tau = F_T R \)
For the solid disk,
\( I=\dfrac{1}{2}MR^2 \)
Substitute into the rotational equation:
\( F_T R = \left(\dfrac{1}{2}MR^2\right)\alpha_D \)
Solve for \( \alpha_D \):
\( \alpha_D = \dfrac{F_T R}{\frac{1}{2}MR^2} \)
\( \boxed{\alpha_D = \dfrac{2F_T}{MR}} \)
The result makes sense dimensionally: \( \dfrac{F}{MR} \) has units of \( \mathrm{rad/s^2} \).
(b)
The torque on each pulley is the same because the same force \( F_A \) is applied at the same radius \( R \). Therefore each pulley experiences the same torque, \( \tau = F_A R \). Since the force is applied for the same time interval \( \Delta t \), the angular impulse is the same for both pulleys:
\( \Delta L = \tau \Delta t \)
so the change in angular momentum is the same for the disk and the hoop.
However, the rotational inertias are different. The solid disk has \( I_{\text{disk}}=\dfrac{1}{2}MR^2 \), while the hoop has \( I_{\text{hoop}}=MR^2 \). Thus the hoop has the larger rotational inertia.
For a given torque, \( \alpha = \dfrac{\tau}{I} \), so the disk has the larger angular acceleration. Starting from rest and acted on for the same time interval, the disk reaches a greater angular speed than the hoop.
Rotational kinetic energy is
\( K_{\text{rot}} = \dfrac{1}{2}I\omega^2 \)
Even though the hoop has larger \( I \), the disk’s angular speed is large enough that its rotational kinetic energy increase is greater. Another equivalent way to say this is that, for the same change in angular momentum, energy depends on how that angular momentum is distributed relative to the rotational inertia. The smaller rotational inertia of the disk allows a larger \( \omega \), which gives a greater increase in \( K_{\text{rot}} \).
Question 5

A rod with a sphere attached to the end is connected to a horizontal mounted axle and carefully balanced so that it rests in a position vertically upward from the axle. The center of mass of the rod-sphere system is indicated with a \( \otimes \), as shown in Figure \( 1 \). The rod-sphere system rotates clockwise with negligible friction about the axle due to the gravitational force.
Note: these frames are not equally spaced apart in time.


Most-appropriate topic codes (AP Physics 1):
• Topic \( 6.1 \) — Rotational Kinetic Energy (Part \( \mathrm{(a)(ii)} \), Part \( \mathrm{(b)(i)} \), Part \( \mathrm{(b)(ii)} \))
• Topic \( 6.2 \) — Torque and Work (Part \( \mathrm{(a)(i)} \), Part \( \mathrm{(b)} \))
• Topic \( 3.4 \) — Conservation of Energy (Part \( \mathrm{(b)(i)} \), Part \( \mathrm{(b)(ii)} \))
▶️ Answer/Explanation
(a)(i)
The angular acceleration is greatest in Frame \( \mathrm{C} \).
Angular acceleration depends on the net torque:
\( \alpha \propto \tau \)
The torque due to gravity is greatest when the lever arm is greatest, or equivalently when the line from the axle to the center of mass is perpendicular to the gravitational force. That happens when the rod-sphere system is horizontal, which is shown in Frame \( \mathrm{C} \).
So Frame \( \mathrm{C} \) has the greatest angular acceleration.
(a)(ii)
The rotational kinetic energy is greatest in Frame \( \mathrm{E} \).
As the system rotates downward, gravity does positive work the entire time, so the rod-sphere system speeds up continuously. By the time it reaches the bottom position in Frame \( \mathrm{E} \), the system has its greatest angular speed.
Since rotational kinetic energy is
\( K_{\mathrm{rot}} = \dfrac{1}{2}I\omega^2 \),
the frame with the greatest angular speed also has the greatest rotational kinetic energy. Therefore, the rotational kinetic energy is greatest in Frame \( \mathrm{E} \).
(b)(i)
Start with conservation of energy for the rod-sphere-Earth system:
\( E_i = E_f \)
or
\( U_{g,i} + K_i = U_{g,f} + K_f \)
The system starts from rest in Frame \( \mathrm{A} \), so
\( K_i = 0 \)
Therefore,
\( \Delta K = K_f – K_i = U_{g,i} – U_{g,f} \)
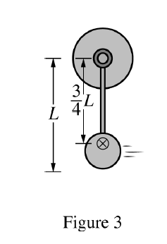
The center of mass is initially \( \dfrac{3}{4}L \) above the axle and finally \( \dfrac{3}{4}L \) below the axle, so the total vertical drop is
\( \Delta y = \dfrac{3}{4}L + \dfrac{3}{4}L = \dfrac{3}{2}L \)
Thus the decrease in gravitational potential energy, and therefore the increase in kinetic energy, is
\( \Delta K = Mg\Delta y \)
\( \Delta K = Mg\left(\dfrac{3}{2}L\right) \)
\( \boxed{\Delta K = \dfrac{3}{2}MgL} \)
This is also the final kinetic energy in Frame \( \mathrm{E} \), since the initial kinetic energy is zero.
(b)(ii)
Even if Earth is not included in the system, the rod and sphere still gain kinetic energy because gravity is an external force on the rod-sphere system.
That external gravitational force does positive work on the rod-sphere system as it rotates downward. External work can increase the kinetic energy of a system, so the rod and sphere gain kinetic energy even when Earth is not part of the chosen system.
