iGCSE Physics (0625) 4.5.6 The transformer -Exam Style Questions Paper 2 - New Syllabus
Question


▶️ Answer/Explanation
Detailed solution:
To deliver maximum power, we must minimize power loss ($P_{loss} = I^{2}R$) in the cables. Using a higher potential difference ($V = 400 \text{ kV}$) reduces the current ($I$) since $P = IV$. Lower current significantly reduces $I^{2}R$ losses. Additionally, resistance ($R$) is inversely proportional to cross-sectional area; thus, cables with a large diameter have lower resistance. Combining the highest voltage ($400 \text{ kV}$) and the lowest resistance (large diameter) ensures the least energy is wasted as heat, delivering the most power to the substation.
Question
The primary voltage supplied to a transformer is $3.0\text{ V}$. The secondary voltage is $5.0\text{ V}$ and the secondary current is $2.0\text{ A}$. The transformer is $100\%$ efficient.
What is the primary current in the transformer?
▶️ Answer/Explanation
Detailed solution:
For a $100\%$ efficient transformer, the input power equals the output power, expressed by the equation $I_p V_p = I_s V_s$.
Given: primary voltage $V_p = 3.0\text{ V}$, secondary voltage $V_s = 5.0\text{ V}$, and secondary current $I_s = 2.0\text{ A}$.
Rearranging the formula to solve for the primary current: $I_p = \frac{I_s V_s}{V_p}$.
Substituting the values: $I_p = \frac{2.0 \times 5.0}{3.0} = \frac{10}{3.0}$.
This calculation yields $I_p \approx 3.33\text{ A}$, which corresponds to option C.
Thus, the primary current required to maintain the power balance is $3.3\text{ A}$.
▶️ Answer/Explanation
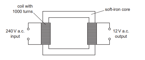
Detailed solution:
A transformer works on the principle of electromagnetic induction, where an alternating current in the primary coil creates a changing magnetic field.
The iron core is a soft magnetic material that provides a high-permeability path for this magnetic flux.
Its primary purpose is to efficiently “link” or guide the magnetic field lines from the primary coil to the secondary coil.
This ensures that the maximum possible magnetic flux passes through the secondary coil to induce an electromotive force ($e.m.f.$).
It does not conduct electricity between the coils, as the primary and secondary circuits are electrically insulated from each other.
Therefore, option D correctly identifies the core’s role in magnetic linkage.
